申請日2016.05.29
公開(公告)日2016.07.20
IPC分類號C02F7/00
摘要
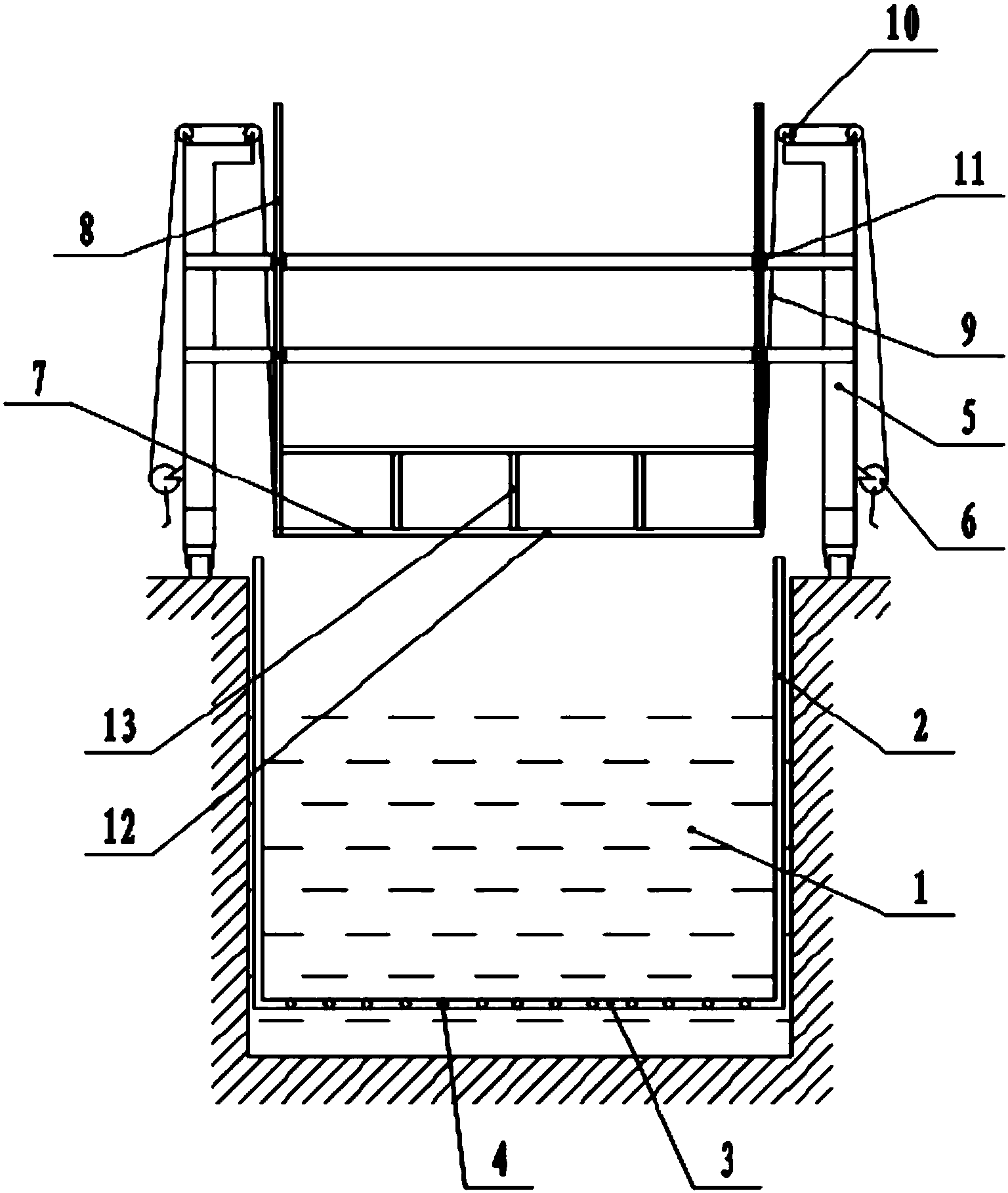
本發明公開了一種便于檢修的污水處理系統,在矩形污水處理池中平行設置多組微孔曝氣器,每組微孔曝氣器包括兩根豎直不銹鋼輸氣管和一根水平不銹鋼輸氣管,水平不銹鋼輸氣管的兩端分別與兩根豎直不銹鋼輸氣管的底端相連通,而且水平不銹鋼輸氣管與矩形污水處理池的橫邊平行,在水平不銹鋼輸氣管上設置多個與水平不銹鋼輸氣管連通的微孔曝氣器;在矩形污水處理池的岸上設置微孔曝氣器的檢修行車,該檢修行車橫跨在矩形污水處理池的兩個縱邊岸上并能夠進行往復的行走動作,在檢修行車上設置有用來把一組微孔曝氣器從矩形污水處理池中提升出水面的手搖葫蘆。
摘要附圖
權利要求書
1.一種便于檢修的污水處理系統,其特征在于:在矩形污水處理池中平行設置多組微孔曝氣器,每組微孔曝氣器包括兩根豎直不銹鋼輸氣管和一根水平不銹鋼輸氣管,水平不銹鋼輸氣管的兩端分別與兩根豎直不銹鋼輸氣管的底端相連通,而且水平不銹鋼輸氣管與矩形污水處理池的橫邊平行,在水平不銹鋼輸氣管上設置多個與水平不銹鋼輸氣管連通的微孔曝氣器;在矩形污水處理池的岸上設置微孔曝氣器的檢修行車,該檢修行車橫跨在矩形污水處理池的兩個縱邊岸上并能夠進行往復的行走動作,在檢修行車上設置有用來把一組微孔曝氣器從矩形污水處理池中提升出水面的手搖葫蘆;在所述的檢修行車上還設置有檢修平臺,檢修平臺安裝在檢修行車的車架上,并能夠相對于檢修行車的車架做升降動作,所述的檢修平臺包括底板和設置在底板上四周圍的四個保護架,四個保護架分別與底板之間鉸接,當四個保護架都豎直放置時,能夠把它們連成一體使保持豎直的狀態,當解除四個保護架的一體狀態時,四個保護架能夠分別相對于底板轉動與底板折疊在一起;在所述的矩形污水處理池的兩個縱邊池壁上固定設置有與每組微孔曝氣器的兩根豎直不銹鋼輸氣管相配合的導向裝置,該組微孔曝氣器能夠通過豎直不銹鋼輸氣管該沿導向裝置被所述的手搖葫蘆提升出水面。
2.根據權利要求1所述的便于檢修的污水處理系統,其特征在于:在所述的檢修平臺的左右兩側分別固定設置有豎直導柱,在檢修行車的車架的左右兩側分別固定設置有與所述的豎直導柱相配合的導向裝置,檢修平臺通過豎直導柱沿導向裝置做相對于車架的升降動作,該升降動作由以可拆卸方式連接在檢修平臺左右兩側的兩條鋼絲繩來牽引,兩條鋼絲繩通過引導輪來引導,并分別由設置在車架兩側下部的兩個手搖葫蘆來驅動;兩條鋼絲繩也可以連接在一組微孔曝氣器的兩根豎直不銹鋼輸氣管上用來把該組微孔曝氣器從矩形污水處理池中提升出水面。
3.根據權利要求2所述的便于檢修的污水處理系統,其特征在于:所述的導向裝置為固定設置在車架上左右兩側的上下四個導輪組,每個導輪組包括前后兩個導輪,導輪的形狀與豎直導柱的形狀相應,豎直導柱裝在每個導輪組的兩個導輪之間,豎直導柱的升降動作由導輪組來引導方向并與導輪組之間形成滾動摩擦。
說明書
一種便于檢修的污水處理系統
技術領域
本發明涉及一種污水處理系統,尤其是一種便于檢修的污水處理系統。
背景技術
微孔曝氣系統包括不銹鋼輸氣管和微孔曝氣器,微孔曝氣器安裝在污水處理池的底部,用來為污水補充氧氣,不銹鋼輸氣管用來為微孔曝氣器供風。設置在污水中的微孔曝氣器經常需要檢修,需要把其提升到污水處理池水面之外,這就需要一種構造巧妙,方便實用的便于檢修的污水處理系統。
發明內容
本發明解決的技術問題是:提供一種便于檢修的污水處理系統,其構造便于對微孔曝氣器進行提升和檢修。
本發明所采用的技術方案為:
一種便于檢修的污水處理系統,在矩形污水處理池中平行設置多組微孔曝氣器,每組微孔曝氣器包括兩根豎直不銹鋼輸氣管和一根水平不銹鋼輸氣管,水平不銹鋼輸氣管的兩端分別與兩根豎直不銹鋼輸氣管的底端相連通,而且水平不銹鋼輸氣管與矩形污水處理池的橫邊平行,在水平不銹鋼輸氣管上設置多個與水平不銹鋼輸氣管連通的微孔曝氣器;在矩形污水處理池的岸上設置微孔曝氣器的檢修行車,該檢修行車橫跨在矩形污水處理池的兩個縱邊岸上并能夠進行往復的行走動作,在檢修行車上設置有用來把一組微孔曝氣器從矩形污水處理池中提升出水面的手搖葫蘆;在所述的檢修行車上還設置有檢修平臺,檢修平臺安裝在檢修行車的車架上,并能夠相對于檢修行車的車架做升降動作,所述的檢修平臺包括底板和設置在底板上四周圍的四個保護架,四個保護架分別與底板之間鉸接,當四個保護架都豎直放置時,能夠把它們連成一體使保持豎直的狀態,當解除四個保護架的一體狀態時,四個保護架能夠分別相對于底板轉動與底板折疊在一起;在所述的矩形污水處理池的兩個縱邊池壁上固定設置有與每組微孔曝氣器的兩根豎直不銹鋼輸氣管相配合的導向裝置,該組微孔曝氣器能夠通過豎直不銹鋼輸氣管該沿導向裝置被所述的手搖葫蘆提升出水面。
在所述的檢修平臺的左右兩側分別固定設置有豎直導柱,在檢修行車的車架的左右兩側分別固定設置有與所述的豎直導柱相配合的導向裝置,檢修平臺通過豎直導柱沿導向裝置做相對于車架的升降動作,該升降動作由以可拆卸方式連接在檢修平臺左右兩側的兩條鋼絲繩來牽引,兩條鋼絲繩通過引導輪來引導,并分別由設置在車架兩側下部的兩個手搖葫蘆來驅動;兩條鋼絲繩也可以連接在一組微孔曝氣器的兩根豎直不銹鋼輸氣管上用來把該組微孔曝氣器從矩形污水處理池中提升出水面。
所述的導向裝置為固定設置在車架上左右兩側的上下四個導輪組,每個導輪組包括前后兩個導輪,導輪的形狀與豎直導柱的形狀相應,豎直導柱裝在每個導輪組的兩個導輪之間,豎直導柱的升降動作由導輪組來引導方向并與導輪組之間形成滾動摩擦。
本發明所取得的有益效果在于:
把污水處理池設置成矩形,在其中分組設置微孔曝氣器,在矩形污水處理池的岸上設置檢修行車,便于把微孔曝氣器分組提升和檢修。污水處理池上裝有各種設施,帶有檢修平臺的行車難以橫跨在污水處理池的兩岸暢行無阻,所以需要能夠對檢修平臺進行提升,使檢修平臺和行車的橫梁一樣高出污水處理池上各種設施的高度。本發明在工作時可以把檢修平臺降落到便于操作的高度,行走時可以把檢修平臺提升。導柱設置在檢修平臺上,導柱隨檢修平臺一起升降,不會影響行車的運行;手搖葫蘆既可以用來提升微孔曝氣器,也可以用來提升檢修平臺,結構簡單實用;把手搖葫蘆設置在車架下部,便于檢修人員在岸上對微孔曝氣器或檢修平臺進行升降作業。折疊式檢修平臺便于把其提升得盡量高,有助于降低檢修行車的總體高度,使檢修行車的運行更加穩定。


