申請日2016.05.13
公開(公告)日2016.08.17
IPC分類號E03C1/122
摘要
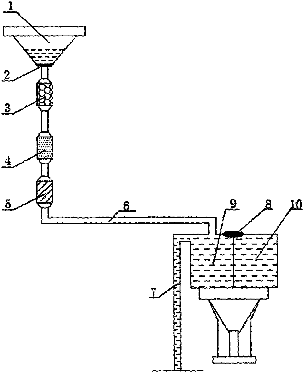
本發明公開了一種家庭廢水回用裝置,它包括用水工具、過濾裝置、光電化學處理裝置、組合式馬桶水箱,組合式馬桶水箱包括廢水箱和自來水箱,用水工具中的家用廢水經過濾裝置、光電化學處理裝置后通過PVC連接管進入廢水箱,廢水箱設有溢流裝置。裝置安全可靠,利用特制的過濾裝置將水中的固體雜質過濾,避免堵塞輸水管道,同時進行生化處理,達到中水標準。
權利要求書
1.一種家庭廢水回用裝置,其特征在于:它包括用水工具、過濾裝置、光電化學處理裝置、組合式馬桶水箱,組合式馬桶水箱包括廢水箱和自來水箱,用水工具中的家用廢水經過濾裝置、光電化學處理裝置后通過PVC連接管進入廢水箱,廢水箱設有溢流裝置。
2.根據權利要求1所述的家庭廢水回用裝置,其特征在于:所述過濾裝置包括格柵過濾裝置和活性炭過濾裝置。
3.根據權利要求2所述的家庭廢水回用裝置,其特征在于:所述格柵過濾裝置中裝有顆粒物質層,顆粒物質層按照水流方向依次為無煙煤、硅砂和鈦鐵礦石榴石,格柵采用45°傾斜設置。
4.根據權利要求1所述的家庭廢水回用裝置,其特征在于:所述光電化學處理裝置包括PP殺菌濾芯和紫外線消毒裝置。
5.根據權利要求1所述的家庭廢水回用裝置,其特征在于:所述組合式馬桶水箱設有雙開關,廢水箱內設有水位控制機構。
說明書
家庭廢水回用裝置
技術領域
本發明屬于廢水回用裝置,具體涉及一種家庭廢水回用裝置。
背景技術
中國是一個缺水的國家,尤其青島的淡水資源更是匱乏,引黃濟青工程就是為了緩解青島的用水瓶頸。所以在日常生活中我就對水多了幾分關注。當觀察到家庭用水中很大一部分水可以回用,比如洗手、洗菜、洗碗甚至洗澡水,而沖洗馬桶的水用的都是干凈的自來水,有節水意識的人經常把洗手水存在水桶里,用來沖洗馬桶。如能夠把這些干凈的家庭水回用來通過一個裝置進入馬桶的水箱,不但可以節約用水,沖洗效果也好。
發明內容
為了克服現有技術領域存在的上述缺陷,本發明的目的在于,提供一種家庭廢水回用裝置,結構簡單,安裝、使用便捷。
本發明提供的家庭廢水回用裝置,它包括用水工具、過濾裝置、光電化學處理裝置、組合式馬桶水箱,組合式馬桶水箱包括廢水箱和自來水箱,用水工具中的家用廢水經過濾裝置、光電化學處理裝置后通過PVC連接管進入廢水箱,廢水箱設有溢流裝置。所述過濾裝置包括格柵過濾裝置和活性炭過濾裝置,所述格柵過濾裝置中裝有顆粒物質層,顆粒物質層按照水流方向依次為無煙煤、硅砂和鈦鐵礦石榴石,格柵采用45°傾斜設置。所述光電化學處理裝置包括PP殺菌濾芯和紫外線消毒裝置。所述組合式馬桶水箱設有雙開關,廢水箱內設有水位控制機構。
本發明提供的家庭廢水回用裝置,其有益效果在于,裝置安全可靠,利用特制的過濾裝置將水中的固體雜質過濾,避免堵塞輸水管道,同時進行生化處理,達到中水標準;系統具有開放性,廢水箱中設置溢流裝置,當水位超過預警位置時,可自動打開下水道或者小區、政府配置的中水輸送管路;投資少,見效快;簡單便捷,易安裝,實用性強。



