申請日2016.05.27
公開(公告)日2016.11.23
IPC分類號C02F9/14
摘要
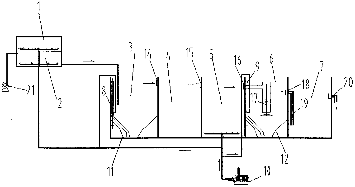
本實用新型公開了一種節能型養殖廢水處理系統,屬于養殖廢水處理領域。該系統分為混凝反應段、初沉池、缺氧池、好氧池、二沉池、消毒池六個部分。系統僅采用一臺水泵+一臺風機動力組合,在混凝反應段采用空氣攪拌,完成配藥、混凝反應;初沉池以及二沉池污泥采用氣提將沉淀物抽出的方式達到節能目的,并使出水達標排放。本實用新型具有結構緊湊,投資少、占地面積小、低運營成本低等優點,主要應用于小規模養殖廠廢水處理,解決傳統養殖廢水處理方式投資大,占用場地大,運營成本高等問題。
摘要附圖
權利要求書
1.一種節能型養殖廢水處理系統,該系統分為混凝反應段、初沉池、缺氧池,好氧池、二沉池、消毒池六個部分;系統采用一臺廢水進水泵+一臺風機動力組合,在混凝反應段采用空氣攪拌,混合藥液、廢水;初沉池以及二沉池污泥采用氣提方式將沉淀物抽出。
2.根據權利要求1所述的一種節能型養殖廢水處理系統,其特征在于所述混凝反應段底部安裝有穿孔管道,與風機連通,通過空氣攪拌,使得藥劑和廢水充分反應。
3.根據權利要求1所述的一種節能型養殖廢水處理系統,其特征在于所述初沉池底部設置有泥斗,上部有廢水進水管與混凝反應段連通,內部側面從上到下豎直安裝有污泥氣提裝置。
4.根據權利要求1所述的一種節能型養殖廢水處理系統,其特征在于所述二沉池采用豎流式工藝,底部有泥斗,中心管為碳鋼材質,池體上部內周布設集水槽,集水槽有出口與消毒池連通,內部側面從上到下豎直安裝有污泥氣提裝置。
說明書
節能型養殖廢水處理系統
技術領域
本實用新型涉及養殖廢水處理領域,特別是涉及一種節能型養殖廢水處理系統。
背景技術
21世紀以來,隨著我國社會經濟和產銷經營體制改革的不斷推進,養殖行業得到了迅猛的發展,養殖行業正逐漸從散養向產業化、規模化邁進;養殖業的迅速發展隨之帶來的是養殖廢水污染問題,養殖業廢水屬于富含大量病原體的高濃度有機廢水,養殖糞尿和養殖場的沖洗水的淋溶性很強,糞尿中的氮、磷及水溶性有機物等淋溶量很大,如不妥善處理,就會通過地表徑流和滲濾進入地下水層污染地下水。按照相關法律法規及環保要求,養殖廢水必須經處理達標后方可排放。
我國的養殖廢水處理起步晚、發展快,傳統的養殖污水處理主要采取生化處理工藝。由于養殖廢水處理不同于工業污水處理,而且5000頭以下的小規模養豬場所占比例很大;經濟效益不高限制了廢水處理投資金額不可能太大,而且運行費用稍高就很難承受;而目前的養殖場廢水處理,均存在投資大、占用場地大、運營成本高等問題,對一些小規模的養殖場不是很適合。
實用新型內容
針對目前國內小規模養殖場所存在的問題,本實用新型的目的是提供一種用于小規模養殖場廢水處理的一種節能型養殖廢水處理系統,系統采用混凝加藥結合好氧工藝;通過技術改良和優化,解決傳統養殖廢水處理方式投資大,占用場地大,運營成本高等問題,達到節能的目的。
為實現上述目的,本實用新型采取以下技術方案:
一種節能型養殖廢水處理系統,該系統分為混凝反應段、初沉池、缺氧池,好氧池、二沉池、消毒池六個部分;系統僅采用一臺水泵+一臺風機的動力組合,改變原來工藝中,混凝配藥需要攪拌機和加藥泵、混凝反應需要攪拌機、污泥提升需要提升泵的問題;在配藥、混凝反應段采用穿孔管空氣攪拌,混合藥液、廢水;初沉池以及二沉池污泥采用氣提方式將污泥抽出。
所述混凝反應段為上下兩層箱體結構,上箱體為配藥裝置,安裝有穿孔曝氣管道,與風機連通,通過曝氣不斷翻滾,混合藥劑和水,底部安裝有出藥管與下箱體連通加藥,自流式,裝有轉子流量計計量;下箱體為混凝反應區,安裝有廢水進水管道連通廢水提升泵,管口位于箱體上部,底部安裝有穿孔曝氣管道,與風機連通,通過空氣攪拌,將藥液和污水進行充分混凝反應;在下箱體內廢水為上進下出方式,有出水管位于箱體底部,出水管與初沉池連通。
所述初沉池底部設置有泥斗,上部有廢水進水管與混凝反應區連通,內部側面從上到下豎直安裝有污泥氣提裝置。
所述缺氧池進水口位于上部與初沉池連通,上部進水口對面開孔與好氧池連通。
所述好氧池上部開有口與二沉池中心管連通,底布設曝氣管道和微孔曝氣器,由風機供氣。
所述二沉池采用豎流式工藝,底部有泥斗,中心管為碳鋼材質,池體上部內周布設集水槽,集水槽有出口與消毒池連通,內部側面從上到下豎直安裝有污泥氣提裝置。
所述氣提機上部有出口管通向系統外部,將污泥抽出,進入原有沼氣池,下部有空氣管與風機連通,由風機供氣提供動力。
所述消毒池水流方向為下進上出,接出水管道。
本實用新型的有益效果:
本實用新型通過這種集成化模式,將養殖廢水處理的技術流程組合在一起,與傳統養殖污水處理系統相比,僅有一臺水泵和風機,無其他電氣設備,具有結構緊湊,投資少、占地面積小、非常節能等優點。
所述裝置通過充分利用風機,解決了傳統方法采用電動攪拌器配藥、混凝反應等耗電量大,安裝復雜、故障多等問題。
所述裝置通過充分利用風機,在初沉池以及二沉池污泥采用氣提方式將污泥抽出,解決了傳統方法采用污泥泵耗電量大,安裝復雜、容易損壞等問題。


