申請日2016.05.11
公開(公告)日2016.07.06
IPC分類號B01D1/14; C02F1/10; C02F101/20
摘要
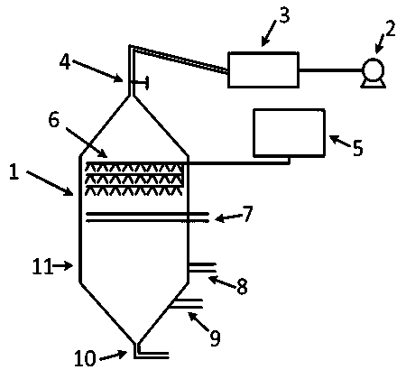
本發明涉及蒸發處理重金屬廢水技術領域,尤其涉及一種節能環保型負壓含重金屬廢水蒸發器。包括金屬腔體1、風機2、收水器3、安全閥4、高位水箱5、霧化噴頭6、熱風管7、溢流管8、泄水管9、排污管10、人孔11。含重金屬廢水處理由水泵泵入高位水箱,利用與霧化噴頭的液位差產生的壓力使廢水霧化進入蒸發器腔體,霧化廢液在腔體內的溫度和壓力下,部分水分子變為水蒸汽,水蒸汽通過腔體上端的出口進入管道,并在管道中冷凝為液態水,沿斜管流入收水器進行收集。收集的蒸餾水可回用于鍋爐用水等工序。剩余部分高濃度重金屬廢水聚集在腔體的底部,達到一定濃度后由泄水管排出。高濃度廢水由于沉降作用會產生的沉淀,由排污管定期排出。人孔設置在蒸發器的一側,方便維護人員定期對蒸發器進行維修、清理及保養。
權利要求書
1.一種處理工業廢水的工藝,特別是一種處理含重金屬廢水的蒸發工藝,其特征是該工藝主要是由按下述工藝流程順序的廢水進水霧化工序、廢水受熱蒸發工序、水蒸氣冷凝回收工序、高濃度廢水及沉淀排出工序組成。
2.一種節能環保型負壓含重金屬廢水蒸發器,特別是以按權利要求1所述蒸發含重金屬廢水的裝置,其特征是該裝置是由按下述順序將管道連接或直接焊接起來的主要裝置之金屬腔體1、風機2、收水器3、安全閥4、高位水箱5、霧化噴頭6、熱風管7、溢流管8、泄水管9、排污管10、人孔11構成。
3.根據權利要求1所述廢水進水霧化工序其特征是含重金屬廢水處理由水泵泵入高位水箱5,利用與霧化噴頭6的液位差產生的壓力使廢水霧化進入蒸發器腔體1。
4.根據權利要求1所述廢水受熱蒸發工序其特征是利用廠內的煙氣溫度或冷卻水溫度對空氣進行加熱,在提供廢水蒸發所需的溫度環境的同時,較高的溫度會加快液體蒸發效率,也會造成腔體的負壓環境,分擔風機的負擔,進一步減少裝置運行所需的能耗。
5.根據權利要求1所述水蒸氣冷凝回收工序其特征是水蒸汽通過腔體上端的出口進入管道,并在管道中冷凝為液態水,沿斜管流入收水器進行收集。
6.根據權利要求1所述高濃度廢水及沉淀排出工序其特征是腔體下端為倒錐型,具有一定的坡度,是沉淀集中在一起,方便從排污口排出。
7.根據權利要求2所述裝置,其特征是安全閥4、收水器3、風機2設置在金屬腔體的頂部,并與腔體連通;高位水箱5設置在金屬腔體外側與腔體內部的霧化噴頭相連;熱風管7、溢流管8、泄水管9依次設置在霧化噴頭的下側;排污管10設置在金屬腔體的底部;人孔11設置在腔體的一側。
說明書
節能環保型負壓含重金屬廢水蒸發器
技術領域
本發明涉及蒸發處理重金屬廢水技術領域,尤其涉及一種節能環保型負壓含重金屬廢水蒸發器。
背景技術
水在工業上的用途很多,典型的工業應用有:生產廢水、漂洗用水、洗滌和冷卻用水。這意味著工業上會有大量的含有各種各樣高濃度污染物的廢水產生。絕大多數情況下,這些廢水需要在內部系統處理后,才能排放到公共排污系統或河流、湖泊及海洋中。一個經濟的、對環境友好的廢水處理系統應該是一個工廠或車間整體規劃中不可或缺的部分。廢水蒸發器目前廣泛應用于化工行業、金屬礦業的冶煉、大型鋼廠的酸洗廢液、電廠的濕法脫硫廢液處理等。
以重金屬廢水為例,隨著我國現代工業的迅速發展,工業廢水中的重金屬污染問題日益嚴重。如何有效治理重金屬污染,高效處理這些重金屬廢水,并使之資源化,已經成為人們共同關注的問題。
但是現有的三效蒸發器作為蒸發裝置,需要輔助的加熱熱源,存在能耗大、成本高的缺點。
發明內容
本發明要解決的技術問題是:本發明提供一種用于重金屬廢水處理的節能環保型負壓蒸發器,用于解決現有重金屬廢水蒸發裝置和工藝中,普遍存在的換熱效率低、能耗高等技術難題。本發明設置在重金屬廢水處理的工藝之前,利用負壓蒸發的原理將重金屬廢水進行蒸發濃縮。將重金屬廢水中的大部分水進行進行回用,降低企業的新水用量。從而達到節能、環保的目的。
本發明技術方案是:一種用于重金屬廢水處理的節能環保型負壓蒸發器,包括金屬腔體1、風機2、收水器3、安全閥4、高位水箱5、霧化噴頭6、熱風管7、溢流管8、泄水管9、排污管10、人孔11。安全閥4、收水器3、風機2設置在金屬腔體的頂部,并與腔體連通;高位水箱5設置在金屬腔體外側與腔體內部的霧化噴頭6相連;熱風管7、溢流管8、泄水管9依次設置在霧化噴頭的下側;排污管10設置在金屬腔體的底部;人孔11設置在腔體的一側。高位水箱中的含重金屬廢水,通過自流的方式進入霧化器中,由霧化噴頭進入蒸發器的金屬腔體,霧化狀態的在金屬腔體的負壓加熱環境中,廢水中的部分水分子變為水蒸汽,水蒸汽通過腔體上端的出口進入管道,并在管道中冷凝為液態水,沿斜管流入收水器進行收集。熱風管布置在霧化噴頭的下部,因為是負壓蒸發,所以熱源溫度不需要太高,可利用廠內的煙氣溫度或冷卻水溫度對空氣進行加熱。可以大大的降低蒸發器的能源消耗。溢流管和泄水管依次位于熱風管的下方,溢流管是用來防止蒸發器下方的高濃度廢水的水位過高,對熱風管造成影響。泄水管是當下方的高濃度廢水達到一定濃度時需要排出蒸發器。排污管是用來排除底部廢水由于沉降作用產生的沉淀。蒸發器金屬腔體一側設置人孔,方便維護人員定期對蒸發器進行維修、清理及保養。



