申請日2016.05.27
公開(公告)日2016.12.07
IPC分類號C02F11/00
摘要
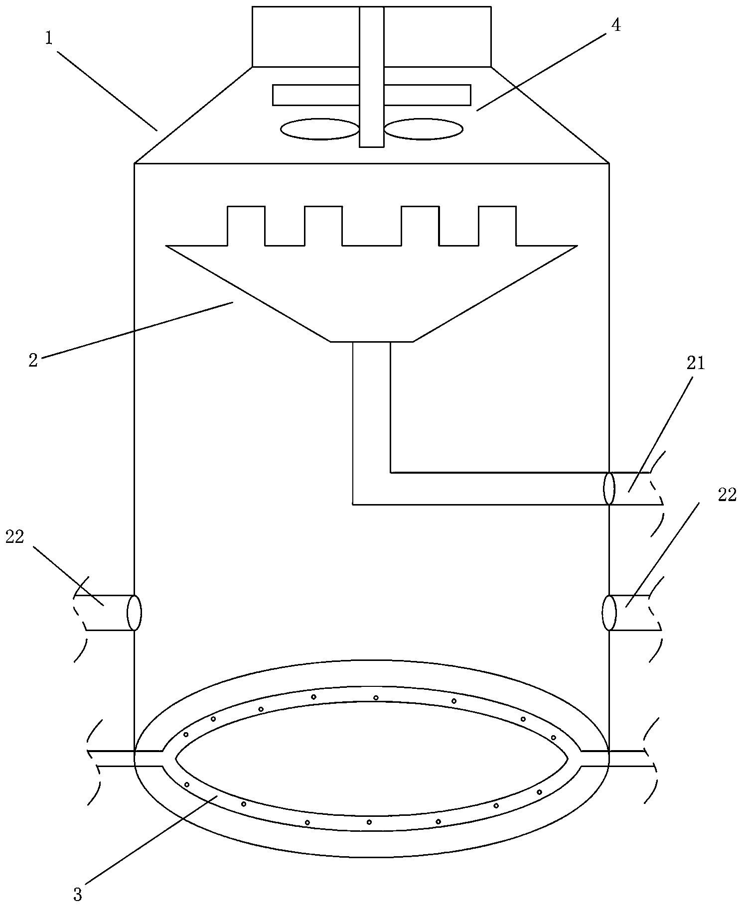
本實用新型公開了一種活性污泥反應裝置,包括箱體,所述箱體設置有高于污泥反應液面的漂浮雜質收集器,所述漂浮雜質收集器下端設置有雜質排放管,所述箱體內還設置有污泥出口,以及至少一條輸氣/液管,所述輸氣/液管上設置有出氣孔。本裝置能夠將有效對污泥中的油水混合雜質等進行分離,其分離效率高,分離效果好,具有很好的使用價值。
摘要附圖
權利要求書
1.一種活性污泥反應裝置,其特征在于:包括箱體,所述箱體設置有高于污泥反應液面的漂浮雜質收集器,所述漂浮雜質收集器下端設置有雜質排放管,所述箱體內還設置有污泥出口,以及至少一條輸氣/液管,所述輸氣/液管上設置有出氣孔。
2.根據權利要求1所述的一種活性污泥反應裝置,其特征在于:所述漂浮雜質收集器為帶齒狀的錐形漏斗,所述雜質排放管一端連接漂浮雜質收集器底端,另一端連接到所述箱體外部。
3.根據權利要求1所述的一種活性污泥反應裝置,其特征在于:所述箱體內還設置有泡沫消除器,其位于所述漂浮雜質收集器上方。
4.根據權利要求3所述的一種活性污泥反應裝置,其特征在于:所述泡沫消除器為可旋轉的攪拌槳。
5.根據權利要求3所述的一種活性污泥反應裝置,其特征在于:所述泡沫消除器為可噴灑消泡劑的噴淋器。
6.根據權利要求1所述的一種活性污泥反應裝置,其特征在于:所述輸氣/液管呈環狀布置于箱體內底部,所述輸氣/液管上分布有多個出氣孔。
7.根據權利要求6所述的一種活性污泥反應裝置,其特征在于:包含2-4條輸氣/液管,并等距排列在所述箱體底部,所述輸氣/液管的開口方向使得污泥反應液形成渦旋。
說明書
一種活性污泥反應裝置
技術領域
本實用新型涉及污泥處理設備,具體是一種活性污泥反應裝置。
背景技術
生活污水處理的副產物——污泥對環境的破壞很大,因此需要進一步的處理。而污泥處理的過程中,現有技術中存在將污泥留著水體中直接處理的方法。這時候,污泥中的很多成分都會逐漸分解,釋放到水體中,造成反應體系的濃度變高。這時,就需要將漂浮的雜質進行分離,以免產生過多的泡沫。同時,一般的污泥當中混雜有許多不同的雜質,其中有很大部分是油液混合物,這些油液混合物在污泥中層層混合,非常難以獲得高效、高質的分離,難以更好地處理污泥,同時,也會給處理設備的運行帶來不良的影響。
實用新型內容
為了克服現有技術的不足,本實用新型提供一種活性污泥反應裝置,其漂浮雜質(油脂等)分離效率高,而且效果好,使污泥處理設備能順利運行。
本實用新型解決其技術問題所采用的技術方案是:
一種活性污泥反應裝置,其特征在于:包括箱體,所述箱體設置有高于污泥反應液面的漂浮雜質收集器,所述漂浮雜質收集器下端設置有雜質排放管,所述箱體內還設置有污泥出口,以及至少一條輸氣/液管,所述輸氣/液管上設置有出氣孔。
作為上述技術方案的改進,所述漂浮雜質收集器為帶齒狀的錐形漏斗,所述雜質排放管一端連接漂浮雜質收集器底端,另一端連接到所述箱體外部,用于排放雜質。
作為上述技術方案的進一步改進,所述箱體內還設置有泡沫消除器,其位于所述漂浮雜質收集器上方。
進一步地,所述泡沫消除器為可旋轉的攪拌槳。
進一步地,所述泡沫消除器為可噴灑消泡劑的噴淋器。
作為上述技術方案的進一步改進,所述輸氣/液管呈環狀布置于箱體內底部,所述輸氣/液管上分布有多個出氣孔。
進一步地,在本實用新型的一些實施例中,包含2-4條輸氣/液管,并等距排列在所述箱體底部,所述輸氣/液管的開口方向使得污泥反應液形成渦旋。
本實用新型的有益效果是:本裝置能夠將有效對污泥中的油水混合雜質等進行分離,其分離效率高,分離效果好,具有很好的使用價值;本裝置能有效消除反應過程中產生的氣泡,防止溢流;本裝置的輸氣/液管能使混入的氣/液與污泥反應液充分混合,實現能源的節省。


