申請日2016.05.27
公開(公告)日2017.05.10
IPC分類號C02F1/28; C02F9/04; C02F101/20
摘要
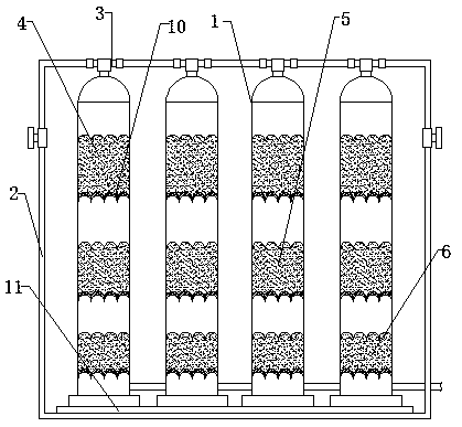
本實用新型公開了基于汽車裝飾件的鎳廢水處理用并列式樹脂吸附設備,包括若干并列設置的吸附罐,每個吸附罐的頂端均設置三通閥門,每兩個三通閥門之間連接鎳廢水管道,鎳廢水管道將若干吸附罐一體貫通連接,每個吸附罐內從上向下依次設置第一樹脂吸附層、第二樹脂吸附層以及第三樹脂吸附層,第一樹脂吸附層、第二樹脂吸附層以及第三樹脂吸附層底部均設有支撐嵌件,并且第一樹脂吸附層、第二樹脂吸附層以及第三樹脂吸附層的上表面均設置波浪形結構;本實用新型設備簡單,鎳廢水的處理效果好,環保,能做到無污染排放。
摘要附圖
權利要求書
1.基于汽車裝飾件的鎳廢水處理用并列式樹脂吸附設備,其特征在于:包括若干并列設置的吸附罐,每個所述吸附罐的頂端均設置三通閥門,每兩個所述三通閥門之間連接鎳廢水管道,所述鎳廢水管道將若干所述吸附罐一體貫通連接,每個所述吸附罐內從上向下依次設置第一樹脂吸附層、第二樹脂吸附層以及第三樹脂吸附層,所述第一樹脂吸附層、第二樹脂吸附層以及第三樹脂吸附層底部均設有支撐嵌件,并且所述第一樹脂吸附層、第二樹脂吸附層以及第三樹脂吸附層的上表面均設置波浪形結構。
2.根據權利要求1所述的基于汽車裝飾件的鎳廢水處理用并列式樹脂吸附設備,其特征在于:所述第一樹脂吸附層、第二樹脂吸附層以及第三樹脂吸附層三層的厚度依次減小。
3.根據權利要求1所述的基于汽車裝飾件的鎳廢水處理用并列式樹脂吸附設備,其特征在于:若干并列的所述吸附罐側面設有一PH值調節罐。
4.根據權利要求3所述的基于汽車裝飾件的鎳廢水處理用并列式樹脂吸附設備,其特征在于:所述PH值調節罐通過PH值調節液管道與所述鎳廢水管道的進液端貫通連接。
5.根據權利要求1-4任一項所述的基于汽車裝飾件的鎳廢水處理用并列式樹脂吸附設備,其特征在于:每個所述支撐嵌件均為波浪形結構,與所述第一樹脂吸附層、第二樹脂吸附層以及第三樹脂吸附層上表面的結構相吻合。
說明書
基于汽車裝飾件的鎳廢水處理用并列式樹脂吸附設備
技術領域
本實用新型涉及汽車裝飾件加工領域,尤其涉及一種基于汽車裝飾件的鎳廢水處理用并列式樹脂吸附設備。
背景技術
汽車內裝飾條是汽車加工制造中必不可少的配件,一般的汽車內裝飾條先經注塑成型,再經過一系列的表面處理來達到裝飾要求,其中就包括電鍍工序等,汽車內裝飾條在大批量進行表面處理時,電鍍鎳是其比較重要的步驟,而且鍍鎳需要多次電鍍才能達到最終的目標,而鍍鎳過程中會產生較多的鎳廢水,鎳廢水直接排放屬于重金屬污染,濃度高,不符合要求,不環保,而且污染嚴重。
發明內容
針對上述存在的問題,本實用新型旨在提供一種基于汽車裝飾件的鎳廢水處理用并列式樹脂吸附設備,該樹脂吸附設備是針對鎳廢水進行處理的設備,該設備簡單,鎳廢水的處理效果好,環保,能做到無污染排放。
為了實現上述目的,本實用新型所采用的技術方案如下:
基于汽車裝飾件的鎳廢水處理用并列式樹脂吸附設備,包括若干并列設置的吸附罐,每個所述吸附罐的頂端均設置三通閥門,每兩個所述三通閥門之間連接鎳廢水管道,所述鎳廢水管道將若干所述吸附罐一體貫通連接,每個所述吸附罐內從上向下依次設置第一樹脂吸附層、第二樹脂吸附層以及第三樹脂吸附層,所述第一樹脂吸附層、第二樹脂吸附層以及第三樹脂吸附層底部均設有支撐嵌件,并且所述第一樹脂吸附層、第二樹脂吸附層以及第三樹脂吸附層的的上表面均設置波浪形結構。
本實用新型的進一步改進在于:所述第一樹脂吸附層、第二樹脂吸附層以及第三樹脂吸附層三層的厚度依次減小。
本實用新型的進一步改進在于:若干并列的所述吸附罐側面設有一PH值調節罐。
本實用新型的進一步改進在于:所述PH值調節罐通過PH值調節液管道與所述鎳廢水管道的進液端貫通連接。
本實用新型的進一步改進在于:每個所述支撐嵌件均為波浪形結構,與所述第一樹脂吸附層、第二樹脂吸附層以及第三樹脂吸附層上表面的結構相吻合。
本實用新型的有益效果是:與現有技術相比,本實用新型的優點是,該設備結構簡單,處理效果好,并且采用并列式的結構設置,可以提高鎳廢水的處理效率,而且為了提高鎳廢水的處理效果,在吸附罐的側面還設置PH值調節罐,通過多層吸附功能,達到排放要求,而且本發明為了節省吸附層材料的設置,故在一個吸附罐內設置三層,而為了增大吸附面積,將吸附層的上表面設置為波浪形,這樣吸附面積增大,處理效果增強。


