申請日2016.05.27
公開(公告)日2017.12.05
IPC分類號C02F9/14
摘要
本發明公開了一種高濃度有機廢水處理回用一體化裝置,該裝置依次設有厭氧池、缺氧池、MBR池、BAF池、超濾反滲透裝置和混凝沉淀池;本發明的優點在于:該裝置解決了污水設施占地面積大,投資成本高、施工期長、施工圖設計繁瑣等問題,結構緊湊,設計合理,占地面積小,一次性投資小,操作簡單,污水處理運行成本低,適用范圍廣。
摘要附圖
權利要求書
1.一種高濃度有機廢水處理回用一體化裝置,其特征在于:所述一體化裝置依次設有厭氧池、缺氧池、MBR池、BAF池、超濾反滲透裝置和混凝沉淀池。
2.根據權利要求1所述的一體化裝置,其特征在于:所述厭氧池設有厭氧反應器,為污泥床厭氧反應器,并通過水泵與回收調節池相連。
3.根據權利要求1所述的一體化裝置,其特征在于:所述MBR池設有膜生物反應器。
說明書
高濃度有機廢水處理回用一體化裝置
技術領域
本發明涉及一種有機廢水處理裝置,具體地說是一種高濃度有機廢水處理回用一體化裝置,屬于廢水處理設備領域。
背景技術
高濃度有機廢水一般是指由造紙、皮革、垃圾滲濾液、食品等行業排出的COD在2000mg/L以上的廢水。這些廢水中含有大量的碳水化合物、脂肪、蛋白質、纖維素等有機物,如果直接排放,會造成嚴重污染,所以必須采取措施處理污水。目前大部分有機廢水的處理采用生化處理方法進行處置,其設施存在占地面積大,投資成本高、施工期長、施工圖設計繁瑣等缺陷。
發明內容
為了解決上述問題,本發明設計了一種高濃度有機廢水處理回用一體化裝置,該裝置解決了污水設施占地面積大、投資成本高、施工期長、施工圖設計繁瑣等問題,結構緊湊,設計合理,占地面積小,一次性投資小,操作簡單,污水處理運行成本低,適用范圍廣。
本發明的技術方案為:
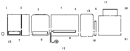
一種高濃度有機廢水處理回用一體化裝置,該裝置依次設有厭氧池、缺氧池、MBR池、BAF池、超濾反滲透裝置和混凝沉淀池;
所述厭氧池設有厭氧反應器,為污泥床厭氧反應器,并通過水泵與回收調節池相連;具有污泥濃度高、處理負荷高,出水效果好的優點,通過厭氧池使高濃度有機廢水中的大分子有機物得到降解,作為后續好氧生物處理的預處理單元。
所述MBR池設有膜生物反應器,膜生物反應器起到提高污泥濃度、進而提高處理效率,同時對后續的超濾反滲透池起到預處理作用;利用膜生物反應器分離組件將生化反應池中的活性污泥和大分子有機物截留住。
所述BAF池為固定化微生物-曝氣生物濾池,底部設有微孔膜氣孔,微孔膜氣孔與鼓風機相連,在微孔膜氣孔上方設有生物膜載體,用于去除氨氮;
所述超濾反滲透裝置底部設有清水輸出口,另外還設有清洗裝置,定期對設備進行清洗;
所述混凝沉淀池上部設有廢水出水口,與回收調節池相連,將上層廢水輸回到回收調節池,混凝沉淀池下部設有污泥排出口,產生的污泥運通過污泥排出口排出后運送到垃圾填埋場;另外,混凝沉淀池頂部還設有加藥裝置,通過加藥系統添加PAC、PAM處理。
本發明一體化裝置依次通過厭氧池降解大分子有機物,缺氧池和MBR池可提高廢水的可生化性、去除有機物、氨氮和總氮,BAF池可去除氨氮,超濾反滲透裝置使出水達到回用水標準,產生的濃水進入混凝沉淀池,用混凝沉淀的方法去除,混凝沉淀后上層廢水回到調節池,污泥運送到垃圾填埋場,結構緊湊,設計合理,操作簡單。
本發明的優點在于:該裝置解決了污水設施占地面積大,投資成本高、施工期長、施工圖設計繁瑣等問題,結構緊湊,設計合理,占地面積小,一次性投資小,操作簡單,污水處理運行成本低,適用范圍廣。
下面結合附圖和實施例對本發明作進一步說明。


