申請日2015.06.10
公開(公告)日2015.11.11
IPC分類號C02F1/52
摘要
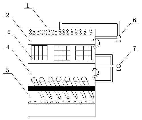
本實用新型屬于焦化廢水處理設備技術領域,具體涉及一種焦化廢水后處理凈化裝置,包括混合器1、第一緩沖池2、初級凈化區3、第二緩沖池4、二級凈化區5、第一輸送泵6和第二輸送泵7,其特征在于:所述的混合器1、第一緩沖池2、初級凈化區3、第二緩沖池4和二級凈化區5由上向下依次連接;所述第一緩沖池2一側設有第一輸送泵6,該第一輸送泵6通過管道一端與第一緩沖池2相連接,第一輸送泵6另一端與混合器1相連接;初級凈化區3、第二緩沖池4和二級凈化區5均通過管道與第二輸送泵7相連接;本實用新型沉降效果理想該裝置主要實現了廢水在其內部的絮凝沉淀過程,充分利用藥劑和裝置達到廢水凈化目的。
摘要附圖
權利要求書
1.一種焦化廢水后處理凈化裝置,包括混合器(1)、第一緩沖池(2)、初級凈化區(3)、第二緩沖池(4)、二級凈化區(5)、第一輸送泵(6)和第二輸送泵(7),其特征在于:所述的混合器(1)、第一緩沖池(2)、初級凈化區(3)、第二緩沖池(4)和二級凈化區(5)由上向下依次連接;所述第一緩沖池(2)一側設有第一輸送泵(6),該第一輸送泵(6)通過管道一端與第一緩沖池(2)相連接,第一輸送泵(6)另一端與混合器(1)相連接。
2.如權利要求1所述的一種焦化廢水后處理凈化裝置,其特征在于:所述的初級凈化區(3)、第二緩沖池(4)和二級凈化區(5)均通過管道與第二輸送泵(7)相連接。
3.如權利要求1或2所述的一種焦化廢水后處理凈化裝置,其特征在于:所述的混合器(1)上設有多處進水與多處藥劑混合區域,混合后的藥水混合物經混合器(1)底部篩板進入第一緩沖池(2)。
4.如權利要求1或2所述的一種焦化廢水后處理凈化裝置,其特征在于:所述的二級凈化區(5)中上部設有斜板填料,該斜板填料為DN80的PVC管,該斜板填料的傾斜角度為70°-75°,該斜板填料傾斜方向與出水方向相反。
5.如權利要求1或2所述的一種焦化廢水后處理凈化裝置,其特征在于:所述的初級凈化區(3)中上部設有斜板填料。
6.如權利要求4所述的一種焦化廢水后處理凈化裝置,其特征在于:所述的初級凈化區(3)和二級凈化區(5)內的斜板填料底部分布有壓縮空氣清掃管道。
7.如權利要求5所述的一種焦化廢水后處理凈化裝置,其特征在于:所述的初級凈化區(3)和二級凈化區(5)內的斜板填料底部分布有壓縮空氣清掃管道。
說明書
一種焦化廢水后處理凈化裝置
技術領域
本實用新型屬于焦化廢水處理設備技術領域,具體涉及一種焦化廢水后處理凈化裝置。
背景技術
國家對環保指標要求日益嚴格,被稱為史上最嚴的環保法自2015年1月1日施行起,焦化行業的工業廢水、廢氣等污染物達標排放成為全行業的熱點和焦點,同時柴靜拍攝的“穹頂之下”,更是將焦化行業推上了風口浪尖,焦化行業面臨著諸多困難,焦化人必須進行自救。焦化廢水處理一直是行業難點,國內外眾多實驗室及企業均針對焦化廢水處理進行實驗,目前國內外有比較成熟的廢水處理工藝,從預處理到生化處理,再從生化處理到深度處理,但設備的更新缺停滯不前。
發明內容
本實用新型的目的就是要提供一種采用合理混合反應及科學進水設置,同時進行多次沉降,可大幅度降低廢水中懸浮物含量,且對廢水出水COD、氰化物等含量降低的焦化廢水后處理凈化裝置。
本實用新型是通過以下技術方案來實現的:
一種焦化廢水后處理凈化裝置,包括混合器1、第一緩沖池2、初級凈化區3、第二緩沖池4、二級凈化區5、第一輸送泵6和第二輸送泵7,其中混合器1、第一緩沖池2、初級凈化區3、第二緩沖池4和二級凈化區5由上向下依次連接;所述第一緩沖池2一側設有第一輸送泵6,該第一輸送泵6通過管道一端與第一緩沖池2相連接,第一輸送泵6另一端與混合器1相連接。
為了更好的實現本實用新型的目的,初級凈化區3、第二緩沖池4和二級凈化區5均通過管道與第二輸送泵7相連接。
為了更好的實現本實用新型的目的,混合器1上設有多處進水與多處藥劑混合區域,混合后的藥水混合物經混合器1底部篩板進入第一緩沖池2。
為了更好的實現本實用新型的目的,二級凈化區5中上部設有斜板填料,該斜板填料為DN80的PVC管,該斜板填料的傾斜角度為70°-75°,該斜板填料傾斜方向與出水方向相反。
為了更好的實現本實用新型的目的,初級凈化區3中上部設有斜板填料。
為了更好的實現本實用新型的目的,初級凈化區3和二級凈化區5內的斜板填料底部分布有壓縮空氣清掃管道。
與現有技術相比較,本實用新型的有益效果在于:
本實用新型的原理是利用混合器將廢水和藥劑實現充分混合后進行絮凝沉降,但絮凝沉降過程靠物理沉降,其速度較為緩慢,利用本實用新型可以增加廢水在本裝置中的停留時間,廢水通過初級凈化區3、二級凈化區5時,利用裝置內部填料增加沉降時間,同時利用填料進行廢水和絮狀物質的分離,絮狀物質遇到填料阻力后緩慢沉降至初級凈化區3、二級凈化區5底部,通過第二輸送泵7外送,沉降后的上清液通過初級凈化區3、二級凈化區5溢流堰進行溢流,同時為減少藥劑消耗,提高藥劑效率,在第一緩沖池2底部設有第一輸送泵6,進行底部藥劑回用,為解決填料層掛沉淀物,出現堵塞情況,在初級凈化區3、二級凈化區5底部敷設有壓縮空氣管道,可以清理底部沉淀物;在初級凈化區3和二級凈化區5中上部由排列整齊的斜管組成,斜管傾斜角度為70°-75°,與現有填料相比優勢主要在于斜管單體更換方便,沉降效果理想該裝置主要實現了廢水在其內部的絮凝沉淀過程,充分利用藥劑和裝置達到廢水凈化目的。






