申請日2015.07.24
公開(公告)日2015.12.23
IPC分類號B01D36/04
摘要
本實用新型屬于污水處理技術領域提供了一種建筑工地污水處理裝置,包括轉筒、外筒、轉動軸和污水箱,所述轉筒的外圓周面為濾網構成,所述轉筒的右端設置有輪轂,所述轉筒的外部包裹有外筒,所述外筒的底部分別設置有排水口和排渣口,所述轉筒的內部軸線上設置有轉動軸,所述轉動軸為空心結構,所述轉動軸的兩端均穿過轉筒和外筒直至外部空間,所述轉動軸穿過轉筒處通過法蘭盤固定連接,所述轉動軸置于轉筒內部的一段外圓周面上設置有若干個漏孔和安裝有螺旋葉片,所述轉動軸的左右兩端均架設有軸承座,本實用新型能夠在短時間內將建筑工地污水中的泥沙和水分離,具有極高的污水處理能力。
權利要求書
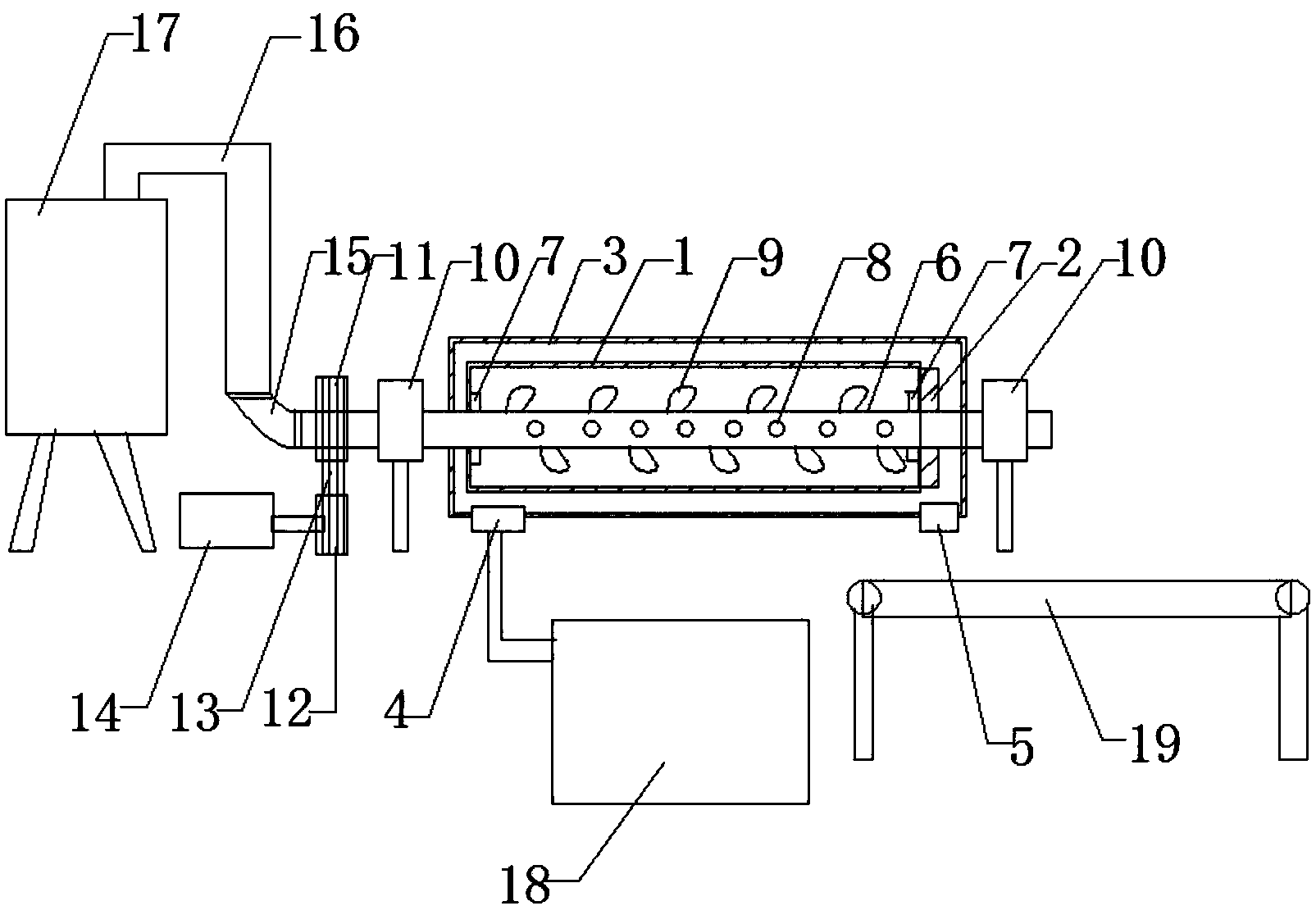
1.一種建筑工地污水處理裝置,包括轉筒(1)、外筒(3)、轉動軸(6)、 污水箱(17),其特征在于,所述轉筒(1)的外圓周面為濾網構成,所述轉筒(1) 的右端設置有輪轂(2),所述轉筒(1)的外部包裹有外筒(3),所述外筒(3) 的底部分別設置有排水口(4)和排渣口(5),所述轉筒(1)的內部軸線上設置 有轉動軸(6),所述轉動軸(6)為空心結構,所述轉動軸(6)的兩端均穿過轉 筒(1)和外筒(3)直至外部空間,所述轉動軸(6)穿過轉筒(1)處通過法蘭 盤(7)固定連接,所述轉動軸(6)置于轉筒(1)內部的一段外圓周面上設置 有若干個漏孔(8)和安裝有螺旋葉片(9),所述轉動軸(6)的左右兩端均架設 有軸承座(10),所述轉動軸(6)的左端套設有大皮帶輪(11),所述大皮帶輪 (11)通過皮帶(13)與設于電機(14)上的小皮帶輪(12)連接,所述轉動軸 (6)的左端開口處還安裝有旋轉式管接頭(15),所述旋轉式管接頭(15)通過 水管(16)連接有污水箱(17)。
2.根據權利要求1所述的一種建筑工地污水處理裝置,其特征在于,所述 轉筒(1)外圓周面的濾網結構的孔徑只允許水分通過,而不允許泥沙通過。
3.根據權利要求1所述的一種建筑工地污水處理裝置,其特征在于,所述 螺旋葉片(9)的旋進方向為朝向排渣口方向。
4.根據權利要求1所述的一種建筑工地污水處理裝置,其特征在于,所述 外筒(3)的側壁為傾斜式結構,且安裝排水口(4)的一側低于安裝排渣口(5) 的一側。
5.根據權利要求1所述的一種建筑工地污水處理裝置,其特征在于,所述 排水口(4)的底部連接有集水箱(18)。
6.根據權利要求1所述的一種建筑工地污水處理裝置,其特征在于,所述 排渣口(5)下方設置有泥沙傳送帶(19)。
說明書
一種建筑工地污水處理裝置
技術領域
本實用新型涉及一種污水處理裝置,特別涉及一種建筑工地污水處理裝置, 屬于污水處理技術領域。
背景技術
隨著城市建設的快速發展,各種建筑工地數不勝數,這些建筑工地往往需要 使用大量的水資源進行混合材料或者清洗設備,但同時也會產生大量的混合著泥 沙的污水,這些污水大多數都沒有被再次利用而是直接排放,這樣不僅污染環境, 而且極大地浪費了水資源。
雖然有些地方也采取了相關措施,比如采用沉淀池進行污水沉淀,但沉淀池 不僅占據較大的空間,而且沉淀周期過長,效率不高,鑒于此,有必要設計一種 能夠快速處理建筑工地污水的裝置,以此來解決目前存在的問題。
實用新型內容
本實用新型要解決的技術問題是克服現有的缺陷,提供一種建筑工地污水處 理裝置,可以有效解決背景技術中的問題。
為了解決上述技術問題,本實用新型提供了如下的技術方案:
本實用新型提供一種建筑工地污水處理裝置,包括轉筒、外筒、轉動軸和污 水箱,所述轉筒的外圓周面為濾網構成,所述轉筒的右端設置有輪轂,所述轉筒 的外部包裹有外筒,所述外筒的底部分別設置有排水口和排渣口,所述轉筒的內 部軸線上設置有轉動軸,所述轉動軸為空心結構,所述轉動軸的兩端均穿過轉筒 和外筒直至外部空間,所述轉動軸穿過轉筒處通過法蘭盤固定連接,所述轉動軸 置于轉筒內部的一段外圓周面上設置有若干個漏孔和安裝有螺旋葉片,所述轉動 軸的左右兩端均架設有軸承座,所述轉動軸的左端套設有大皮帶輪,所述大皮帶 輪通過皮帶與設于電機上的小皮帶輪連接,所述轉動軸的左端開口處還安裝有旋 轉式管接頭,所述旋轉式管接頭通過水管連接有污水箱。
作為本實用新型的一種優選技術方案,所述轉筒外圓周面的濾網結構的孔徑 只允許水分通過,而不允許泥沙通過。
作為本實用新型的一種優選技術方案,所述螺旋葉片的旋進方向為朝向排渣 口方向。
作為本實用新型的一種優選技術方案,所述外筒的側壁為傾斜式結構,且安 裝排水口的一側低于安裝排渣口的一側。
作為本實用新型的一種優選技術方案,所述排水口的底部連接有集水箱。
作為本實用新型的一種優選技術方案,所述排渣口下方設置有泥沙傳送帶。
本實用新型所達到的有益效果是:通過轉軸、轉筒以及外筒的相互配合,能 夠在極端的時間內將污水中的水與泥沙等雜質分離,并分別通過排水口和排渣口 排出,相比于傳統沉淀池的長時間沉淀處理,該新型的污水處理效率極高。







