申請日2015.07.22
公開(公告)日2015.12.16
IPC分類號C02F1/22
摘要
本實用新型公開了一種用于處理高鹽廢水的低溫冷凍升華設備,包括一低溫冷凍單元、一原料容器、一原料預冷處理單元、一制冷/熱單元以及一水蒸氣冷凝單元。原料預冷處理單元對抽送至低溫冷凍單元內的高鹽廢水進行預冷處理,制冷/熱單元將相應的冷源及熱源輸送至溫冷凍單元及水蒸氣冷凝單元上,使得低溫冷凍單元內結冰的高鹽廢水升華成水蒸氣,同時實現水與鹽份分離,以及使輸送至水蒸氣冷凝單元內的水蒸氣冷凝成液態水。采用本實用新型技術方案,具有工藝簡單、高效且成本低的特點。
權利要求書
1.一種處理高鹽廢水低溫冷凍升華設備,其特征在于包括:
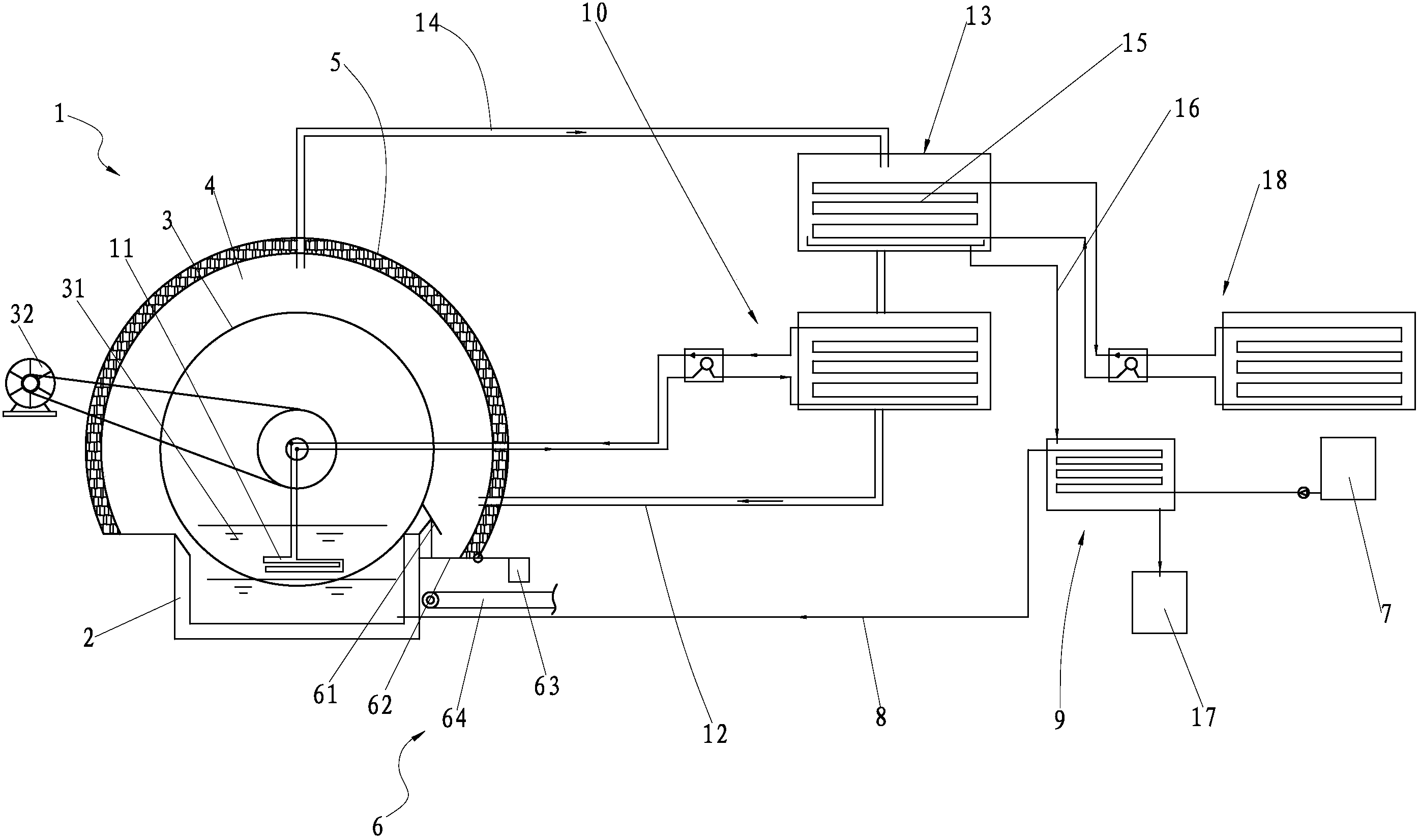
一低溫冷凍單元(1),所述低溫冷凍單元(1)包括用于盛裝高 鹽廢水的低溫冷凍槽(2),所述低溫冷凍槽(2)上方轉動設有底部 浸在高鹽廢水中的低溫轉輪(3),所述低溫轉輪(3)內設有低溫冷 凍液(31),所述低溫冷凍槽(2)側設有用于驅動低溫轉輪(3)轉 動的低溫轉輪驅動電機(32),所述低溫冷凍槽(2)上方還設有用于 將低溫轉輪(3)密封罩住以形成一真空升華腔室(4)的罩殼(5), 所述罩殼(5)側設有抵接于低溫轉輪(3)的用于將殘留在低溫轉輪 (3)表面上的鹽份刮除收集的鹽份收集機構(6);
一原料容器(7),用于盛裝及向低溫冷凍槽(2)供給要處理的 高鹽廢水,所述原料容器(7)與低溫冷凍槽(2)之間連接有用于將 原料容器(7)內的高鹽廢水抽送至低溫冷凍槽(2)上的原料供給管 道(8);
一原料預冷處理單元(9),用于將抽送至低溫冷凍槽(2)上的 高鹽廢水進行預冷卻處理,所述原料預冷處理單元(9)設于原料容 器(7)與低溫冷凍槽(2)之間且通過原料供給管道(8)分別與原 料容器(7)及低溫冷凍槽(2)連接;
一制冷/熱單元(10),所述制冷/熱單元(10)與低溫冷凍單元 (1)之間連接有用于伸入低溫轉輪(3)內且浸沒于低溫冷凍液(31) 以降低低溫轉輪(3)溫度的第一制冷盤管(11)和用于伸入真空升 華腔室(4)內以提高真空升華腔室(4)內溫度的熱干空氣管道(12); 以及
一水蒸氣冷凝單元(13),所述水蒸氣冷凝單元(13)與低溫冷 凍單元(1)之間連接有伸入真空升華腔室(4)內以將升華的水蒸氣 抽送至水蒸氣冷凝單元(13)的水蒸氣輸送管道(14),所述制冷/ 熱單元(10)與水蒸氣冷凝單元(13)之間還連接有第二制冷盤管(15) (15)以將水蒸氣冷凝單元(13)內的水蒸氣冷凝成液體。
2.按權利要求1所述一種處理高鹽廢水低溫冷凍升華設備,其 特征在于所述水蒸氣冷凝單元(13)與原料預冷處理單元(9)直接 連接有冷凝水管道(16),所述原料預冷處理單元(9)還連接有用于 收集冷凝水的清水槽(17)。
3.按權利要求1所述一種處理高鹽廢水低溫冷凍升華設備,其 特征在于所述水蒸氣冷凝單元(13)還連接普通制冷散熱器(18)。
4.按權利要求2所述一種處理高鹽廢水低溫冷凍升華設備,其 特征在于所述水蒸氣冷凝單元(13)還連接有普通制冷散熱器(18)。
5.按權利要求1至4任一項所述一種處理高鹽廢水低溫冷凍升 華設備,其特征在于所述鹽份收集機構(6)包括傾斜設置的刮板(61), 所述刮板(61)上端抵接于低溫轉輪(3)表面且當低溫轉輪(3)轉 動時以刮除低溫轉輪(3)上殘留的鹽份,所述刮板(61)下端下方 設有用于收集沿著刮板(61)滑落的鹽份的收集板(62),所述收集 板(62)中部與罩殼(5)鉸接,所述收集板(62)朝向外側一端設 有平衡錘(63),所述收集板(62)朝向內側一端下方設有用于輸送 鹽份的傳送帶(64)。
6.按權利要求1所述一種處理高鹽廢水低溫冷凍升華設備,其 特征在于所述水蒸氣輸送管道(14)從罩殼(5)頂部伸入真空升華 腔室(4)內。
7.按權利要求1所述一種處理高鹽廢水低溫冷凍升華設備,其 特征在于所述制冷/熱單元(10)為低溫制冷機。
說明書
一種處理高鹽廢水低溫冷凍升華設備
【技術領域】
本實用新型涉及污水處理設備,尤其是一種處理高鹽廢水低溫冷 凍升華設備。
【背景技術】
現有技術中,為了將高鹽廢水中的鹽份與水進行分離,采用的方 法多樣,包括有化學沉淀過濾法、多級閃蒸法,以及過濾反滲透法, 然而采用上述方法進行分離,其工藝復雜,成本高,不利于污水處理 企業的發展。
本實用新型即針對現有技術的不足研究而提出。
【實用新型內容】
本實用新型要解決的技術問題是提供一種處理高鹽廢水低溫冷 凍升華設備,利用升華原理,通過低溫冷凍單元直接將高鹽廢水從固 態冰升華為水蒸氣,進而到達將高鹽廢水中的鹽份與水分離,具有分 離效率高、工藝步驟簡單及成本低的特點。
為解決上述技術問題,本實用新型一種處理高鹽廢水低溫冷凍升 華設備,包括:
一低溫冷凍單元,所述低溫冷凍單元包括用于盛裝高鹽廢水的低 溫冷凍槽,所述低溫冷凍槽上方轉動設有底部浸在高鹽廢水中的低溫 轉輪,所述低溫轉輪內設有低溫冷凍液,所述低溫冷凍槽側設有用于 驅動低溫轉輪轉動的低溫轉輪驅動電機,所述低溫冷凍槽上方還設有 用于將低溫轉輪密封罩住以形成一真空升華腔室的罩殼,所述罩殼側 設有抵接于低溫轉輪的用于將殘留在低溫轉輪表面上的鹽份刮除收 集的鹽份收集機構;
一原料容器,用于盛裝及向低溫冷凍槽供給要處理的高鹽廢水, 所述原料容器與低溫冷凍槽之間連接有用于將原料容器內的高鹽廢 水抽送至低溫冷凍槽上的原料供給管道;
一原料預冷處理單元,用于將抽送至低溫冷凍槽上的高鹽廢水進 行預冷卻處理,所述原料預冷處理單元設于原料容器與低溫冷凍槽之 間且通過原料供給管道分別與原料容器及低溫冷凍槽連接;
一制冷/熱單元,所述制冷/熱單元與低溫冷凍單元之間連接有用 于伸入低溫轉輪內且浸沒于低溫冷凍液以降低低溫轉輪溫度的第一 制冷盤管和用于伸入真空升華腔室內以提高真空升華腔室內溫度的 熱干空氣管道;以及
一水蒸氣冷凝單元,所述水蒸氣冷凝單元與低溫冷凍單元之間連 接有伸入真空升華腔室內以將升華的水蒸氣抽送至水蒸氣冷凝單元 的水蒸氣輸送管道,所述制冷/熱單元與水蒸氣冷凝單元之間還連接 有第二制冷盤管以將水蒸氣冷凝單元內的水蒸氣冷凝成液體。
所述水蒸氣冷凝單元與原料預冷處理單元直接連接有冷凝水管 道,所述原料預冷處理單元還連接有用于收集冷凝水的清水槽。
所述水蒸氣冷凝單元還連接有普通制冷散熱器。
所述鹽份收集機構包括傾斜設置的刮板,所述刮板上端抵接于低 溫轉輪表面且當低溫轉輪轉動時以刮除低溫轉輪上殘留的鹽份,所述 刮板下端下方設有用于收集沿著刮板滑落的鹽份的收集板,所述收集 板中部與罩殼鉸接,所述收集板朝向外側一端設有平衡錘,所述收集 板朝向內側一端下方設有用于輸送鹽份的傳送帶。
所述水蒸氣輸送管道從罩殼頂部伸入真空升華腔室內。
所述制冷/熱單元為低溫制冷機。
與現有技術相比,本實用新型具有如下優點:
1、低溫轉輪底部浸在高鹽廢水中,低溫轉輪內設有低溫冷凍液, 低溫轉輪外表面轉動脫離低溫轉動槽后,蘸在低溫轉輪上的高鹽廢水 則結為固態冰,在真空升華腔室內,固態冰的水份隨低溫轉輪轉動過 程中升華為水蒸氣,并將鹽份殘留在低溫轉輪上,當低溫轉輪轉動到 另一側時,鹽份收集機構則將殘留在低溫轉輪上的鹽份刮除,具有效 率高、工藝簡單及成本低的特點。
2、高鹽廢水先經過原料預冷處理單元進行預冷處理,且原料預 冷處理單元中的冷源來自于水蒸氣冷凝單元,循環使用,具有節能特 點。






