申請日2015.07.22
公開(公告)日2016.01.27
IPC分類號C02F11/12; C02F11/00
摘要
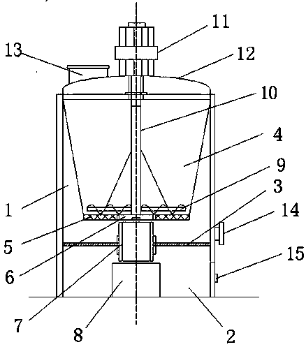
本實用新型公開了一種收料方便的污泥脫水裝置,其為圓柱形的殼體,殼體內設有隔板將殼體分隔成分離層和收料層,分離層內設有旋轉分離斗,旋轉分離斗的頂部通過圓環形的傳動軸連接在傳動電機上,旋轉分離斗內設有固定軸固定連接在密封蓋上,固定軸的底部設有切割槳葉,所述的旋轉分離斗的底部設有圓環形的濾水篩網,濾水篩網的中部設有排泥口,排泥口上設有密封翻蓋,隔板的中部設有可滑動的引料管;本實用新型通過固定軸與旋轉分離斗的組合作用,解決了污泥在離心分離過程中堵塞篩網孔的問題,裝置在重力和離心力的作用下,旋轉分離斗中多余的物料可以全部排出,在分離操作完成后,通過分離層和引料管分別收集污水和污泥,方便裝置后續的清理工作。
權利要求書
1.一種收料方便的污泥脫水裝置,所述的污泥脫水裝置為圓柱形的殼體,殼體頂部設有密封蓋和傳動電機,密封蓋上設有進料口,其特征在于,殼體內設有隔板將殼體分隔成分離層和收料層,所述的分離層內設有旋轉分離斗,旋轉分離斗的頂部通過圓環形的傳動軸連接在傳動電機上,所述的旋轉分離斗內設有固定軸固定連接在密封蓋上,固定軸的底部設有切割槳葉,所述的旋轉分離斗的底部設有圓環形的濾水篩網,濾水篩網的中部設有排泥口,排泥口上設有密封翻蓋,隔板的中部設有可滑動的引料管,所述的引料管的下方設有污泥收集槽。
2.根據權利要求1所述的收料方便的污泥脫水裝置,其特征在于,所述的引料管通過傳動氣缸活動連接在隔板上,所述滑動引料管的直徑與排泥口直徑相同。
3.根據權利要求1所述的收料方便的污泥脫水裝置,其特征在于,所述切割槳葉上設有垂直槳葉固定連接在固定軸上,所述的切割槳葉的安裝在濾水篩網上方5~10cm處。
4.根據權利要求1所述的收料方便的污泥脫水裝置,其特征在于,所述的密封翻蓋上設有電氣控制開關,所述電氣控制開關的控制電源設置在引料管上。
5.根據權利要求1所述的收料方便的污泥脫水裝置,其特征在于,所述的分離層的底部設有污水排水口,所述的收料層的底部設有人工操作口。
說明書
收料方便的污泥脫水裝置
技術領域
本實用新型涉及污泥回收工藝的輔助設備領域,尤其涉及一種收料方便的污泥脫水裝置。
背景技術
污泥的回收工藝包括多步操作工藝,其中污泥脫水工藝是將污泥中部分污水除去,方便下一步的干燥或者堆肥操作,這兩步工藝操作中,原料污泥的含水量不能太高,在干燥操作中,過多的污水意味著需要耗費過多的能量,而堆肥操作過程中,過多的污水不利于微生物的生長,因此脫水工藝為污泥回收工藝中比較重要的一環。
普通的離心脫水裝置通過離心的原理分離污水和污泥,但是在實際操作過程中,由于污泥本身的粘性較大,在離心過程中容易富集在離心篩網上,進而堵塞篩網孔,影響裝置的脫水效率;同時在離心操作完成后,很難將離心分離裝置內的污泥全部清空,多余污泥容易殘留離心分離的篩網上,清理起來很不方便,費時費力。
實用新型內容
針對上述存在的問題,本實用新型目的在于提供一種分離效率高,收料方便,易于清理的污泥脫水裝置。
為了達到上述目的,本實用新型采用的技術方案如下:一種收料方便的污泥脫水裝置,所述的污泥脫水裝置為圓柱形的殼體,殼體頂部設有密封蓋和傳動電機,密封蓋上設有進料口,殼體內設有隔板將殼體分隔成分離層和收料層,所述的分離層內設有旋轉分離斗,旋轉分離斗的頂部通過圓環形的傳動軸連接在傳動電機上,所述的旋轉分離斗內設有固定軸固定連接在密封蓋上,固定軸的底部設有切割槳葉,所述的旋轉分離斗的底部設有圓環形的濾水篩網,濾水篩網的中部設有排泥口,排泥口上設有密封翻蓋,隔板的中部設有可滑動的引料管,所述的引料管的下方設有污泥收集槽。
作為本實用新型的一種改進,所述的引料管通過傳動氣缸活動連接在隔板上,所述滑動引料管的直徑與排泥口直徑相同;引料管的主要作用是將旋轉分離斗中脫水后的污泥排入污泥收集槽,通過傳動氣缸實現自動化控制,操作簡單方便。
作為本實用新型的一種改進,所述切割槳葉上設有垂直槳葉固定連接在固定軸上,所述的切割槳葉的安裝在濾水篩網上方5~10cm處;切割槳葉相對于旋轉分離斗是靜止的,其主要作用是用于攪動污泥,防止污泥堵塞濾水篩網的篩孔,因此其與濾水篩網之間的間距不宜過大。
作為本實用新型的一種改進,所述的密封翻蓋上設有電氣控制開關,所述電氣控制開關的控制電源設置在引料管上;通過電氣控制開關控制密封翻蓋的開關,實現了裝置排料的自動化,同時通過引料管上的電源對其供電,因此只有在排料操作過程中,將引料管與排泥口對接,密封翻蓋才能進行打開操作,保證了裝置的穩定性,防止因為電氣故障導致密封翻蓋提前打開的情況。
作為本實用新型的一種改進,所述的分離層的底部設有污水排水口,所述的收料層的底部設有人工操作口;通過污水排水口排出隔板上分離的污水,污水和污泥通過不同的方式進行收集,收料方便,通過人工操作口方便操作人員進入裝置內部,方便檢修。
本實用新型的優點在于:本實用新型的旋轉分離斗的濾水篩網設置在底部,同時通過固定軸與旋轉分離斗的組合作用,解決了污泥在離心分離過程中堵塞篩網孔的問題;同時在分離操作完成后,通過分離層和引料管分別收集污水和污泥,操作簡單方便,在重力和離心力的作用下,旋轉分離斗中多余的物料可以全部排出,方便裝置后續的清理工作,大大提高了裝置的生產和維護成本,實用效果好。







