申請日2014.10.22
公開(公告)日2015.03.04
IPC分類號C02F103/16; C02F9/04
摘要
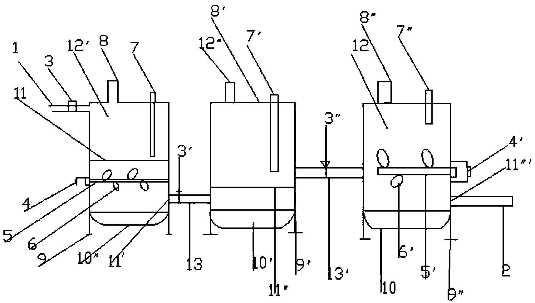
本實用新型公開了一種稀土廢水回收處理裝置,包括進液口、出液口、閥門、電機、轉軸、攪拌葉、浮標、中和液入口、支架、回收槽、濾網、處理槽和連接管,所述閥門安裝在進液口與處理槽的接口位置,所述轉軸通過齒輪連接在電機上,所述攪拌葉交錯焊接在轉軸上,所述左邊轉軸位于兩個濾網之間,電機位于處理槽的中部,所述左邊處理槽濾網安裝在處理槽的中上部,中間處理槽中濾網安裝在連接管進液口的上部,所述中和液入口安裝在處理槽的頂端。該稀土廢水回收處理裝置結構簡單,操作方便解決了放射性物質的中和沉淀和懸浮物的沉降問題的同時進一步保證了操作工人的安全。
權利要求書
1.一種稀土廢水回收處理裝置,包括進液口、出液口、閥門、電機、轉軸、攪拌葉、浮標、中和液入口、支架、回收槽、濾網、處理槽和連接管,其特征在于:所述閥門安裝在進液口與處理槽的接口位置,另外兩個閥門分別安裝在兩個連接管中部,所述轉軸通過齒輪連接在電機上,所述攪拌葉交錯焊接在轉軸上,所述左邊轉軸位于兩個濾網之間,電機位于處理槽的中部,所述左邊處理槽濾網安裝在處理槽的中上部,中間處理槽中濾網安裝在連接管進液口的上部,所述中和液入口安裝在處理槽的頂端,每個處理槽安裝有三個支架。
2.根據權利要求1所述的一種稀土廢水回收處理裝置,其特征在于:所述支架下方有加寬板。
3. 根據權利要求1所述的一種稀土廢水回收處理裝置,其特征在于:所述濾網為雙層濾網。
4.根據權利要求1所述的一種稀土廢水回收處理裝置,其特征在于:所述回收槽為漏斗結構。
5. 根據權利要求1所述的一種稀土廢水回收處理裝置,其特征在于:所述浮標為中空結構。
說明書
一種稀土廢水回收處理裝置
技術領域
本實用新型涉及稀土廢水處理技術領域,具體為一種稀土廢水回收處理裝置。
背景技術
稀土廢水是在稀土的冶煉過程中產生的工業廢水,稀土生產中放射性廢水的主要來源是獨居石礦的堿法分解,這種廢水組成比較復雜,放射性元素超過了國家標準,該廢水酸性高,含有的放射性元素,一旦排放到自然環境中,會造成嚴重的污染,所以需要一種廢水的回收處理裝置,將稀土廢水進行凈化,達到國家標準,為此,我們提出一種稀土廢水回收處理裝置。
實用新型內容
本實用新型的目的在于提供一種稀土廢水回收處理裝置,以解決上述背景技術中提出的問題。
為實現上述目的,本實用新型提供如下技術方案:一種稀土廢水回收處理裝置,包括進液口、出液口、閥門、電機、轉軸、攪拌葉、浮標、中和液入口、支架、回收槽、濾網、處理槽和連接管,所述閥門安裝在進液口與處理槽的接口位置,另外兩個閥門分別安裝在兩個連接管中部,所述轉軸通過齒輪連接在電機上,所述攪拌葉交錯焊接在轉軸上,所述左邊轉軸位于兩個濾網之間,電機位于處理槽的中部,所述左邊處理槽濾網安裝在處理槽的中上部,中間處理槽中濾網安裝在連接管進液口的上部,所述中和液入口安裝在處理槽的頂端,每個處理槽安裝有三個支架。
優選的,所述支架下方有加寬板。
優選的,所述濾網為雙層濾網。
優選的,所述回收槽為漏斗結構。
優選的,所述浮標為中空結構。
與現有技術相比,本實用新型的有益效果是:該稀土廢水回收裝置,裝有三個回收槽,分別對放射性物質和懸浮物進行沉淀和沉降,通過閥門控制廢水的流進與流出,浮標可以觀測水位,從而確定加入適量的中和劑,減少材料的浪費,安裝的攪拌裝置,可以使化學反應進行的更徹底,達到中和的目的,三角支架使裝置更穩定,防止意外事件的發生,多層濾網結構,阻止了沉淀物因為水流的影響而流向下一級處理裝置,該裝置結構簡單,操作方便解決了放射性物質的中和沉淀和懸浮物的沉降問題的同時進一步保證了操作工人的安全。







