申請日2014.10.21
公開(公告)日2015.04.22
IPC分類號B01D21/24; B01D21/02
摘要
本實用新型公開了一種防翻泥的污水沉淀裝置,包括沉淀容器和進水管,進水管豎向安裝在沉淀容器內,所述進水管的下端設置有用于封堵進水管的盲板,所述進水管下端的側壁上開設有多個出水孔,所述出水孔位于盲板上方。本實用新型能夠改變進入沉淀容器的污水的流向,減緩污水的沖擊力,避免將沉淀容器底部的污泥沖起與上層清液二次混合導致翻泥。
權利要求書
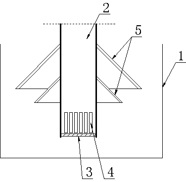
1.一種防翻泥的污水沉淀裝置,包括沉淀容器(1)和進水管(2),進水管(2)豎向安裝在沉淀容器(1)內,其特征在于:所述進水管(2)的下端設置有用于封堵進水管(2)的盲板(3),所述進水管(2)下端的側壁上開設有多個出水孔(4),所述出水孔(4)位于盲板(3)上方。
2.如權利要求1所述的一種防翻泥的污水沉淀裝置,其特征在于:所述進水管(2)的外壁上設置有擋泥板(5),所述擋泥板(5)固定設置在出水孔(4)上方。
3.如權利要求2所述的一種防翻泥的污水沉淀裝置,其特征在于:所述擋泥板(5)為錐筒形結構,錐筒形擋泥板(5)的小口徑端固定在進水管(2)上,大口徑端的朝向向下。
4.如權利要求2所述的一種防翻泥的污水沉淀裝置,其特征在于:所述擋泥板(5)的數量為二塊,且上部擋泥板(5)的外徑大于下部擋泥板(5)的外徑。
5.如權利要求1所述的一種防翻泥的污水沉淀裝置,其特征在于:所述盲板(3)上設置有多個孔徑為2—3mm的通孔(6)。
6.如權利要求1所述的一種防翻泥的污水沉淀裝置,其特征在于:所述出水孔(4)為條形、圓形或三角形。
說明書
一種防翻泥的污水沉淀裝置
技術領域
本實用新型涉及污水處理設備,具體地說涉及一種防翻泥的污水沉淀裝置。
背景技術
長久以來,工業污水一直是制約工業快速發展的問題之一,所以,如何對工業污水進行科學合理的治理,回收水資源,變廢為寶,一直是國內外專家努力的課題。目前,常使用沉淀容器來沉淀污水,在實際使用過程中,污泥沉淀在沉淀容器底部,沉淀后的清水經沉淀容器上部的出水口排出。如中國專利號“201120458425.9公開了一種污水處理沉淀池,其公開日為2012年07月11日,其技術方案為所述沉淀池包括污水處理沉淀池主體,沉淀池底部為漏斗狀泥池,沉淀池主體側壁上部設有進水口和出水口,所述漏斗狀泥池下部有排泥口,所述沉淀池主體下部設有格柵,所述出水口設有過濾層。但在實際使用過程中,由于污水進水口設置在沉淀容器上部,而污水的流動速度較快,這就導致進入沉淀容器后的污水會對沉淀容器內已沉淀好的污泥產生沖擊,從而造成沉淀容器內下層污泥向上翻滾,上層清液再次出現混濁的問題,最終使得沉淀失效。
實用新型內容
本實用新型的目的在于解決現有技術中存在的上述問題,提供一種防翻泥的污水沉淀裝置,本實用新型能夠改變進入沉淀容器的污水的流向,減緩污水的沖擊力,避免將沉淀容器底部的污泥沖起與上層清液二次混合導致翻泥。
為實現上述目的,本實用新型采用的技術方案如下:
一種防翻泥的污水沉淀裝置,包括沉淀容器和進水管,進水管豎向安裝在沉淀容器內,其特征在于:所述進水管的下端設置有用于封堵進水管的盲板,所述進水管下端的側壁上開設有多個出水孔,所述出水孔位于盲板上方。
所述進水管的外壁上設置有擋泥板,所述擋泥板固定設置在出水孔上方。
所述擋泥板為錐筒形結構,錐筒形擋泥板的小口徑端固定在進水管上,大口徑端的朝向向下。
所述擋泥板的數量為二塊,且上部擋泥板的外徑大于下部擋泥板的外徑。
所述盲板上設置有多個孔徑為2—3mm的通孔。
所述出水孔為條形、圓形或三角形。
本實用新型的實施原理為:污水從進水管上端進入后,沿進水管豎直落下,在盲板的阻擋下,污水改變流向,從進水管側壁的出水孔流出,流出的污水在雙層擋泥板的抑制下平穩沉淀,使污泥落入沉淀容器底部。由于盲板能夠改變污水流動方向并減小水流波動,擋泥板能夠進一步降低水流波動,因此整個沉淀裝置能夠避免將沉淀容器底部的污泥沖起與上層清液二次混合導致翻泥,有利于提高沉淀效果和節約沉淀時間。其中,細小顆粒的污泥從盲板上的通孔徑直落入沉淀容器底部,大顆粒污泥隨污水從出水孔流出。
采用本實用新型的優點在于:
一、本實用新型中,設置在進水管下端的盲板具有阻擋作用,在盲板的阻擋作用下,豎直流入的污水發生變流,再經過進水管側壁的出水孔流出,這樣,通過盲板與出水孔的配合,不僅改變了進入沉淀容器的污水的流向,還減緩了污水的沖擊力,能夠避免污水直接沖擊沉淀容器底部已沉淀好的污泥,進而能夠避免將沉淀容器底部的污泥沖起與上層清液二次混合導致翻泥,有利于減少沉淀時間和提高沉淀效果。
二、本實用新型中,在實際沉淀過程中,由于從出水孔流出的污水仍然具有一定的流速和沖擊力,因此通過擋泥板不僅能夠降低從出水孔流出的污水的波動,還能夠阻擋沉淀容器底部的污泥上沖,從而使污水平穩沉淀。
三、本實用新型中,所述擋泥板為錐筒形結構,且錐筒形擋泥板的大口徑端朝向向下,該結構能夠降低從出水孔流出的污水的波動,使整個沉淀過程的波動更小。
四、本實用新型中,所述擋泥板的數量為二塊,且上部擋泥板的外徑大于下部擋泥板的外徑,該結構能夠進一步降低因污水進入而引起的波動,有利于提高污水的沉淀效果和節約沉淀時間。
五、本實用新型中,所述盲板上設置有多個孔徑為2—3mm的通孔,該結構能夠排出小顆粒污泥,避免污水中的泥漿堆積在進水管底部,同時又能使大顆粒污泥隨污水從出水孔排出,有利于提高污水的沉淀速度。
六、本實用新型中,所述出水孔可以設置為條形、圓形或三角形,出水孔的開設方式多種多樣,具有結構簡單、制作方便和成本低廉的優點。







