申請日2014.10.21
公開(公告)日2015.03.25
IPC分類號C02F9/08; C02F1/32; C02F9/06
摘要
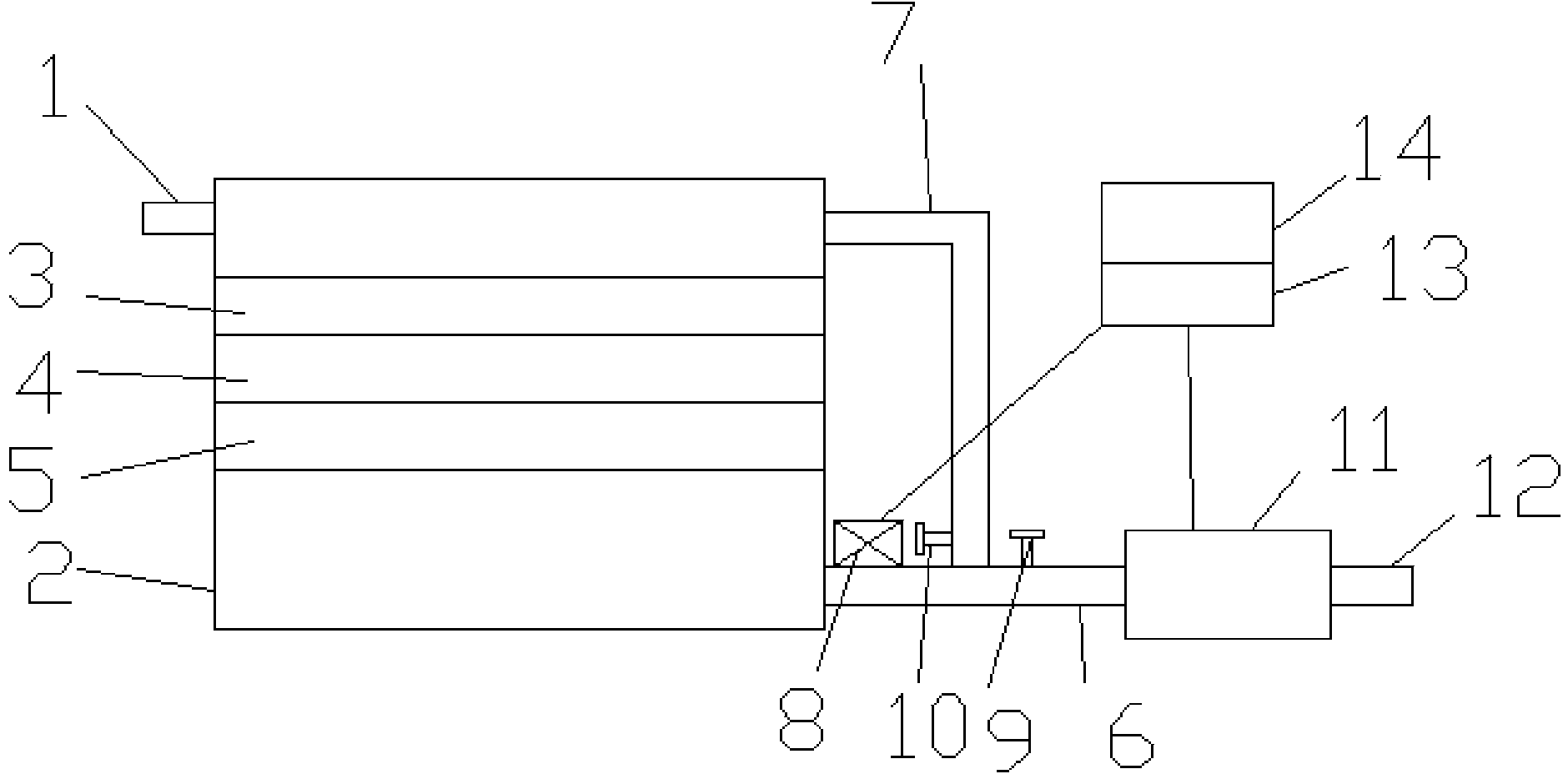
本發明涉及一種節能型海水凈化設備,包括進水管(1)、凈化容器(2),凈化容器(2)內從上到下依次設置混凝沉淀層(3)、過濾層(4)、消毒層(5),凈化容器(2)下端通過連接管(6)連接電解室(11),連接管(6)與電解室(11)連接處設置有第一閥門(9),解室(11)連接排水管(12),連接管(6)上貫通連接循環管(7),循環管(7)另一端與凈化容器(2)上端貫通連接,電解室(11)依次連接蓄電池組(13)、太陽能組件(14),本發明能有效,方便的處理污水,大大提高的污水處理的效果,而且節約了海水凈化、淡化的成本。
權利要求書
1.一種節能型海水凈化設備,其特征在于:包括進水管(1)、凈化容器(2),凈化容器(2)內從上到下依次設置混凝沉淀層(3)、過濾層(4)、消毒層(5),凈化容器(2)下端通過連接管(6)連接電解室(11),連接管(6)與電解室(11)連接處設置有第一閥門(9),解室(11)連接排水管(12),連接管(6)上貫通連接循環管(7),循環管(7)另一端與凈化容器(2)上端貫通連接,電解室(11)依次連接蓄電池組(13)、太陽能組件(14)。
2. 按照權利要求1所述的節能型海水凈化設備,其特征在于:還包括水泵(8),水泵(8)設置在凈化容器(2)與連接管(6)的連接處,水泵(8)與蓄電池組(13)連接。
3. 按照權利要求1所述的節能型海水凈化設備,其特征在于:還包括第二閥門(10),第二閥門(10)設置在循環管(7)上。
4. 按照權利要求1所述的節能型海水凈化設備,其特征在于:所述凈化容器(2)下端設置紫外線管。
5. 按照權利要求4所述的節能型海水凈化設備,其特征在于:所述紫外線管至少為一根,且紫外線管均勻布置在凈化容器(2)下端內。
6. 按照權利要求1所述的節能型海水凈化設備,其特征在于:所述混凝沉淀層(3)構成組分含有聚合氯化鋁。
7. 按照權利要求1所述的節能型海水凈化設備,其特征在于:所述過濾層(4)為雙層聚酰胺反滲透過濾層。
8. 按照權利要求1所述的節能型海水凈化設備,其特征在于:所述太陽能組件(14)為光伏組件。
9. 按照權利要求1所述的節能型海水凈化設備,其特征在于:所述凈化容器(2)由不銹鋼材料制成。
說明書
節能型海水凈化設備
技術領域
本發明涉及一種節能型海水凈化設備,屬于水處理技術領域。
背景技術
海水是流動的,對于人類來說,可用水量是不受限制的。海水是名符其實的液體礦藏,平均每立方公里的海水中有3570萬噸的礦物質,世界上已知的100多種元素中,80%可以在海水中找到。海水還是陸地上淡水的來源和氣候的調節器,世界海洋每年蒸發的淡水有450萬立方公里,其中90%通過降雨返回海洋,10%變為雨雪落在大地上,然后順河流又返回海洋。海水淡化技術正在發展成為產業。有人預計,隨著生態環境的惡化,人類解決水荒的最后途徑很可能是對海水的淡化。
海水是一種非常復雜的多組分水溶液。海水中各種元素都以一定的物理化學形態存在。在海水中銅的存在形式較為復雜,大部分是有機絡合物形式存在的。在自由離子中僅有一小部分以二價正離子形式存在大部分都是以負離子絡合物出現。所以自由銅離子僅占全部溶解銅的一小部分。海水中有含量極為豐富的鈉,但其化學行為非常簡單,它幾乎全部以Na+離子形式存在。
海水中含有大量鹽類和多種元素,其中許多元素是人體所需要的。但海水中各種物質濃度太高,遠遠超過飲用水衛生標準,如果大量飲用,會導致某些元素過量進入人體,影響人體正常的生理功能,還會導致人體脫水,嚴重的還會引起中毒。
世界上淡水資源短缺,很多國家處于嚴重缺水的狀態,為了人類的生產、生活,將海水淡化、凈化,供人類使用,提供生存水源,是人類生存的需要。而且當人們出海時,船上的淡水用光之后,人們就會處于沒有淡水供求的困境,人們過度缺水就會產生生命危險,而海水又不能直接飲用,需要凈化、淡化后才能飲用。海水淡化主要是為了提供飲用水和農業用水,有時食用鹽也會作為副產品被生產出來。海水淡化在中東地區很流行,在某些島嶼和船只上也被使用。因此海水凈化淡化技術在當今社會的應用越來越廣泛。由于地球上的污水、廢渣、廢油和化學物質源源不斷地流入大海,對海水淡化前還要對海水進行凈化處理。
海水中存在大量微生物、細菌和藻類。海水中細菌、藻類的繁殖和微生物的生長不僅會給取水設施帶來許多麻煩,而且會直接影響海水淡化設備及工藝管道的正常運轉。周期性漲潮、退潮,海水中夾帶大量泥沙,濁度變化較大,易造成海水預處理系統運轉不穩定。海水具有較大腐蝕性,對系統中所采用的設備、閥門、管道件的材質要作一定篩選,耐腐性能要好。
海水淡化處理技術是指將35000mg/L的海水淡化至500mg/L以下的飲用水。目前,世界上裝機應用的東麗海水淡化膜方法主要有多級閃蒸(MSF)、多效蒸發(MED)和反滲透法(RO),半個世紀以來己養活了世界上1億多的人口,促進了干旱沙漠地區和發達國家沿海經濟和社會發展。
海水由于其含鹽量非常高,而不能被直接使用,主要采用兩種方法淡化海水,即蒸餾法和反滲透法。蒸餾法主要被用于特大型海水淡化處理上及熱能豐富的地方。反滲透膜法適用面非常的廣,且脫鹽率很高,因此被廣泛使用。反滲透膜法首先是將海水提取上來,進行初步處理,降低海水濁度,防止細菌、藻類等微生物的生長,然后用特種高壓泵增壓,使海水進入反滲透膜,由于海水含鹽量高,因此海水反滲透膜必須具有高脫鹽率,耐腐蝕、耐高壓、抗污染等特點,經過反滲透膜處理后的海水,其含鹽量大大降低,TDS含量從36000毫克/升降至200毫克/升左右。淡化后的水質甚至優于自來水,這樣就可供工業、商業、居民及船舶、艦艇使用。
目前全球海水淡化技術超過20 余種,包括反滲透法、低多效、多級閃蒸、電滲析法、壓汽蒸餾、露點蒸發法、水電聯產、熱膜聯產以及利用核能、太陽能、風能、潮汐能海水淡化技術等等,以及微濾、超濾、納濾等多項預處理和后處理工藝。
從大的分類來看,主要分為蒸餾法(熱法)和膜法兩大類,其中低多效蒸餾法、多級閃蒸法和反滲透膜法是全球主流技術。一般而言,低多效具有節能、海水預處理要求低、淡化水品質高等優點;反滲透膜法具有投資低、能耗低等優點,但海水預處理要求高;多級閃蒸法具有技術成熟、運行可靠、裝置產量大等優點,但能耗偏高。一般認為,低多效蒸餾法和反滲透膜法是未來方向。
中國實用新型專利說明書CN 202144462 U公開這樣一種海水凈化器。該海水凈化器包括密閉箱體,所述密閉箱體頂部設有進水口,所述密閉箱體側壁底部設有出水口,所述密閉箱體上設有加壓泵,加壓泵具有兩個氣壓口,所述的兩個氣壓口分別與密閉箱體相連通,密閉箱體內設有雙層聚酰胺反滲透過濾膜,雙層聚酰胺反滲透過濾膜的邊緣密封固定在密閉箱體的側壁上,該實用新型可有效節約能源,無需經常更換反滲透膜,有效降低了工作成本。但是這種水凈化處理裝置結構較為簡單,海水凈化、淡化效果不好。
中國發明專利說明書CN 102515342 U公開這樣一種海水凈化設備。該海水凈化設備包括蠕動泵、進水孔、進水管、生物濾器體、有機玻璃板、出水孔及出水管;利用生物脫氮原理選取孔石莼填充裝置通過不同控制條件下對水質進行凈化處理,與傳統的生物脫氮除磷工藝相比,能夠處理含鹽廢水,不需外加碳源,廢水處理成本低,實現了廢水中的N、P污染物的資源化,具有十分廣闊的市場前景。但是這種水凈化處理裝置結構較為簡單,海水凈化、淡化效果不好。
發明內容
本發明要解決的技術問題是提供一種節能型海水凈化設備,該節能型海水凈化設備能有效,方便的處理污水,大大提高的污水處理的效果,而且節約了海水凈化、淡化的成本。
為了解決上述技術問題,本發明的節能型海水凈化設備包括進水管、凈化容器,凈化容器內從上到下依次設置混凝沉淀層、過濾層、消毒層,凈化容器下端通過連接管連接電解室,連接管與電解室連接處設置有第一閥門,解室連接排水管,連接管上貫通連接循環管,循環管另一端與凈化容器上端貫通連接,電解室依次連接蓄電池組、太陽能組件。
所述節能型海水凈化設備還包括水泵,水泵設置在凈化容器與連接管的連接處,水泵與蓄電池組連接。
所述節能型海水凈化設備還包括第二閥門,第二閥門設置在循環管上。
所述凈化容器下端設置紫外線管。
所述紫外線管至少為一根,且紫外線管均勻布置在凈化容器下端內。
所述混凝沉淀層構成組分含有聚合氯化鋁。
所述過濾層為雙層聚酰胺反滲透過濾層。
所述太陽能組件為光伏組件。
所述凈化容器由不銹鋼材料制成。
采用這種節能型海水凈化設備,由于凈化容器內從上到下依次設置混凝沉淀層、過濾層、消毒層,凈化容器下端通過連接管連接電解室,這樣海水可以進行有效的過濾、消毒、再進行淡化處理,這種結構凈化、淡化效果比較好;由于連接管上貫通連接循環管,循環管另一端與凈化容器上端貫通連接,可以對海水進行多次循環處理以達到更好的效果;由于電解室依次連接蓄電池組、太陽能組件,這樣可以利用太陽能,節約資源,降低了凈化的成本;由于凈化容器下端設置紫外線管,可以對海水進行紫外線殺菌處理;又由于過濾層為雙層聚酰胺反滲透過濾層,采用這種結構,海水的凈化、淡化效果很好。







