申請日2013.08.27
公開(公告)日2014.02.12
IPC分類號E03F5/10; E03F3/02; E03F5/22
摘要
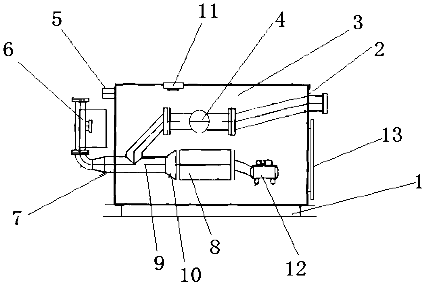
地下室污水提升設備,包括:底座,儲水箱,進水管,出水管,所述進水管置于儲水箱中,所述儲水箱置于底座上,進水管上設有進口單向閥,所述出水管置于儲水箱外,出水管上設有出口單向閥,所述進水管與出水管在儲水箱內匯成一總管,總管一端與出水管連接,另一端通過喇叭形擴大管與固液分離器相連,所述固液分離器連接一潛污泵。進一步的,所述儲水箱上端還設有一沖洗裝置。進一步的,所述出水管與進水管管口端均采用法蘭連接。進一步的,所述儲水箱外壁設有液位計。進一步的,所述底座采用工字形。與現有技術相比,本實用新型結構簡單緊湊,操作方便,臭氣散發很少,環保衛生。
權利要求書
1.地下室污水提升設備,包括:底座,儲水箱,進水管,出水管,所述進水管置于儲水箱中,所述儲水箱置于底座上,其特征在于:進水管上設有進口單向閥,所述出水管置于儲水箱外,出水管上設有出口單向閥,所述進水管與出水管在儲水箱內匯成一總管,總管一端與出水管連接,另一端通過喇叭形擴大管與固液分離器相連,所述固液分離器連接一潛污泵。
2.根據權利要求1所述的地下室污水提升設備,其特征在于:所述儲水箱上端還設有一沖洗裝置。
3.根據權利要求1所述的地下室污水提升設備,其特征在于:所述出水管與進水管管口端均采用法蘭連接。
4.根據權利要求1所述的地下室污水提升設備,其特征在于:所述儲水箱外壁設有液位計。
5.根據權利要求1所述的地下室污水提升設備,其特征在于:所述底座采用工字形。
說明書
地下室污水提升設備
技術領域
本實用新型涉及污水提升設備,具體為地下室污水提升設備。
背景技術
目前地下室污水和廢水的排放,通常的做法是在地下室地面設一個集水坑,將衛生潔具的污水收集到一起后,用潛水泵提升排至室外地下式污水泵井,或將衛生間的污水自流排入室外地下式污水泵井,再用潛污泵提升排入泵井附近的污水檢查井;這些通常做法存在弊病有:1污水中有糞便等固體物質,長期不清理,易引起堵塞,不易清掏;2、由于集水坑較淺,根據水位啟、停的潛污泵運行不太可靠;3、集水坑的密閉性不好,有氣味,衛生狀況差;4、在室外建泵井,深度較深,投資較大,管理也不方便。
實用新型內容
本實用新型所解決的技術問題在于提供一種地下室污水提升設備,以解決上述背景技術中的問題。
本實用新型所解決的技術問題采用以下技術方案來實現:
地下室污水提升設備,包括:底座,儲水箱,進水管,出水管,所述進水管置于儲水箱中,所述儲水箱置于底座上,進水管上設有進口單向閥,所述出水管置于儲水箱外,出水管上設有出口單向閥,所述進水管與出水管7在儲水箱內匯成一總管,總管一端與出水管連接,另一端通過喇叭形擴大管與固液分離器相連,所述固液分離器連接一潛污泵。
進一步的,所述儲水箱上端還設有一沖洗裝置。
進一步的,所述出水管與進水管管口端均采用法蘭連接。
進一步的,所述儲水箱外壁設有液位計。
進一步的,所述底座采用工字形。
與現有技術相比,本實用新型結構簡單緊湊,操作方便,臭氣散發很少,環保衛生。







