公開(公告)日2015.02.04
IPC分類號B01D29/50; C02F9/02
摘要
本實用新型公開了一種漂浮式污水處理器,包括內部中空的芯軸、輪盤,輪盤上設置有一組進水口,所述輪盤內位于進水口處設置有凈化裝置;所述芯軸內設置有水泵和出水口,所述輪盤與水泵問設置有一組集流管。本實用新型通過在輪盤內設置密閉漂浮區,使得污水處理器不受場地限制可自由移動,特別合適對于距離岸邊較遠的湖泊或河流中心地帶去進行污水處理。通過在輪盤上設置有一組進水口,在芯軸內設置水泵和出水口,將進水口的高度低于出水口設置,此種結構使得凈化后的水噴射進水面形成一張保護網,使污染水域控制在一定范圍內,防止水體污染加劇。同時提高水體含氧量,改善周圍周邊水質。
權利要求書
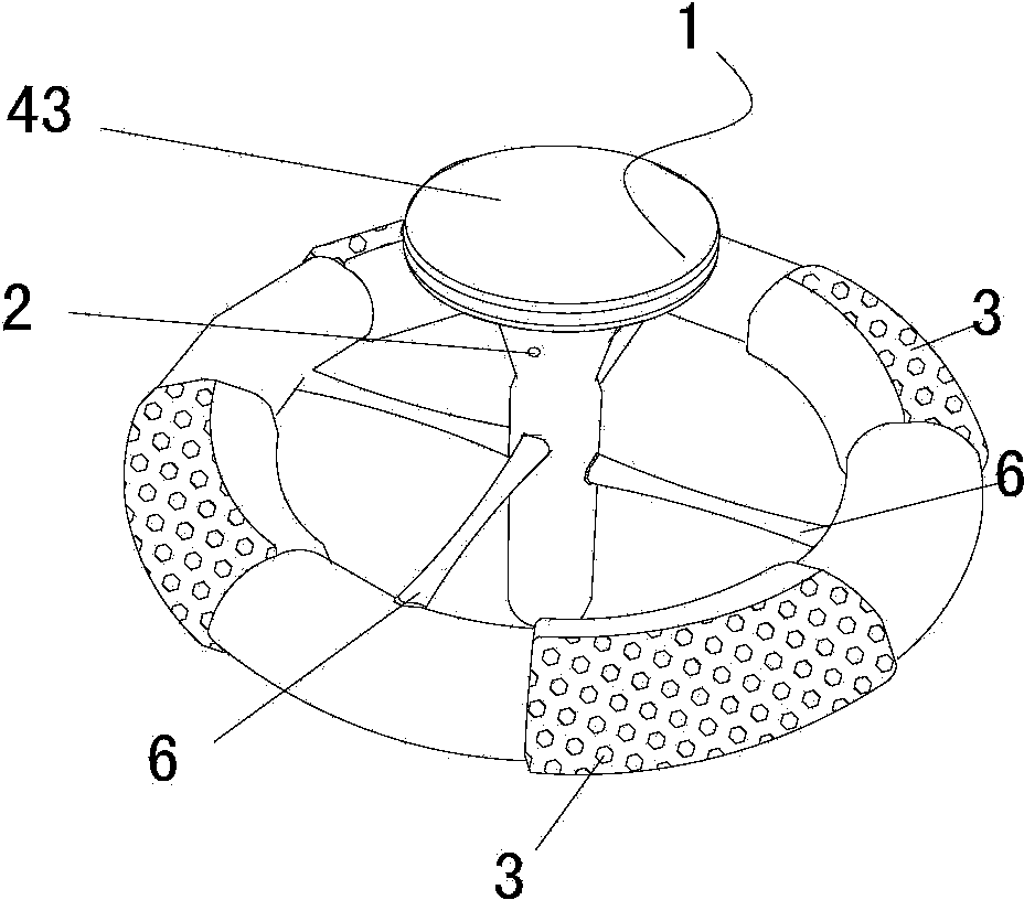
1.一種漂浮式污水處理器,其特征在于:包括內部中空的芯軸(1),輪 盤(3),輪盤(3)上設置有一組進水口(31),所述輪盤(3)內位于進水口 (31)處設置有凈化裝置(5);所述芯軸(1)內設置有水泵(11)和出水口 (12),所述輪盤(3)與水泵(11)間設置有一組集流管(4)。
2.如權利要求1所述的漂浮式污水處理器,其特征在于:所述輪盤(3) 內還設置有密閉漂浮區(32)。
3.如權利要求1所述的漂浮式污水處理器,其特征在于:所述凈化裝置 (5)設置有三層,包括設置在外層的過濾網(51),設置在中間層的濾膜(52) 和設置在內層的活性炭(53),所述過濾網(51)覆蓋整個進水口(31)。
4.如權利要求1至3任意一項所述的漂浮式污水處理器,其特征在于: 所述芯軸(1)的頂端還設置有太陽能板(6),在芯軸(1)的內部設置有電 池組(13),所述電池組(13)與水泵(11)連接。
5.如權利要求1所述的漂浮式污水處理器,其特征在于:所述進水口(31) 的高度低于出水口(12)。
說明書
一種漂浮式污水處理器
技術領域
本實用新型涉及一種污水處理裝置,尤其是涉及一種漂浮式污水處理器。
背景技術
如今的河流、水域污染加重,嚴重的危及到居民的生活與健康。現階段 河流、水域污染主要是通過單一過濾、截污打撈等物理方法,但此種技術很 難實現水質含氧量的大幅提升。且選址受到限制,處理范圍只能是以岸邊處 理站為圓心一定半徑的范圍內,超過這個范圍需要再設置新的處理站,投資 成本較高。特別是不能到距離岸邊較遠的湖泊或河流中心地帶去進行污水處 理。固定設置在其周邊水質好轉后產生閑置,容易造成資源浪費。
實用新型內容
本實用新型的目的是提供一種漂浮式污水處理器,解決現有污水處理器 受場地限制不可移動,建設成本較高的問題。
本實用新型解決其技術問題所采用的技術方案是:一種漂浮式污水處理 器,包括內部中空的芯軸、輪盤,輪盤上設置有一組進水口,所述輪盤內位 于進水口處設置有凈化裝置;所述芯軸內設置有水泵和出水口,所述輪盤與 水泵間設置有一組集流管。
進一步的,所述凈化裝置設置有三層,包括設置在外層的過濾網,設置在 中間層的濾膜和設置在內層的活性炭,所述過濾網覆蓋整個進水口。
為了使得污水處理器不受場地限制可自由移動,所述輪盤內還設置有密閉 漂浮區。
為了提高污水處理器續航能力,所述芯軸的頂端還設置有太陽能板,在芯 軸的內部設置有電池組,所述電池組與水泵連接。
為了使凈化后的水噴射進水面,所述進水口的高度要低于出水口。
本實用新型的有益效果:通過在輪盤內設置密閉漂浮區,使得污水處理 器不受場地限制可自由移動,特別合適對于距離岸邊較遠的湖泊或河流中心 地帶去進行污水處理。并且通過在芯軸頂端設置太陽能板,使得污水處理器 續航能力得到提高,降低了維護成本。減少不可再生能源消耗,保護生態環 境。通過在輪盤上設置有一組進水口,在芯軸內設置水泵和出水口,將進水 口的高度低于出水口設置,此種結構使得凈化后的水噴射進水面形成一張保 護網,使污染水域控制在一定范圍內,防止水體污染加劇。同時提高水體含 氧量,改善周圍周邊水質。
以下將結合附圖和實施例,對本實用新型進行較為詳細的說明。







