申請日2014.11.03
公開(公告)日2015.02.11
IPC分類號C02F1/50; C02F1/00
摘要
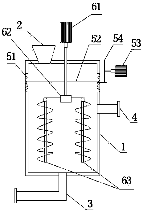
本實用新型提供了一種醫院污水處理加藥裝置,包括罐體、粉末分散組件以及攪拌組件,所述罐體的頂部設置有加藥料斗,底部設置有出液管,側面設置有進水管,所述粉末分散組件包括由兩組彈簧連接并固定在罐體內的篩網、第一電機以及凸輪,所述凸輪與所述第一電機的輸出軸連接,所述凸輪的邊緣與所述篩網接觸,所述攪拌組件包括第二電機、傳動裝置以及兩個螺旋攪拌器,所述第二電機設置在所述罐體的頂部,所述傳動裝置與所述第二電機連接,兩個所述螺旋攪拌器分別與所述傳動裝置連接,兩個所述螺旋攪拌器設置在所述罐體內并位于所述篩網下方。本實用新型中的醫院污水處理加藥裝置混合效率高、藥品不易發生結團,而且藥品與水能夠混合均勻。
權利要求書
1.一種醫院污水處理加藥裝置,包括罐體,所述罐體的頂部設置有加藥料斗,底部設置有出液管,側面設置有進水管,其特征在于:其還包括粉末分散組件以及攪拌組件;所述粉末分散組件包括由兩組彈簧連接并固定在罐體內的篩網、第一電機以及凸輪,所述凸輪與所述第一電機的輸出軸連接,所述凸輪的邊緣與所述篩網接觸;所述攪拌組件包括第二電機、傳動裝置以及兩個螺旋攪拌器,所述第二電機設置在所述罐體的頂部,所述傳動裝置與所述第二電機連接,兩個所述螺旋攪拌器分別與所述傳動裝置連接,兩個所述螺旋攪拌器設置在所述罐體內并位于所述篩網下方。
2.根據權利要求1所述的醫院污水處理加藥裝置,其特征在于:所述傳動裝置包括分配箱、兩根傳動桿以及兩個傳動頭,所述分配箱與所述第二電機連接,所述傳動桿的一端與所述分配箱連接,另一端與所述傳動頭連接,兩個所述螺旋攪拌器分別與兩個所述傳動頭連接。
3.根據權利要求1所述的醫院污水處理加藥裝置,其特征在于:所述篩網包括篩網本體以及設置在所述篩網本體上的連接件,兩組所述彈簧分別與所述連接件連接,所述凸輪的邊緣與所述連接件接觸。
4.根據權利要求1所述的醫院污水處理加藥裝置,其特征在于:所述篩網為80目篩。
5.根據權利要求1所述的醫院污水處理加藥裝置,其特征在于:所述進水管設置在所述篩網的下方。
說明書
一種醫院污水處理加藥裝置
技術領域
本實用新型涉及醫院污水處理領域,具體將是一種醫院污水處理加藥裝置。
背景技術
醫院污水中,不同程度地含有多種病毒、病菌、寄生蟲卵和一些有毒、有害物質。如果不經過消毒,這些病毒、病菌和寄生蟲卵在環境中將成為一個集中的污染源,引起多種疾病的發生和蔓延,嚴重危脅人類的身體健康。通過流行病學調查和細菌學檢驗證明,國內外歷次大規模的傳染病爆發流行,幾乎與飲用或接觸被污染的水有關。因此,醫院污水的消毒是醫院污水處理中的關鍵的一步。目前各醫院消毒常用漂白粉,漂白粉可以用水溶解后投加,因此就需要一個專門的快速溶解加藥裝置。
有鑒于此,中國專利201420016052.3公開了一種一種污水處理系統加藥箱,包括箱體,所述的箱體上設置有清水管、出水管、加藥口和攪拌裝置,所述的清水管、加藥口和攪拌裝置均設置于箱體頂部,所述的出水管設置于箱體的邊。該裝置能夠準確的控制加藥量。但是它存在以下問題:1.混合效率低;2.藥品易發生結團,使得混合不均勻。
實用新型內容
本實用新型要解決的問題是提供一種混合效率高、藥品不易發生結團、混合均勻的醫院污水處理加藥裝置。
為了解決上述技術問題,本實用新型采用的技術方案是:一種醫院污水處理加藥裝置,包括罐體,所述罐體的頂部設置有加藥料斗,底部設置有出液管,側面設置有進水管,其特征在于:其還包括粉末分散組件以及攪拌組件;所述粉末分散組件包括由兩組彈簧連接并固定在罐體內的篩網、第一電機以及凸輪,所述凸輪與所述第一電機的輸出軸連接,所述凸輪的邊緣與所述篩網接觸;所述攪拌組件包括第二電機、傳動裝置以及兩個螺旋攪拌器,所述第二電機設置在所述罐體的頂部,所述傳動裝置與所述第二電機連接,兩個所述螺旋攪拌器分別與所述傳動裝置連接,兩個所述螺旋攪拌器設置在所述罐體內并位于所述篩網下方。
優選地,上述的醫院污水處理加藥裝置,其中所述傳動裝置包括分配箱、兩根傳動桿以及兩個傳動頭,所述分配箱與所述第二電機連接,所述傳動桿的一端與所述分配箱連接,另一端與所述傳動頭連接,兩個所述螺旋攪拌器分別與兩個所述傳動頭連接。
優選地,上述的醫院污水處理加藥裝置,其中所述篩網包括篩網本體以及設置在所述篩網本體上的連接件,兩組所述彈簧分別與所述連接件連接,所述凸輪的邊緣與所述連接件接觸。
優選地,上述的醫院污水處理加藥裝置,其中所述篩網為80目篩。
優選地,上述的醫院污水處理加藥裝置,其中所述進水管設置在所述篩網的下方。
本實用新型的技術效果主要體現在:第一電機帶動凸輪旋轉,使得篩網上下振動,從加藥料斗中落到篩網上的藥品與篩網碰撞后,均勻、分散、連續地通過篩網,達到了均勻、分散地撒布藥品的目的,防止藥品結團現象的發生,也提高了混合效率;第二電機通過傳動裝置帶動兩個螺旋攪拌器旋轉,使得藥品與水快速均勻混合,進一步提高了混合效率。




