申請日2013.08.20
公開(公告)日2014.03.12
IPC分類號C02F1/00
摘要
本實用新型涉及光氫催化污水深處理裝置,屬于污水處理設備技術領域。一種新型光氫催化污水深處理裝置,包括空氣過濾器,空氣過濾器上設有第一進氣口和第一出氣口,空氣過濾器一側設有風機,風機左側安裝有入口,風機一側設有光氫催化箱,光氫催化箱兩側分別安裝有第二進氣口和第二出氣口,光氫催化箱內設置有光氫燈管,光氫催化箱一側設有混合塔。本實用新型的光氫催化污水深處理裝置,可以有效降低廢水的COD指標,使處理后的廢水達到脫色的目的,且投資小、效率高。
權利要求書
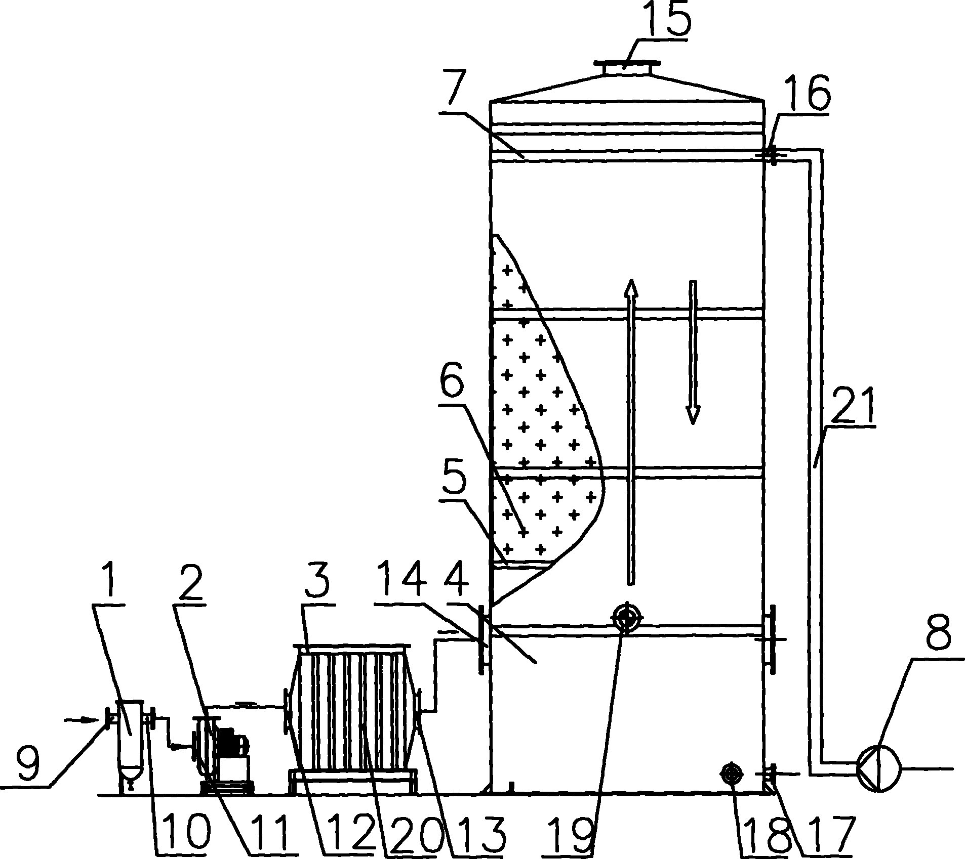
1.一種新型光氫催化污水深處理裝置,其特征在于包括空氣過濾器(1), 空氣過濾器(1)上設有第一進氣口(9)和第一出氣口(10),空氣過濾器(1) 一側設有風機(2),風機(2)左側安裝有入口(11),風機(2)一側設有光氫 催化箱(3),光氫催化箱(3)兩側分別安裝有第二進氣口(12)和第二出氣口 (13),光氫催化箱(3)內設置有光氫燈管(20),光氫催化箱(3)一側設有 混合塔(4),混合塔(4)左側設置有第三進氣口(14),混合塔(4)內安裝有 篩板(5),相鄰篩板(5)之間設有填料層(6),混合塔(4)內部上層設有布 水器(7),混合塔(4)頂端安裝有第三出氣口(15),布水器(7)一側連接有 污水入口(16),污水入口(16)通過管道(21)與上水泵(8)連接,混合塔 (4)底端設置有第一排污口(17)和第二排污口(18),混合塔(4)下部安裝 有試鏡(19)。
說明書
一種新型光氫催化污水深處理裝置
技術領域
本實用新型涉及光氫催化污水深處理裝置,屬于污水處理設備技術領域。
背景技術
光氫催化技術應用于環境處理中的空氣凈化處理,現已是成熟的技術,市場 上各種產品很多,其原理是:高能紫外線束與空氣產生反應,使空氣產生大量 的空氣負離子和羥基自由基,而空氣負離子和羥基自由基可以使有毒、有害、 高濃度污染物及大多數有機污染物有效分解,甚至徹底地轉化為無害的小分子 無機物。由于該技術具有顯著的特點和環保的優點,因此引起世界各國的重視, 并相繼開發了各種各樣的處理工藝和設備,使光氫催化技術具有很強的生命力 和競爭力。
然而,光氫催化技術應用于污水的深度處理,譬如:污水的脫色、降解COD 方面的技術報道并不多見,應用于實際生產方面的設備、裝置更是鮮見。
發明內容
本實用新型的目的在于拓展光氫催化技術的應用領域,提供一種結構設計 合理、一體化結構、投資小的、效率高的新型光氫催化污水深處理裝置。
本實用新型是通過以下技術方案實現的:
一種新型光氫催化污水深處理裝置,其特殊之處在于包括空氣過濾器1,空 氣過濾器1上設有第一進氣口9和第一出氣口10,空氣過濾器1一側設有風機 2,風機2左側安裝有入口11,風機2一側設有光氫催化箱3,光氫催化箱3兩 側分別安裝有第二進氣口12和第二出氣口13,光氫催化箱3內設置有光氫燈管 20,光氫催化箱3一側設有混合塔4,混合塔4左側設置有第三進氣口14,混 合塔4內安裝有篩板5,相鄰篩板5之間設有填料層6,混合塔4內部上層設有 布水器7,混合塔4頂端安裝有第三出氣口15,布水器7一側連接有污水入口 16,污水入口16通過管道21與上水泵8連接,混合塔4底端設置有第一排污 口17和第二排污口18,混合塔4下部安裝有試鏡19。
本實用新型的光氫催化污水深處理裝置,空氣經凈化后,進入光氫催化箱, 產生的空氣負離子、羥基自由基經混合塔的進氣口進入塔內,污水從入口進入 布水器,經填料與光氫催化產生的空氣負離子、羥基自由基均勻充分混合反應 后向下流,最后經排污口流出排放,反應后的氣體經塔頂的出氣口排出,這樣 就可以有效降低廢水的COD指標,使處理后的廢水達到脫色的目的,且投資小、 效率高。







