申請日2013.08.19
公開(公告)日2013.12.04
IPC分類號C02F11/00; C02F11/18; C02F11/12
摘要
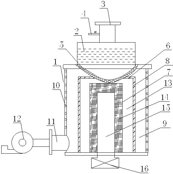
本發明公開了改進的污泥處理設備,包括殼體,殼體頂部設有污水處理箱,污水處理箱頂部設有污泥入口,污泥入口端設有進水管,污水處理箱底部設有過濾網,過濾網底部置于殼體內的過濾桶處,過濾桶由內筒和外筒構成,過濾桶口外壁與殼體內壁形成熱空氣流道,殼體內壁設有多根加熱管,殼體底部設有空氣進口,空氣進口與熱空氣流道連通。該污泥處理設備具有過濾桶,過濾雜質,同時熱空氣流道使得殼體內有源源不斷的熱源使得污泥變干,同時源源不斷的熱源能殺死污泥中的病原體、冰毒微生物,處理能力強。
權利要求書
1.改進的污泥處理設備,包括殼體,其特征在于:所述殼體頂部設有污水處理箱,所述污水處理箱頂部設有污泥入口,所述污泥入口端設有進水管,所述污水處理箱底部設有過濾網,所述過濾網底部置于殼體內的過濾桶處,所述過濾桶由內筒和外筒構成,所述過濾桶口外壁與殼體內壁形成熱空氣流道,所述殼體內壁設有多根加熱管,所述殼體底部設有空氣進口,所述空氣進口與熱空氣流道連通。
2.根據權利要求1所述的改進的污泥處理設備,其特征在于:所述空氣進口端設有氣泵。
3.根據權利要求1所述的改進的污泥處理設備,其特征在于:所述內筒和外筒之間形成污水流道,所述內筒里側設有濾芯,所述內筒里側設有過濾水出口管。
4.根據權利要求3所述的改進的污泥處理設備,其特征在于:所述過濾水出口管上安裝有安全閥門。
說明書
改進的污泥處理設備
技術領域
本發明涉及污泥處理設備,尤其涉及一種改進的污泥處理設備。
背景技術
城市污水中含有大量的污泥,一方面污泥中含有大量的有機質和營養元素,可以制磚、制生化纖維板、制陶粒等;另一方面污泥中也可能含有大量的重金屬物質、病原體、冰毒微生物和大量的毒性有機物,如不加以妥善處理和處置,將造成堆放和排放區周圍環境嚴重的二次污染。普通的污泥處理機,需要大量設置過濾板、過濾芯,才能除去雜質,但是一些病原體、冰毒微生物不能殺滅干凈。因此,需要提供一種新的技術方案來解決上述技術問題。
發明內容
本發明提供一種處理能力強的污泥處理設備。
本發明解決上述技術問題所采用的技術方案是:
改進的污泥處理設備,包括殼體,所述殼體頂部設有污水處理箱,所述污水處理箱頂部設有污泥入口,所述污泥入口端設有進水管,所述污水處理箱底部設有過濾網,所述過濾網底部置于殼體內的過濾桶處,所述過濾桶由內筒和外筒構成,所述過濾桶口外壁與殼體內壁形成熱空氣流道,所述殼體內壁設有多根加熱管,所述殼體底部設有空氣進口,所述空氣進口與熱空氣流道連通。
所述空氣進口端設有氣泵。
所述內筒和外筒之間形成污水流道,所述內筒里側設有濾芯,所述內筒里側設有過濾水出口管。
所述過濾水出口管上安裝有安全閥門。
本發明的有益效果是:該污泥處理設備具有過濾桶,過濾雜質,同時熱空氣流道使得殼體內有源源不斷的熱源使得污泥變干,同時源源不斷的熱源能殺死污泥中的病原體、冰毒微生物,處理能力強。







