公開(公告)日2015.01.14
IPC分類號C02F1/56; C02F1/52
摘要
本發明公開一種隧道施工排水處理方法及其處理裝置,處理裝置包括真空引水器、提升泵、管式混合器以及排水處理單元;所述處理方法包括(a)在施工場地建調節池、排泥排水收集池和監督池,開啟真空引水器、提升泵,將污水抽至管式混合器后,再進入排水處理單元;(b)分別向藥液溶解箱內加入凝聚劑和絮凝劑,藥液經計量泵稱重后與污水在管式混合器內混合;(c)污水通過排水處理單元后排出,進入監督池,監督池出水經檢測后,合格出水排放,不合格出水重新進入調節池;(d)沉淀流入排泥排水收集池,靜置分層后,上層清液流入調節池,沉底泥渣進行清淘填埋;本發明自動化程度高,操作簡便,出水質量穩定。
權利要求書
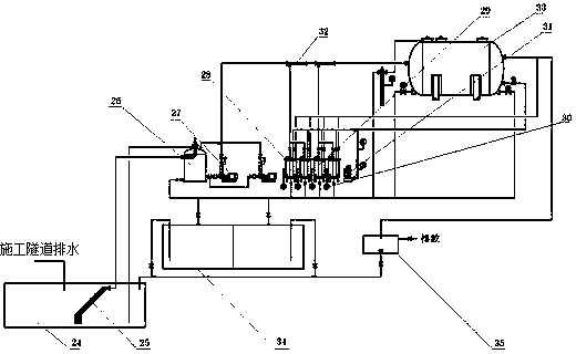
1.一種隧道施工排水處理裝置,其特征在于,所述隧道施工排水處理裝置包括依次通過管道連接的真空引水器、提升泵、管式混合器以及排水處理單元;
所述管式混合器通過管道連接有藥液投加單元,所述藥液投加單元包括羅茨風機和若干連有計量泵的藥液溶解箱;
所述排水處理單元為臥式槽罐,槽罐一端設有與管式混合器相連的進水堰,另一端設有出水堰;槽罐內通過兩個豎直分區隔板分隔為絮凝區、沉淀區和過濾區;所述絮凝區設有若干隔板和翼片隔板,隔板將絮凝區分隔為連通的第一絮凝室、第二絮凝室和第三絮凝室;所述沉淀區設有六角蜂窩斜管,六角蜂窩斜管底端與第三絮凝室相連,頂端通過沉淀出水管進水口與過濾區相連;所述過濾區設有位于出水堰下方的濾室孔板,濾室孔板上設有排水帽,沉淀出水管出水口位于濾室孔板下方,位于濾室孔板上方的濾后水由出水堰排出;排水處理單元底部設有排泥管,用于收集絮凝區、沉淀區產生的沉淀,過濾區底部設有過濾反洗排水管,過濾反洗排水管一端與排泥管相連,另一端通向槽罐外,過濾反洗排水管上設有反洗排水閥。
2.根據權利要求1所述隧道施工排水處理裝置,其特征在于,所述真空引水器前端設置有斜板除砂器。
3.根據權利要求2所述隧道施工排水處理裝置,其特征在于,所述翼片隔板與水流方向呈45°夾角。
4.根據權利要求3所述隧道施工排水處理裝置,其特征在于,所述濾室孔板上設有EPS發泡塑料濾珠。
5.根據權利要求4所述隧道施工排水處理裝置,其特征在于,所述羅茨風機、計量泵、藥液溶解箱、真空引水器和提升泵共用一橇裝式機座。
6.根據權利要求5所述隧道施工排水處理裝置,其特征在于,所述第一絮凝室、第二絮凝室和第三絮凝室容積比為1:2:4。
7.一種采用如權利要求1-6之一所述隧道施工排水處理裝置進行隧道施工排水處理的方法,其特征在于,包括以下步驟:
(a)在施工場地建調節池、排泥排水收集池和監督池,調節池用于收集隧道施工排放的污水,開啟真空引水器和提升泵,通過管道將污水由調節池依次引入管式混合器和排水處理單元;
(b)分別向藥液溶解箱內加入凝聚劑和絮凝劑,開啟計量泵和羅茨風機,利用壓縮空氣攪拌溶藥,藥液經計量泵稱重后與污水在管式混合器內混合;
(c)與藥液混合后的污水由進水堰流入排水處理單元,依次通過第一絮凝室、第二絮凝室和第三絮凝室后經六角蜂窩斜管沉淀后進入過濾區,經濾室孔板過濾后由出水堰排出,出水流入監督池,監督池內出水經檢測后,合格出水排放,不合格出水重新引入調節池;
(d)打開反洗排水閥,濾室孔板上方的濾后水垂直通過濾室孔板后與排泥管內的沉淀一起經過濾反洗排水管流入排泥排水收集池,于排泥排水收集池靜置分層后,上層清液流入調節池,沉底泥渣進行清淘填埋。
8.根據權利要求7所述隧道施工排水處理裝置進行隧道施工排水處理的方法,其特征在于,步驟c中六角蜂窩斜管沉淀出水流速為1.3mm/s。
9.根據權利要求8所述隧道施工排水處理裝置進行隧道施工排水處理的方法,其特征在于,步驟b所述凝聚劑為聚合雙酸鐵鋁,投加量為7-12 g/t,所述絮凝劑為聚丙烯酰胺,投加量為1-3 mg/L。
10.根據權利要求9所述隧道施工排水處理裝置進行隧道施工排水處理的方法,其特征在于,步驟c還包括向監督池投放Ca(ClO)2,投放濃度為1.5mg/L。
說明書
一種隧道施工排水處理方法及其處理裝置
技術領域
本發明涉及工業污水排放領域,特別是一種隧道施工排水處理方法及其處理裝置。
背景技術
隨著經濟發展和日常交通的需要,隧道建設相應急劇增多。隧道工程大多位于山區丘陵地帶,有些甚至處于飲用水源地或水源涵養區,在施工過程中會產生大量的施工排水,倘若不對施工排水進行處理,任其排放,將會造成山區水環境污染,隧道施工過程中的排水來源主要有以下幾種:隧道穿越不良地質單元時,產生的涌水;施工設備,如鉆機等產生的污水;隧道爆破后及扒渣時用于降塵的污水;噴射混凝土和注漿產生的污水以及基巖裂隙水等。隧道施工排水中,大量巖石粉塵等懸浮雜質進入水中,在排出過程中,部分水中溶解性雜質被氧化、析出,化學性質有所改變,隧道施工時的滲出水本質上屬地下水,另外由于受到鉆機、噴射混凝土和注漿及其它人為產生的污染,又具有地表水的特點;主要污染物為懸浮物,石油類及硝基苯類等構成的有機物。隧道施工排水如不加處理直接排放,既會污染周圍環境,又會對受納水體造成理化、生態、景觀等危害。
目前隧道施工所產生的排水一般采用泥漿沉淀池進行沉淀處理后,上清液外排,污泥則作干化處理,此處理技術過于簡單,其工藝參數設計不合理,排水停留時間短、容積偏小,其次,由于隧道排水來水量波動較大,故沉淀池占地面積大,反應速度慢,出水水質不穩定,無法保證達標排放。
發明內容
為解決上述問題,提供一種隧道施工排水處理方法及處理裝置,該處理裝置占地少、安裝快捷、使用方便,出水達標,本發明是這樣實現的:
一種隧道施工排水處理裝置,包括依次通過管道連接的真空引水器、提升泵、管式混合器以及排水處理單元;所述管式混合器通過管道連接有藥液投加單元,所述藥液投加單元包括羅茨風機和若干連有計量泵的藥液溶解箱;所述排水處理單元為臥式槽罐,槽罐一端設有與管式混合器相連的進水堰,另一端設有出水堰;槽罐內通過兩個豎直分區隔板分隔為絮凝區、沉淀區和過濾區;所述絮凝區設有若干隔板和翼片隔板,隔板將絮凝區分隔為連通的第一絮凝室、第二絮凝室和第三絮凝室;所述沉淀區設有六角蜂窩斜管,六角蜂窩斜管底端與第三絮凝室相連,頂端通過沉淀出水管進水口與過濾區相連;所述過濾區設有位于出水堰下方的濾室孔板,濾室孔板上設有排水帽,沉淀出水管出水口位于濾室孔板下方,位于濾室孔板上方的濾后水由出水堰排出;排水處理單元底部設有排泥管,用于收集絮凝區、沉淀區產生的沉淀,過濾區底部設有過濾反洗排水管,過濾反洗排水管一端與排泥管相連,另一端通向槽罐外,過濾反洗排水管上設有反洗排水閥。
優選的,本發明中,所述真空引水器前端設置有斜板除砂器。
優選的,本發明中,所述翼片隔板與水流方向呈45°夾角。
優選的,本發明中,所述濾室孔板上設有EPS發泡塑料濾珠。
優選的,本發明中,所述羅茨風機、計量泵、藥液溶解箱、真空引水器和提升泵共用一橇裝式機座。
優選的,本發明中,所述第一絮凝室、第二絮凝室和第三絮凝室容積比為1:2:4。
一種采用如本發明所述隧道施工排水處理裝置進行隧道施工排水處理的方法,包括以下步驟:
(a)在施工場地建調節池、排泥排水收集池和監督池,調節池用于收集隧道施工排放的污水,開啟真空引水器和提升泵,通過管道將污水由調節池依次引入管式混合器和排水處理單元;
(b)分別向藥液溶解箱內加入凝聚劑和絮凝劑,開啟計量泵和羅茨風機,利用壓縮空氣攪拌溶藥,藥液經計量泵稱重后與污水在管式混合器內混合;
(c)與藥液混合后的污水由進水堰流入排水處理單元,依次通過第一絮凝室、第二絮凝室和第三絮凝室后經六角蜂窩斜管沉淀后進入過濾區,經濾室孔板過濾后由出水堰排出,出水流入監督池,監督池內出水經檢測后,合格出水排放,不合格出水重新引入調節池;
(d)打開反洗排水閥,濾室孔板上方的濾后水垂直通過濾室孔板后與排泥管內的沉淀一起經過濾反洗排水管流入排泥排水收集池,于排泥排水收集池靜置分層后,上層清液流入調節池,沉底泥渣進行清淘填埋。
優選的,本發明所述隧道施工排水處理裝置進行隧道施工排水處理的方法中,步驟c六角蜂窩斜管沉淀出水流速為1.3mm/s。
優選的,本發明所述隧道施工排水處理裝置進行隧道施工排水處理的方法中,步驟b所述凝聚劑為聚合雙酸鐵鋁,投加量為7-12 g/t,所述絮凝劑為聚丙烯酰胺,投加量為1-3 mg/L。
優選的,本發明所述隧道施工排水處理裝置進行隧道施工排水處理的方法中,步驟c還包括向監督池投放Ca(ClO)2,投放濃度為1.5mg/L。
隧道施工排水主要污染物為巖屑、粉塵類懸浮物(SS)和油類,廢水中營養物質和好氧物質含量低,對其中污染物采用除懸浮物降低濁度的物化凈水方法,可取得較好的效果。構成水中濁度的細小懸浮顆粒以無機和有機膠體為主,不易下沉的原因是顆粒在水中不停地作布朗運動時,由于雜質顆粒表面形成的同性電荷相互排斥,不能相互吸引、增大增重而下沉,導至水中雜質不易去除,不能滿足排放(或使用)要求,本發明利用向水中投加凝聚劑,中和水中雜質顆粒的表面電荷,使水中不易下沉的細小懸浮物、色度、有機物通過混凝反應聚并成顆粒較大的礬花,絮凝劑能對水中微細顆粒和礬花進行羅捕、架橋,促使懸浮顆粒增大、增重,形成容易下沉的礬花,然后利用沉降距離愈短,沉降時間愈少的淺層沉淀原理,通過后續有高效沉淀效果的斜管沉淀池使水中聚并成大顆粒礬花的雜質下沉,與水分離而使水質得到凈化,沉淀出水中仍有少量細小顆粒雜質,再采用EPS發泡塑料濾珠上向流過濾,進一步去除水中懸浮物,實現較徹底的清除,處理后SS滿足出水水質控制指標。
本發明隧道施工排水綜合處理裝置所有設備單元加工制作均在廠內完成,至現場各設備單元組合安裝在同一撬裝機座上就位后即可投入調試運行。整個制作過程可控性高,質量精度得以保證,生產效率得以提高,從而減少了現場施工工序,降低了材料消耗,直接降低了設備成本;由于其自動化程度高,故操作簡便,節省大量人工操作,同時由于本高效組合式隧道施工排水綜合處理裝置的高效性,大大縮小了占地面積,提高了處理效果。







