公布日:2023.12.08
申請日:2023.10.23
分類號:C02F11/125(2019.01)I;C02F11/14(2019.01)I
摘要
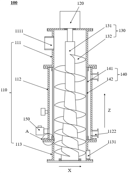
本說明書實施例提供一種污泥濃縮機,該污泥濃縮機包括反應罩、驅動裝置、螺桿、篩網、吹氣裝置以及彈性卸料裝置,螺桿設置于篩網內,篩網設置于反應罩內。其中,反應罩包括第一反應罩、第二反應罩和第三反應罩,第一反應罩上設有污泥入口,第三反應罩上設有污泥出口;驅動裝置與螺桿連接,被配置為驅動螺桿旋轉;螺桿被配置為通過轉動輸送污泥;由污泥入口至污泥出口,螺桿的螺距逐漸減小,且直徑逐漸增大;篩網被配置為過濾污泥中的水分,篩網的網孔尺寸可調整;吹氣裝置被配置為向篩網噴射壓縮氣體;彈性卸料裝置被配置為可彈性遮擋污泥出口。

權利要求書
1.一種污泥濃縮機,其特征在于,包括反應罩、驅動裝置、螺桿、篩網、吹氣裝置以及彈性卸料裝置,所述螺桿設置于所述篩網內,所述篩網設置于所述反應罩內;所述反應罩包括第一反應罩、第二反應罩和第三反應罩,所述第一反應罩上設有污泥入口,所述第三反應罩上設有污泥出口;所述驅動裝置與所述螺桿連接,所述驅動裝置被配置為驅動所述螺桿旋轉;所述螺桿被配置為通過轉動輸送污泥;由所述污泥入口至所述污泥出口,所述螺桿的螺距逐漸減小,且直徑逐漸增大;所述篩網被配置為過濾所述污泥中的水分,所述篩網的網孔尺寸可調整;所述吹氣裝置被配置為向所述篩網噴射壓縮氣體;所述彈性卸料裝置被配置為可彈性遮擋所述污泥出口。
2.根據權利要求1所述的污泥濃縮機,其特征在于,所述篩網包括第一篩網與第二篩網,所述第一篩網與所述第二篩網可相對滑動,以調整所述篩網的網孔尺寸。
3.根據權利要求2所述的污泥濃縮機,其特征在于,還包括篩網驅動裝置,所述篩網驅動裝置與所述第一篩網和/或所述第二篩網連接,以驅動所述第一篩網和/或所述第二篩網旋轉。
4.根據權利要求1所述的污泥濃縮機,其特征在于,所述吹氣裝置包括角度調節機構,所述角度調節機構被配置為調節所述吹氣裝置的噴射角度。
5.根據權利要求1所述的污泥濃縮機,其特征在于,所述第二反應罩上設有喇叭狀的開口,所述開口與所述吹氣裝置連接。
6.根據權利要求1所述的污泥濃縮機,其特征在于,所述螺桿包括多段子螺桿。
7.根據權利要求1所述的污泥濃縮機,其特征在于,所述彈性卸料裝置包括彈性件和擋塊,所述擋塊通過所述彈性件的彈力遮擋所述污泥出口。
8.根據權利要求7所述的污泥濃縮機,其特征在于,所述彈性件為氣彈簧。
9.根據權利要求1所述的污泥濃縮機,其特征在于,還包括進料裝置,所述進料裝置包括配藥罐,所述配藥罐被配置為調整絮凝劑的藥品使用量。
10.據權利要求1所述的污泥濃縮機,其特征在于,還包括傳感系統和控制器,所述傳感系統包括螺桿扭矩檢測器和污泥濃度檢測器;所述螺桿扭矩檢測器被配置為獲取螺桿扭矩;所述污泥濃度檢測器被配置為獲取污泥濃度;所述控制器被配置為:基于所述螺桿扭矩和所述污泥濃度,調整所述螺桿的轉速、所述篩網的網孔尺寸以及所述吹氣裝置的噴射角度。
發明內容
本說明書一個或多個實施例提供一種污泥濃縮機。所述污泥濃縮機包括:反應罩、驅動裝置、螺桿、篩網、吹氣裝置以及彈性卸料裝置,所述螺桿設置于所述篩網內,所述篩網設置于所述反應罩內。其中,所述反應罩包括第一反應罩、第二反應罩和第三反應罩,所述第一反應罩上設有污泥入口,所述第三反應罩上設有污泥出口;所述驅動裝置與所述螺桿連接,被配置為驅動所述螺桿旋轉;
所述螺桿被配置為通過轉動輸送污泥;由所述污泥入口至所述污泥出口,所述螺桿的螺距逐漸減小,且直徑逐漸增大;所述篩網被配置為過濾所述污泥中的水分,所述篩網的網孔尺寸可調整;所述吹氣裝置被配置為向所述篩網噴射壓縮氣體;所述彈性卸料裝置被配置為可彈性遮擋所述污泥出口。
在一些實施例中,所述篩網包括第一篩網與第二篩網,所述第一篩網與所述第二篩網可相對滑動,以調整所述篩網的網孔尺寸。
在一些實施例中,還包括篩網驅動裝置,所述篩網驅動裝置與所述第一篩網和/或所述第二篩網連接,以驅動所述第一篩網和/或所述第二篩網旋轉。
在一些實施例中,所述吹氣裝置包括角度調節機構,所述角度調節機構被配置為調節所述吹氣裝置的噴射角度。
在一些實施例中,所述第二反應罩上設有喇叭狀的開口,所述開口與所述吹氣裝置連接。
在一些實施例中,所述螺桿包括多段子螺桿。
在一些實施例中,所述彈性卸料裝置包括彈性件和擋塊,所述擋塊通過所述彈性件的彈力遮擋所述污泥出口。
在一些實施例中,所述彈性件為氣彈簧。
在一些實施例中,還包括進料裝置,所述進料裝置包括配藥罐,所述配藥罐被配置為調整絮凝劑的藥品使用量。
在一些實施例中,還包括傳感系統和控制器,所述傳感系統包括螺桿扭矩檢測器和污泥濃度檢測器;所述螺桿扭矩檢測器被配置為獲取螺桿扭矩;所述污泥濃度檢測器被配置為獲取污泥濃度;所述控制器被配置為:基于所述螺桿扭矩和所述污泥濃度,調整所述螺桿的轉速、所述篩網的網孔尺寸以及所述吹氣裝置的噴射角度。
(發明人:毛克峰)






