公布日:2024.05.28
申請日:2024.03.29
分類號:C02F3/32(2023.01)I;C02F3/30(2023.01)I
摘要
本發明公開了一種人工濕地污水處理裝置,包括以下部分:主體填料塊;調節填料部,調節填料部設置于主體填料塊的頂部位置,調節填料部內容納有調節填料;進水管路系統,污水處理裝置通過進水管路系統的第一端引入污水,進水管路系統的第二端與調節填料部鄰接設置,污水經調節填料部流入主體填料塊中;曝氣管路系統,曝氣管路系統包括兩個以上的曝氣管路,兩個以上的曝氣管路均穿設于主體填料塊中并分別位于主體填料塊的不同高度位置處,可分別調節各個曝氣管路的開度。本發明用于解決自然凈化單元的處理負荷低、對污水中氮磷的處理能力不足以及難以實時監測預防堵塞等問題。

權利要求書
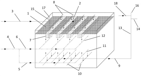
1.一種人工濕地污水處理裝置,其特征在于,包括以下部分:主體填料塊(1),所述主體填料塊(1)為整體具有長、寬、高的塊狀結構;調節填料部(2),所述調節填料部(2)設置于所述主體填料塊(1)的頂部位置,所述調節填料部(2)內容納有調節填料;進水管路系統(3),所述污水處理裝置通過所述進水管路系統(3)的第一端引入污水,所述進水管路系統(3)的第二端與所述調節填料部(2)鄰接設置,所述污水經所述調節填料部(2)流入所述主體填料塊(1)中;曝氣管路系統(4),所述曝氣管路系統(4)包括兩個以上的曝氣管路,兩個以上的所述曝氣管路均穿設于所述主體填料塊(1)中,兩個以上的所述曝氣管路分別位于所述主體填料塊(1)的不同高度位置處,可分別調節各個所述曝氣管路的開度。
2.根據權利要求1所述的污水處理裝置,其特征在于:所述曝氣管路包括第一曝氣管路(5),所述第一曝氣管路(5)穿設于所述主體填料塊(1)的底部;和/或所述曝氣管路包括第二曝氣管路(6),所述第二曝氣管路(6)穿設于所述主體填料塊(1)高度方向的中間位置。
3.根據權利要求2所述的污水處理裝置,其特征在于:在所述主體填料塊(1)的頂部沿長度方向間隔開設有多個調節填料槽(7),所述多個調節填料槽(7)中分別容納所述調節填料部(2)。
4.根據權利要求3所述的污水處理裝置,其特征在于:所述進水管路系統(3)的第二端設置有多個進水支路(8),所述多個進水支路(8)分別位于所述多個調節填料槽(7)上方,所述進水支路(8)上設有多個進水孔。
5.根據權利要求4所述的污水處理裝置,其特征在于:所述污水處理裝置還包括出水管道系統(9),所述出水管道系統(9)的第一端包括多個收水支路(10),所述多個收水支路(10)間隔設置于所述主體填料塊(1)的底部。
6.根據權利要求5所述的污水處理裝置,其特征在于:所述第一曝氣管路(5)包括間隔設置于所述主體填料塊(1)內底部的多個第一曝氣支路(11),所述多個第一曝氣支路(11)與所述多個收水支路(10)位置錯開;和/或所述第二曝氣管路(6)包括沿長度方向間隔設置于所述主體填料塊(1)內的多個第二曝氣支路(12),所述多個第二曝氣支路(12)與所述多個進水支路(8)的位置錯開。
7.根據權利要求5或6所述的污水處理裝置,其特征在于:所述出水管道系統的第二端設置有出水豎管(13),所述出水豎管(13)在所述主體填料塊(1)之外沿豎直方向設置,所述出水豎管(13)與所述多個收水支路(10)連通,所述出水豎管(13)上設置有裝置出水口(14)。
8.根據權利要求7所述的污水處理裝置,其特征在于:所述主體填料塊(1)中插設有透水豎管(15),所述透水豎管(15)沿豎直方向設置,所述出水豎管(13)內安裝有第一液位計(16),所述透水豎管(15)內安裝有第二液位計(17)。
9.根據權利要求7所述的污水處理裝置,其特征在于:所述出水豎管(13)上還設置有反沖洗水接口(18)。
10.根據權利要求1所述的污水處理裝置,其特征在于:所述調節填料占所述主體填料塊(1)的體積比例為2%~10%,所述調節填料的比表面積范圍在50~500m2/m3之間。
11.根據權利要求10所述的污水處理裝置,其特征在于:所述調節填料包括以下物質的一種或幾種:微生物包埋填料、硫鐵礦物填料、固化除磷劑、緩釋碳源填料,所述調節填料為粒狀,粒徑為6~25mm。
12.根據權利要求10所述的污水處理裝置,其特征在于:所述主體填料塊(1)上種植有植物,所述主體填料塊(1)包括彈性填料,所述彈性填料的比表面積范圍在3000~30000m2/m3之間,孔隙率范圍為80%~95%。
13.根據權利要求12所述的污水處理裝置,其特征在于:所述彈性填料包括以下物質的一種或幾種:EVA海綿、聚氨酯海綿、纖維球,所述主體填料塊(1)由所述彈性填料通過捆扎或外框固定方式形成整體,或由所述彈性填料一體成型。
14.一種污水處理方法,其特征在于,使用上述權利要求1-13中的任一項所述的人工濕地污水處理裝置,并包括如下步驟:污水引入步驟S1,從進水管路系統(3)引入污水;曝氣模式設定步驟S2,根據所述污水的特征選擇不同的曝氣模式,所述曝氣模式包括:底層曝氣模式,開啟第一曝氣管路(5),關閉第二曝氣管路(6);中層曝氣模式,開啟所述第二曝氣管路(6),關閉所述第一曝氣管路(5);雙層曝氣模式,開啟所述第一曝氣管路(5)和所述第二曝氣管路(6);反沖洗步驟S3,將壓力水通過反沖洗水接口(18)注入出水管道系統,設定所述曝氣模式為所述雙層曝氣模式,使得主體填料塊(1)發生振動,在所述污水處理裝置的頂部設置抽吸裝置進行抽吸。
15.根據權利要求14所述的污水處理方法,其特征在于:還包括堵塞監測步驟S4,獲取第一液位計(16)和第二液位計(17)的讀數,根據讀數的差值判斷所述主體填料塊(1)內的堵塞趨勢。
發明內容
本發明的主要目的在于提供一種人工濕地污水處理裝置及污水處理方法,用于解決自然凈化單元的處理負荷低、對污水中氮磷的處理能力不足以及難以實時監測預防堵塞等問題。
為了實現上述目的,根據本發明的一個方面,提出了一種人工濕地污水處理裝置,包括以下部分:
主體填料塊,主體填料塊為整體具有長、寬、高的塊狀結構;
調節填料部,調節填料部設置于主體填料塊的頂部位置,調節填料部內容納有調節填料;
進水管路系統,污水處理裝置通過進水管路系統的第一端引入污水,進水管路系統的第二端與調節填料部鄰接設置,污水經調節填料部流入主體填料塊中;
曝氣管路系統,曝氣管路系統包括兩個以上的曝氣管路,兩個以上的曝氣管路均穿設于主體填料塊中,兩個以上的曝氣管路分別位于主體填料塊的不同高度位置處,可分別調節各個曝氣管路的開度。
進一步的,曝氣管路包括第一曝氣管路,第一曝氣管路穿設于主體填料塊的底部;和/或曝氣管路包括第二曝氣管路,第二曝氣管路穿設于主體填料塊高度方向的中間位置。
進一步的,在主體填料塊的頂部沿長度方向間隔開設有多個調節填料槽,多個調節填料槽中分別容納調節填料部。
進一步的,進水管路系統的第二端設置有多個進水支路,多個進水支路分別位于多個調節填料槽上方,進水支路上設有多個進水孔。
進一步的,污水處理裝置還包括出水管道系統,出水管道系統的第一端包括多個收水支路,多個收水支路間隔設置于主體填料塊的底部。
進一步的,第一曝氣管路包括間隔設置于主體填料塊內底部的多個第一曝氣支路,多個第一曝氣支路與多個收水支路位置錯開;
和/或第二曝氣管路包括沿長度方向間隔設置于主體填料塊內的多個第二曝氣支路,多個第二曝氣支路與多個進水支路的位置錯開。
進一步的,出水管道系統的第二端設置有出水豎管,出水豎管在主體填料塊之外沿豎直方向設置,出水豎管與多個收水支路連通,出水豎管上設置有裝置出水口。
進一步的,主體填料塊中插設有透水豎管,透水豎管沿豎直方向設置,出水豎管內安裝有第一液位計,透水豎管內安裝有第二液位計。
進一步的,出水豎管上還設置有反沖洗水接口。
進一步的,調節填料占主體填料塊的體積比例為2%~10%,調節填料的比表面積范圍在50~500m2/m3之間。
進一步的,調節填料包括以下物質的一種或幾種:微生物包埋填料、硫鐵礦物填料、固化除磷劑、緩釋碳源填料,調節填料為粒狀,粒徑為6~25mm。
進一步的,主體填料塊上種植有植物,主體填料塊包括彈性填料,彈性填料的比表面積范圍在3000~30000m2/m3之間,孔隙率范圍為80%~95%。
進一步的,彈性填料包括以下物質的一種或幾種:EVA海綿、聚氨酯海綿、纖維球,主體填料塊由彈性填料通過捆扎或外框固定方式形成整體,或由彈性填料一體成型。
為了實現上述目的,根據本發明的又一個方面,提出了一種污水處理方法,使用上述的人工濕地污水處理裝置,并包括如下步驟:
污水引入步驟,從進水管路系統引入污水;
曝氣模式設定步驟,根據污水的特征選擇不同的曝氣模式,曝氣模式包括:底層曝氣模式,開啟第一曝氣管路,關閉第二曝氣管路;中層曝氣模式,開啟第二曝氣管路,關閉第一曝氣管路;雙層曝氣模式,開啟第一曝氣管路和第二曝氣管路;
反沖洗步驟,將壓力水通過反沖洗水接口注入出水管道系統,設定曝氣模式為雙層曝氣模式,使得主體填料塊發生振動,在污水處理裝置的頂部設置抽吸裝置進行抽吸。
進一步的,還包括堵塞監測步驟,獲取第一液位計和第二液位計的讀數,根據讀數的差值判斷主體填料塊內的堵塞趨勢。
應用本發明的以上技術方案,至少實現了如下有益效果:
1、本發明的污水處理裝置通過結合進水管路系統進水支路的位置,在主體填料塊的頂部對應設置調節填料部,可以提升裝置對總磷等污染物的吸附能力,提高了總磷的去除率和去除負荷,并且方便在調節填料部吸附飽和或根據水質變化需要及時更換內部的高性能調節填料,使得人工濕地的出水水質更加穩定。
2、本發明的污水處理裝置通過將高孔隙率、高比表面積的彈性填料與多層的曝氣管路系統相結合,提供了高異度性、高靈活度的氧化還原環境以及極大的生物膜附著面積,加快了生物除磷、去除COD、脫氮等凈化過程,同時促進濕地植物根系的生長和穿透,加快了植物吸收同化過程,從而大大提升了污水處理裝置形成的濕地凈化單元的污水凈化速度和污水處理負荷。
3、本發明的污水處理裝置通過設計曝氣管路系統結合提出的污水處理方法,可根據污水特征靈活選擇不同的曝氣模式,提升了污水處理裝置處理不同類型污水的能力,提升了COD、氨氮和總氮的去除率和去除負荷,同時在反沖洗過程中大大提升了反沖洗的效率。
4、本發明的污水處理裝置占地面積小,結構簡單方便拆裝,并通過設置出水豎管和透水豎管,建立了填料堵塞監測系統,通過實時監控濕地凈化單元前后端的液位差判定彈性填料的堵塞趨勢,配合反沖洗系統,使得濕地凈化單元在長期處理污水后可以及時清洗填料,延長了濕地凈化單元的運行壽命。
(發明人:林卉;安瑩玉;張東熠;延晨)






