公布日:2023.11.21
申請日:2023.09.26
分類號:C02F9/00(2023.01)I;C02F101/20(2006.01)N;C02F1/38(2023.01)N;C02F1/52(2023.01)N;C02F1/56(2023.01)N;C02F1/00(2023.01)N
摘要
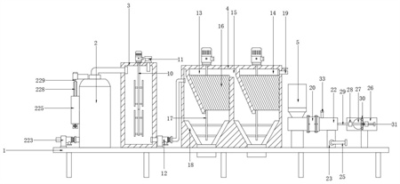
本發明涉及廢水處理技術領域,公開了一種重金屬廢水處理系統多級澄清設備,底板的頂部從左至右依次固定安裝有前置筒、加藥筒、沉降筒和過濾筒,當加入絮凝劑的污水來到沉降筒內后,會在一號沉腔中聚集,并通過一號沉腔內的沉降斜管排入二號沉腔,由于傾斜設置的沉降斜管的作用,增大了污水中絮狀物的沉降面積,進而起到加速沉降和抵擋的目的,使得絮狀物沉降并落在一號沉腔的底部聚集,二號沉腔的原理也是如此,會進一步提高污水的凈化效果,當污水處理完畢,需要排出沉降的絮狀物時,啟動三號電機帶動轉桿轉動,進而帶動刮泥刀對沉降筒的內壁進行刮除,將污泥向中部推動,進而通過沉降筒底部的排泥口排出。

權利要求書
1.一種重金屬廢水處理系統多級澄清設備,包括底板(1),其特征在于:所述底板(1)的頂部從左至右依次固定安裝有前置筒(2)、加藥筒(3)、沉降筒(4)和過濾筒(5),所述前置筒(2)的內部開設有盤升腔(224),所述前置筒(2)的左側固定安裝有收集筒(225),所述盤升腔(224)的左側最上方開設有與收集筒(225)貫通連接的通槽(226),所述收集筒(225)內滑動安裝有擠壓塞(227),所述擠壓塞(227)的頂部固定連接有插桿(228),所述插桿(228)的頂部螺紋連接有絲桿(229);所述前置筒(2)的頂部通過管道與加藥筒(3)的左側上方相連接,所述加藥筒(3)的內部轉動安裝有攪拌桿(10),且攪拌桿(10)的旋轉動力來源于加藥筒(3)頂部的二號電機,所述加藥筒(3)的頂部右側固定安裝有加藥口(11);所述加藥筒(3)的底部右側設置有二號泵(12),且二號泵(12)的排水端通過管道與沉降筒(4)的左側上方相連接,所述沉降筒(4)內分別開設有一號沉腔(13)和二號沉腔(14)兩個相同的腔室,所述一號沉腔(13)和二號沉腔(14)相接位置上方開設有連槽(15),所述沉降筒(4)的底部位于一號沉腔(13)和二號沉腔(14)的下方均設置有帶閥門的排泥口,所述一號沉腔(13)和二號沉腔(14)的上方均設置有沉降斜管(16),所述一號沉腔(13)和二號沉腔(14)的內部轉動安裝有轉桿(17),所述轉桿(17)的兩側下方均固定安裝有刮泥刀(18)。
2.如權利要求1所述的一種重金屬廢水處理系統多級澄清設備,其特征在于:所述盤升腔(224)呈螺旋型結構,所述通槽(226)呈左端向下傾斜的結構。
3.如權利要求1所述的一種重金屬廢水處理系統多級澄清設備,其特征在于:所述前置筒(2)的左側設置有一號泵(223),且一號泵(223)的排水端通過管道與盤升腔(224)的左側下方相連接。
4.如權利要求1所述的一種重金屬廢水處理系統多級澄清設備,其特征在于:所述插桿(228)的兩側設置有限位條,所述收集筒(225)的頂部開設有與插桿(228)相適配的插槽,所述絲桿(229)的旋轉動力來源于前置筒(2)頂部設置的一號電機,所述收集筒(225)的底部設置有帶閥門的排污口。
5.如權利要求1所述的一種重金屬廢水處理系統多級澄清設備,其特征在于:所述沉降斜管(16)為密集排列的管道組合而成,且沉降斜管(16)的傾斜角度為55°到60°,所述沉降斜管(16)可為不銹鋼管、鋼化玻璃管等耐腐蝕性材料制作而成。
6.如權利要求1所述的一種重金屬廢水處理系統多級澄清設備,其特征在于:所述轉桿(17)貫穿沉降斜管(16)的中部,且轉桿(17)的旋轉動力來源于沉降筒(4)頂部設置的三號電機,所述沉降筒(4)的右側上方固定安裝有排水口(19)。
7.如權利要求1所述的一種重金屬廢水處理系統多級澄清設備,其特征在于:所述過濾筒(5)的右側通過法蘭連接有濾筒(20),所述濾筒(20)內設置有濾板(21),所述濾筒(20)的右側通過法蘭連接有過水筒(22),所述過水筒(22)的底部固定連接有集水管(23),且過水筒(22)與集水管(23)的連接位置開設有落水槽(24),所述集水管(23)的前壁下方固定連接有外接口(25)。
8.如權利要求7所述的一種重金屬廢水處理系統多級澄清設備,其特征在于:所述底板(1)的頂部位于過水筒(22)的右側固定安裝有固定板(26),所述固定板(26)的前壁通過軸承連接有轉盤(27),且轉盤(27)的旋轉動力來源于固定板(26)后側設置的四號電機,所述固定板(26)的前壁位于轉盤(27)的兩側均固定安裝有導向塊(28),所述導向塊(28)內插接安裝有活動桿(29),所述活動桿(29)的相對端固定安裝有軌道板(30),所述轉盤(27)的前壁外側固定安裝有聯動桿(31),所述軌道板(30)內開設有與聯動桿(31)相適配的豎向滑槽,且聯動桿(31)滑動安裝在豎向滑槽內,所述過水筒(22)內滑動安裝有疏通塞(32),左側所述活動桿(29)的左端與疏通塞(32)固定連接,所述過水筒(22)的頂部左側固定連接有單向閥(33)。
9.如權利要求8所述的一種重金屬廢水處理系統多級澄清設備,其特征在于:所述單向閥(33)的介質流向朝向過水筒(22)的內腔。
發明內容
本發明的目的在于:為了解決上述提出的問題,本申請提供一種重金屬廢水處理系統多級澄清設備。
本發明采用的技術方案如下:一種重金屬廢水處理系統多級澄清設備,包括底板,所述底板的頂部從左至右依次固定安裝有前置筒、加藥筒、沉降筒和過濾筒,所述前置筒的內部開設有盤升腔,所述前置筒的左側固定安裝有收集筒,所述盤升腔的左側最上方開設有與收集筒貫通連接的通槽,所述收集筒內滑動安裝有擠壓塞,所述擠壓塞的頂部固定連接有插桿,所述插桿的頂部螺紋連接有絲桿。
所述前置筒的頂部通過管道與加藥筒的左側上方相連接,所述加藥筒的內部轉動安裝有攪拌桿,且攪拌桿的旋轉動力來源于加藥筒頂部的二號電機,所述加藥筒的頂部右側固定安裝有加藥口。
所述加藥筒的底部右側設置有二號泵,且二號泵的排水端通過管道與沉降筒的左側上方相連接,所述沉降筒內分別開設有一號沉腔和二號沉腔兩個相同的腔室,所述一號沉腔和二號沉腔相接位置上方開設有連槽,所述沉降筒的底部位于一號沉腔和二號沉腔的下方均設置有帶閥門的排泥口,所述一號沉腔和二號沉腔的上方均設置有沉降斜管,所述一號沉腔和二號沉腔的內部轉動安裝有轉桿,所述轉桿的兩側下方均固定安裝有刮泥刀。
在一優選的發明方式中,所述盤升腔呈螺旋型結構,所述通槽呈左端向下傾斜的結構。
在一優選的發明方式中,所述前置筒的左側設置有一號泵,且一號泵的排水端通過管道與盤升腔的左側下方相連接。
在一優選的發明方式中,所述插桿的兩側設置有限位條,所述收集筒的頂部開設有與插桿相適配的插槽,所述絲桿的旋轉動力來源于前置筒頂部設置的一號電機,所述收集筒的底部設置有帶閥門的排污口。
在一優選的發明方式中,所述沉降斜管為密集排列的管道組合而成,且沉降斜管的傾斜角度為55°到60°,所述沉降斜管可為不銹鋼管、鋼化玻璃管等耐腐蝕性材料制作而成。
在一優選的發明方式中,所述轉桿貫穿沉降斜管的中部,且轉桿的旋轉動力來源于沉降筒頂部設置的三號電機,所述沉降筒的右側上方固定安裝有排水口。
在一優選的發明方式中,所述過濾筒的右側通過法蘭連接有濾筒,所述濾筒內設置有濾板,所述濾筒的右側通過法蘭連接有過水筒,所述過水筒的底部固定連接有集水管,且過水筒與集水管的連接位置開設有落水槽,所述集水管的前壁下方固定連接有外接口。
在一優選的發明方式中,所述底板的頂部位于過水筒的右側固定安裝有固定板,所述固定板的前壁通過軸承連接有轉盤,且轉盤的旋轉動力來源于固定板后側設置的四號電機,所述固定板的前壁位于轉盤的兩側均固定安裝有導向塊,所述導向塊內插接安裝有活動桿,所述活動桿的相對端固定安裝有軌道板,所述轉盤的前壁外側固定安裝有聯動桿,所述軌道板內開設有與聯動桿相適配的豎向滑槽,且聯動桿滑動安裝在豎向滑槽內,所述過水筒內滑動安裝有疏通塞,左側所述活動桿的左端與疏通塞固定連接,所述過水筒的頂部左側固定連接有單向閥。
在一優選的發明方式中,所述單向閥的介質流向朝向過水筒的內腔。
綜上所述,由于采用了上述技術方案,本發明的有益效果是:
1.本發明中,通過設置前置筒,并在前置筒內開設螺旋狀的盤升腔,當一號泵將污水排進前置筒內的盤升腔盤旋上升,污水中的較大顆粒石塊等雜物會在離心力的作用下被甩向螺旋上升的污水流體最外側,直至遇到通槽并被甩進通槽內,最終掉落在收集筒內收集,當后期污水處理完畢,打開收集筒底部的閥門,此時可啟動一號電機帶動絲桿旋轉,將插桿向下推動,進而帶動擠壓塞對收集筒內的大顆粒雜物擠壓排出,此設計可提前去除掉大顆粒石子等雜物,為后續的污水處理減輕負擔。
2.本發明中,通過設置加藥筒,當污水來到加藥筒內后,通過加藥口向加藥筒內加入絮凝劑PAM,使得污水中的懸浮物結合形成大顆粒的絮狀體,便于后續的沉降處理,同時通過設置沉降筒并在沉降筒內設置一號沉腔和二號沉腔,當加入絮凝劑的污水來到沉降筒內后,首先會在一號沉腔中聚集,并通過一號沉腔內的沉降斜管排入二號沉腔,由于傾斜設置的沉降斜管的作用,增大了污水中絮狀物的沉降面積,進而起到加速沉降和抵擋的目的,使得絮狀物沉降并落在一號沉腔的底部聚集,二號沉腔的原理也是如此,會進一步提高污水的凈化效果,當污水處理完畢,需要排出沉降的絮狀物時,打開沉降筒底部的排泥口上的閥門,啟動三號電機帶動轉桿轉動,進而帶動刮泥刀對沉降筒的內壁進行刮除,將污泥向中部推動,進而通過沉降筒底部的排泥口排出,此設計可加速沉淀,提高工作效率,同時有效的進行污泥排出,便于沉降筒內的清潔。
3.本發明中,通過設置過濾筒,當排水口排出的澄清水達到排放標準時,可直接排放,若澄清度仍然不夠,可將排水口連通管道將水引入過濾筒中通過濾筒內的濾板過濾,過濾后的水來到過水筒內并通過落水槽排入集水管內會聚集,在通過外接水泵連接外接口抽離即可,這里由于設置了轉盤,當濾板長期使用發生堵塞時,啟動四號電機帶動轉盤旋轉,進而帶動聯動桿做周向運動,在導向塊的限位下,軌道板會帶動活動桿被聯動桿擠壓做橫向水平左右移動,當活動桿帶動疏通塞向左移動越過落水槽時,會擠壓過水筒內的水反向穿過濾筒,對濾板進行反沖洗,疏通過濾孔防止堵塞,當活動桿向右側移動會帶動疏通塞回到原位,此時單向閥會釋放外接空氣進入過水筒內,防止過水筒內產生負壓,此過程便完成了一次疏通工作,提高過濾工作效率。
(發明人:閆虎祥;王慶偉;張文杰;陳曉軍;廖澤平;李超)






