公布日:2023.11.17
申請日:2022.11.04
分類號:C02F1/78(2006.01)I;C02F1/72(2006.01)I;C02F1/00(2006.01)I;G01N33/18(2006.01)I
摘要
本發明提供了一種用于分析非均相臭氧處理廢水的實驗裝置及其方法,所述裝置包括殼體、收卷機構以及攪拌機構,所述殼體底部設有曝氣輪以及齒環,所述攪拌機構包括中心桿以及收縮組件,本發明通過收卷機構以及攪拌機構的設置,使得實驗完成時能夠迅速從廢水中分離出催化劑,且通過轉動葉片以及第二篩板的設置,在分離后可以對催化劑進行擠壓進一步脫除廢水;通過曝氣輪、齒環以及第二擋板的設置,使得實驗過程中的多組取樣更加方便,較少實驗人員的頻繁操作。

權利要求書
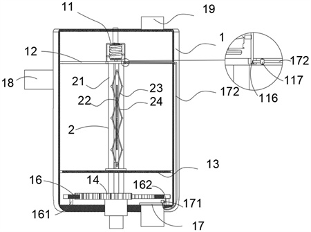
1.一種用于分析非均相臭氧處理廢水的實驗裝置,其特征在于,包括殼體(1)以及攪拌機構(2),所述殼體(1)內上部設有第一篩板(12),殼體(1)內下部滑動設有第二篩板(13),所述第二篩板(13)上設有濾膜;所述攪拌機構(2)設置在所述第一篩板(12)與所述第二篩板(13)之間的所述殼體(1)內,攪拌機構(2)包括垂直設置在殼體(1)底面的中心桿(21)以及與中心桿(21)滑動連接的收縮組件,所述中心桿(21)頂端與所述第一篩板(12)轉動連接,且中心桿(21)底端貫穿所述第二篩板(13)并與殼體(1)底面轉動連接,第二篩板(13)與中心桿(21)滑動連接;所述收縮組件包括多組轉動葉片(22)以及豎直設置的多組剪叉臂,每組所述剪叉臂包括第一連桿(23)與第二連桿(24),且第一連桿(23)與第二連桿(24)的上下兩端連接處分別進行轉動連接,且兩組連接處分別轉動套設在一組套管(25)上;所述轉動葉片(22)的端邊上設有用于穿過所述套管(25)的支桿,所述支桿與套管(25)轉動連接,所述支桿的端面設有彎折桿(221);所述中心桿(21)上設有第一滑槽(211)以及用于使彎折桿(221)滑動且帶動使轉動葉片(22)轉動90°的第二滑槽(212);與轉動葉片(22)未連接的所述套管(25)上設有用于與第一滑槽(211)滑動連接的連接塊;位于所述收縮組件最底端的連接塊與所述第二篩板(13)滑動卡接,且位于收縮組件最底端的連接塊上設有第二連接線(114),所述第一篩板(12)上設有用于收卷所述第二連接線(114)的收卷機構(11),所述殼體(1)頂面上設有出氣口(19),位于所述第一篩板(12)與所述第二篩板(13)之間的殼體(1)上連接有進液管(18),殼體(1)下方設有進氣管,所述殼體(1)底面設有出液口,位于殼體(1)底部的中心桿(21)上套設有曝氣輪(14),且所述曝氣輪(14)與中心桿(21)上設有的定位銷卡接,曝氣輪(14)通過連接管貫穿殼體(1)底面并與殼體(1)旋轉密封連接,且所述進氣管與曝氣輪(14)轉動密封連接,連接管由設置在殼體(1)外的電機驅動轉動;所述曝氣輪(14)內部中空,且曝氣輪(14)上端面設有若干組氣孔,殼體(1)底面設有與曝氣輪(14)嚙合傳動的齒輪(15)以及齒環(16),所述齒環(16)與曝氣輪(14)位于同一圓心,且齒環(16)內環面設有與齒輪(15)嚙合傳動的齒;所述齒環(16)通過圓環(161)與殼體(1)底面轉動連接。
2.如權利要求1所述的一種用于分析非均相臭氧處理廢水的實驗裝置,其特征在于,所述收卷機構(11)包括開口向下的套殼(111)以及轉輪(112),所述套殼(111)外頂面設有用于下壓套殼(111)的連接桿,所述連接桿上端貫穿殼體(1)頂面,所述連接桿與殼體(1)上下滑動密封連接,所述轉輪(112)設置在所述套殼(111)內且轉輪(112)通過第一彈簧(115)與套殼(111)內頂面轉動連接,轉輪(112)外側壁上設有螺紋槽,所述套殼(111)內側壁設有用于與所述螺紋槽滑動連接使套殼(111)進行上下移動的滑塊,所述轉輪(112)底面設有卷線桿(113),所述卷線桿(113)與所述第一篩板(12)下端面轉動連接,所述第二連接線(114)穿過所述第一篩板(12)并與所述卷線桿(113)連接;所述第一篩板(12)上端面設有用于套殼(111)底端伸入第一篩板(12)內部的通孔,所述套殼(111)外側壁底端設有用于與所述凸塊(117)固定卡接的凹槽(116),所述第一篩板(12)內部中空且設有凸塊(117),所述凸塊(117)通過第二彈簧與第一篩板(12)內壁連接,所述凸塊(117)上設有第一連接線(172),位于所述出液口的殼體(1)底面設有與殼體(1)底面滑動連接的第一擋板(17),所述第一擋板(17)上設有與其固定連接的第一擋塊(171),所述第一擋塊(171)與所述第一連接線(172)連接;所述圓環(161)內環面設有用于與第一檔塊(171)配合使第一擋板(17)平移的第一撥塊(162)。
3.如權利要求1所述的一種用于分析非均相臭氧處理廢水的實驗裝置,其特征在于,所述殼體(1)底端外側壁設有多組取樣口(164),每組所述取樣口(164)上均設有第二擋板,所述第二擋板與位于取樣口(164)的殼體(1)內壁滑動連接,且第二擋板上設有通過扭簧與其連接的第二擋塊,所述圓環(161)外側面設有用于配合所述第二擋塊撥動使得第二擋板滑動的第二撥塊(163);所述第二擋板通過第三彈簧與殼體(1)內壁連接。
4.如權利要求1所述的一種用于分析非均相臭氧處理廢水的實驗裝置,其特征在于,所述濾膜孔徑為0.45μm。
5.如權利要求1所述的一種用于分析非均相臭氧處理廢水的實驗裝置,其特征在于,所述連接管通過傳動帶與所述電機的輸出軸連接。
6.如權利要求1所述的一種用于分析非均相臭氧處理廢水的實驗裝置,其特征在于,所述殼體(1)采用玻璃材料。
7.如權利要求1所述的一種用于分析非均相臭氧處理廢水的實驗裝置,其特征在于,所述進氣管連接有臭氧裝置,所述臭氧裝置包括依次通過管道與進氣管連接設置的流量計、臭氧濃度檢測儀、臭氧發生器以及氧氣瓶,所述出氣口(19)連接有臭氧破壞器。
8.利用權利要求1-7任意一項所述的實驗裝置分析非均相臭氧處理廢水的方法,其特征在于,包括以下步驟:S1:通過進液管(18)在殼體(1)中加入的廢水與催化劑,開啟電機,對加入催化劑的廢水進行攪拌,同時,然后通過進氣管向曝氣輪(14)通入臭氧,利用曝氣輪(14)對加入催化劑的廢水進行曝氣;S2:啟動收卷機構(11)收卷第二連接線(114),收縮組件以及第二篩板(13)向上移動,通過第二篩板(13)上的濾膜分離得到分離后催化劑與液體樣品,收集出液管排出的液體樣品;按下連接桿使第二篩板(13)復位,S3:重復步驟S1-S2,利用所述分離后的催化劑進行多組重復實驗,得到多組液體樣品;S4:分析各個所述液體樣品,測定其中特定有機物濃度、TOC值、UV254值、三維熒光強度和特征有機物的任意一種或多種,獲取數據,綜合分析評估催化臭氧效能。
發明內容
為解決上述技術問題,本發明提供了一種用于分析非均相臭氧處理廢水的實驗裝置及其方法。
本發明的技術方案是:一種用于分析非均相臭氧處理廢水的實驗裝置,包括殼體以及攪拌機構,
所述殼體內上部設有第一篩板,殼體內下部滑動設有第二篩板,所述第二篩板上設有濾膜;通過上述的設置,可以使得廢水穿過第二篩板以及濾膜過濾掉催化劑,氣體先穿過第二篩板進入殼體中部,再通過第一篩板向出氣口排出;
所述攪拌機構設置在所述第一篩板與所述第二篩板之間的所述殼體內,攪拌機構包括垂直設置在殼體底面的中心桿以及與中心桿滑動連接的收縮組件,所述中心桿頂端與所述第一篩板轉動連接,且中心桿底端貫穿所述第二篩板并與殼體底面轉動連接,第二篩板與中心桿滑動連接;所述收縮組件包括多組轉動葉片以及豎直設置的多組剪叉臂,每組所述剪叉臂包括第一連桿與第二連桿,且第一連桿與第二連桿的上下兩端連接處分別進行轉動連接,且兩組連接處分別轉動套設在一組套管上;所述轉動葉片的端邊上設有用于穿過所述套管的支桿,所述支桿與套管轉動連接,所述支桿的端面設有彎折桿;所述中心桿上設有第一滑槽以及用于使彎折桿滑動且帶動使轉動葉片轉動90°的第二滑槽;與轉動葉片未連接的所述套管上設有用于與第一滑槽滑動連接的連接塊;位于所述收縮組件最底端的連接塊與所述第二篩板滑動卡接,且位于收縮組件最底端的連接塊上設有第二連接線,所述第一篩板上設有用于收卷所述第二連接線的收卷機構,通過上述設置,使得收卷機構轉動收卷第二連接線時,所述收縮組件進行收縮,第一連桿與第二連桿向水平方向折疊,套管向上移動,所述彎折桿沿著第二滑槽進行滑動并轉動,彎折桿帶動轉動葉片由豎直轉動為水平,第二篩板在連接塊的連接下向上移動;
所述殼體頂面上設有出氣口,位于所述第一篩板與所述第二篩板之間的殼體上連接有進液管,殼體下方設有進氣管,所述殼體底面設有出液口,
位于殼體底部的中心桿上套設有曝氣輪,且所述曝氣輪與中心桿上設有的定位銷卡接,曝氣輪通過連接管貫穿殼體底面并與殼體旋轉密封連接,且所述進氣管與曝氣輪轉動密封連接,連接管由設置在殼體外的電機驅動轉動;
所述曝氣輪內部中空,且曝氣輪上端面設有若干組氣孔,殼體底面設有與曝氣輪嚙合傳動的齒輪以及齒環,所述齒環與曝氣輪位于同一圓心,且齒環內環面設有與齒輪嚙合傳動的齒;通過上述設置,通過曝氣輪轉動使得齒環進行差速轉動;所述齒環通過圓環與殼體底面轉動連接。
進一步地,所述收卷機構包括開口向下的套殼以及轉輪,所述套殼外頂面設有用于下壓套殼的連接桿,所述連接桿上端貫穿殼體頂面,所述連接桿與殼體上下滑動密封連接,所述第一篩板上端面設有用于套殼底端伸入第一篩板內部的通孔,所述套殼外側壁底端設有用于與所述凸塊固定卡接的凹槽,所述轉輪設置在所述套殼內且轉輪通過第一彈簧與套殼內頂面轉動連接,轉輪外側壁上設有螺紋槽,所述套殼內側壁設有用于與所述螺紋槽滑動連接使套殼進行上下移動的滑塊,所述轉輪底面設有卷線桿,所述卷線桿與所述第一篩板下端面轉動連接,所述第二連接線穿過所述第一篩板并與所述卷線桿連接,所述第一篩板內部中空且設有凸塊,所述凸塊通過第二彈簧與第一篩板內壁連接,所述凸塊上設有第一連接線,位于所述出液口的殼體底面設有與殼體底面滑動連接的第一擋板,所述第一擋板上設有與其固定連接的第一擋塊,所述第一擋塊與所述第一連接線連接;所述圓環內環面設有用于與第一檔塊配合使第一擋板平移的第一撥塊,通過第一撥塊的設置,使得圓環轉動到第一檔塊位置時第一撥塊撥動第一擋塊開啟第一擋板;
通過上述設置,使得通過推動第一擋塊即可開啟出液口進行排液;使得當第一連接線拉動凸塊時,凸塊與凹槽斷開卡接,在第一彈簧的作用下,所述套殼與所述第一篩板分離,所述滑塊沿著凹槽向上移動,使得轉輪帶動卷線桿發生轉動;
進一步地,所述殼體底端外側壁設有多組取樣口,每組所述取樣口上均設有第二擋板,所述第二擋板與位于取樣口的殼體內壁滑動連接,且第二擋板上設有通過扭簧與其連接的第二擋塊,所述圓環外側面設有用于配合所述第二擋塊撥動使得第二擋板滑動的第二撥塊;所述第二擋板通過第三彈簧與殼體內壁連接,通過多組取樣口的設置,使得齒環轉動時,第二撥塊撥動第二擋塊,使得第二擋板滑動開啟,即可進行間隔的多組取樣。
進一步地,所述濾膜孔徑為0.45μm。
進一步地,所述連接管通過傳動帶與所述電機的輸出軸連接。
進一步地,所述殼體采用玻璃材料。
進一步地,所述進氣管連接有臭氧裝置,所述臭氧裝置包括依次通過管道與進氣管連接設置的流量計、臭氧濃度檢測儀、臭氧發生器以及氧氣瓶,所述出氣口連接有臭氧破壞器,通過上述設置,能夠有效滿足實驗完整得進行。
本發明還提供利用上述的實驗裝置分析非均相臭氧處理廢水的方法,包括以下步驟:
S1:通過進液管在殼體中加入的廢水與催化劑,開啟電機,對加入催化劑的廢水進行攪拌,同時,然后通過進氣管向曝氣輪通入臭氧,利用曝氣輪對加入催化劑的廢水進行曝氣;
S2:啟動收卷機構收卷第二連接線,收縮組件以及第二篩板向上移動,通過第二篩板上的濾膜分離得到分離后催化劑與液體樣品,收集出液管排出的液體樣品;按下連接桿使第二篩板復位,
S3:重復步驟S1-S2,利用所述分離后的催化劑進行多組重復實驗,得到多組液體樣品;
S4:分析各個所述液體樣品,測定其中特定有機物濃度、TOC值、UV254值、三維熒光強度和特征有機物的任意一種或多種,獲取數據,綜合分析評估催化臭氧效能。
本發明的有益效果是:
(1)本發明通過收卷機構以及攪拌機構的設置,使得實驗完成時能夠迅速從廢水中分離出催化劑,且通過轉動葉片以及第二篩板的設置,在分離后可以對催化劑進行擠壓進一步脫除廢水。
(2)本發明通過曝氣輪、齒環以及第二擋板的設置,使得實驗過程中的多組取樣更加方便,減少實驗人員的頻繁操作。
(發明人:付麗亞;吳昌永;宋玉棟)






