公布日:2024.05.24
申請日:2024.03.29
分類號:C02F9/00(2023.01)I;C02F1/38(2023.01)N;C02F1/00(2023.01)N;C02F1/02(2023.01)N;C02F7/00(2006.01)N;C02F1/78(2023.01)N
摘要
本發明公開了一種固液分離污水處理裝置,包括基臺,所述基臺頂部安裝有污泥罐,所述污泥罐頂部中心位置設有入料口,所述污泥罐內底部安裝有支撐腳,所述支撐腳安裝有污水罐,所述污水罐安裝有離心筒,所述離心筒與所述污水罐之間形成污水腔,所述離心筒周側均勻設有濾水孔,所述污泥罐安裝有電機,所述離心筒內壁安裝有螺旋帶料槽;所述污泥罐輸出端連接有下料管,所述污水腔輸出端連接有出水管,所述出水管輸出端連接有處理箱;還公開了一種固液分離污水處理方法,包括如下使用步驟:S1、將污水從所述入料口的正上方豎直向下引流到所述離心筒中;S2、根據投放的污水判定初級處理還是精細處理;S3、對污水進行初級處理;S4、對污水進行精細處理。

權利要求書
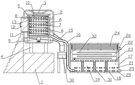
1.一種固液分離污水處理裝置,包括基臺(1),其特征在于:所述基臺(1)頂部安裝有污泥罐(2),所述污泥罐(2)頂部中心位置設有入料口(3),所述污泥罐(2)內底部安裝有支撐腳(4),所述支撐腳(4)安裝有污水罐(5),所述污水罐(5)上下貫通,所述污水罐(5)內部同軸心轉動安裝有離心筒(6),所述離心筒(6)與所述污水罐(5)之間形成污水腔(7),所述離心筒(6)僅上端開口,所述離心筒(6)周側均勻設有濾水孔(8),所述污泥罐(2)內底部安裝有輸出端與所述離心筒(6)底部連接的電機(9),所述離心筒(6)內壁安裝有螺旋帶料槽(10),所述螺旋帶料槽(10)的頂端水平面與所述污水罐(5)的頂端水平面持平;所述污泥罐(2)與所述污水腔(7)之間安裝有插槽(11),所述插槽(11)內滑動安裝有刷體(12),所述刷體(12)端部安裝有與所述離心筒(6)外壁接觸的刷毛(13),所述插槽(11)與所述刷體(12)之間安裝有鎖扣(14);所述污泥罐(2)輸出端連接有下料管(15),所述污水腔(7)輸出端連接有出水管(16),所述出水管(16)位于所述下料管(15)內部,所述出水管(16)輸出端連接有處理箱(17);所述處理箱(17)內底部豎直安裝有若干濾水板(18),所述濾水板(18)將所述處理箱(17)內底部分割為多個處理池(19),所述處理箱(17)內部安裝有曝氣管(20)和加熱管(21),所述曝氣管(20)位于所述加熱管(21)下側,所述曝氣管(20)輸入端安裝有高壓氣泵,所述加熱管(21)輸入端安裝有電加熱裝置,所述處理箱(17)內部于所述濾水板(18)上側安裝有混合腔(22),所述混合腔(22)內底部安裝有若干單向氣閥(23),所述混合腔(22)輸入端安裝有臭氧發生裝置,所述處理箱(17)內部安裝有輸入端與所述混合腔(22)輸出端連接的冷凝器(24),所述處理箱(17)設有粗處理排水管(25)和精處理排水管(26)。
2.根據權利要求1所述的一種固液分離污水處理裝置,其特征在于:所述基臺(1)側面匹配安裝有爬梯(27)。
3.根據權利要求1所述的一種固液分離污水處理裝置,其特征在于:所述刷毛(13)為硬質刷毛,所述刷毛與所述離心筒(6)過盈配合。
4.根據權利要求1所述的一種固液分離污水處理裝置,其特征在于:所述螺旋帶料槽(10)截面呈U型,所述螺旋帶料槽(10)底部均勻設有若干通孔(28),所述螺旋帶料槽(10)均勻設有擋料塊(29)。
5.根據權利要求1所述的一種固液分離污水處理裝置,其特征在于:所述污泥罐(2)內底部呈向著所述下料管(15)輸入端傾斜的斜錐狀。
6.根據權利要求1所述的一種固液分離污水處理裝置,其特征在于:所述下料管(15)輸出端配置有引流槽(30)。
7.根據權利要求1所述的一種固液分離污水處理裝置,其特征在于:所述處理箱(17)內部對稱設有若干定位插槽(31),所述濾水板(18)可拆卸式安裝于所述定位插槽(31),所述濾水板(18)至少有三塊。
8.根據權利要求1所述的一種固液分離污水處理裝置,其特征在于:所述混合腔(22)內部交錯安裝有若干擋板(32),所述擋板(32)將所述混合腔(22)內部形成S型氣路,臭氧發生裝置的輸出端置于S型氣路的起始端。
9.根據權利要求1所述的一種固液分離污水處理裝置,其特征在于:所述處理箱(17)側面設有多個插口(33),所述插口(33)螺紋連接有連接頭(34),所述連接頭(34)與所述插口(33)之間安裝有密封圈。
10.一種固液分離污水處理方法,包括如權利要求1~9所述的一種固液分離污水處理裝置,其特征在于,包括如下使用步驟:S1、將污水從所述入料口(3)的正上方豎直向下引流到所述離心筒(6)中,啟動所述電機(9)帶動所述離心筒(6)旋轉,在離心力的作用下,固態雜質由轉動的所述螺旋帶料槽(10)提升并甩入所述污泥罐(2)中,然后從所述下料管(15)排出,液態污水經過所述濾水孔(8)篩選后進入所述污水腔(7)中,然后從所述出水管(16)排入所述處理箱(17)中,離心期間,所述刷毛(13)與所述離心筒(6)的外壁接觸;S2、根據投放的污水判定初級處理還是精細處理;S3、僅需對污水進行初級處理時,在相鄰兩塊所述濾水板(18)中添加污水處理用填料,然后啟動高壓氣泵進行曝氣處理,并于所述粗處理排水管(25)輸出端處接取處理后的污水;S4、需對污水進行精細處理時,關閉所述粗處理排水管(25),在相鄰兩塊所述濾水板(18)中添加污水處理用填料,啟動高壓氣泵進行曝氣處理,啟動電加熱裝置使所述加熱管(21)升溫,進而使所述處理箱(17)內部的污水升溫變為氣態,經過所述單向氣閥(23)進入所述混合腔(22)內部,啟動臭氧發生裝置對氣態的污水進行臭氧凈化,然后啟動所述冷凝器(24),將氣態的與臭氧進行混合后的污水冷凝為液態,并于所述精處理排水管(26)輸出端處接取處理后的污水。
發明內容
針對上述背景技術所提出的問題,本發明的目的是:旨在提供一種固液分離污水處理裝置及處理方法。
為實現上述技術目的,本發明采用的技術方案如下:
一種固液分離污水處理裝置,包括基臺,所述基臺頂部安裝有污泥罐,所述污泥罐頂部中心位置設有入料口,所述污泥罐內底部安裝有支撐腳,所述支撐腳安裝有污水罐,所述污水罐上下貫通,所述污水罐內部同軸心轉動安裝有離心筒,所述離心筒與所述污水罐之間形成污水腔,所述離心筒僅上端開口,所述離心筒周側均勻設有濾水孔,所述污泥罐內底部安裝有輸出端與所述離心筒底部連接的電機,所述離心筒內壁安裝有螺旋帶料槽,所述螺旋帶料槽的頂端水平面與所述污水罐的頂端水平面持平;
所述污泥罐與所述污水腔之間安裝有插槽,所述插槽內滑動安裝有刷體,所述刷體端部安裝有與所述離心筒外壁接觸的刷毛,所述插槽與所述刷體之間安裝有鎖扣;
所述污泥罐輸出端連接有下料管,所述污水腔輸出端連接有出水管,所述出水管位于所述下料管內部,所述出水管輸出端連接有處理箱;
所述處理箱內底部豎直安裝有若干濾水板,所述濾水板將所述處理箱內底部分割為多個處理池,所述處理箱內部安裝有曝氣管和加熱管,所述曝氣管位于所述加熱管下側,所述曝氣管輸入端安裝有高壓氣泵,所述加熱管輸入端安裝有電加熱裝置,所述處理箱內部于所述濾水板上側安裝有混合腔,所述混合腔內底部安裝有若干單向氣閥,所述混合腔輸入端安裝有臭氧發生裝置,所述處理箱內部安裝有輸入端與所述混合腔輸出端連接的冷凝器,所述處理箱設有粗處理排水管和精處理排水管;
一種固液分離污水處理方法,包括如下使用步驟:
S1、將污水從所述入料口的正上方豎直向下引流到所述離心筒中,啟動所述電機帶動所述離心筒旋轉,在離心力的作用下,固態雜質由轉動的所述螺旋帶料槽提升并甩入所述污泥罐中,然后從所述下料管排出,液態污水經過所述濾水孔篩選后進入所述污水腔中,然后從所述出水管排入所述處理箱中,離心期間,所述刷毛與所述離心筒的外壁接觸;
S2、根據投放的污水判定初級處理還是精細處理;
S3、僅需對污水進行初級處理時,在相鄰兩塊所述濾水板中添加污水處理用填料,然后啟動高壓氣泵進行曝氣處理,并于所述粗處理排水管輸出端處接取處理后的污水;
S4、需對污水進行精細處理時,關閉所述粗處理排水管,在相鄰兩塊所述濾水板中添加污水處理用填料,啟動高壓氣泵進行曝氣處理,啟動電加熱裝置使所述加熱管升溫,進而使所述處理箱內部的污水升溫變為氣態,經過所述單向氣閥進入所述混合腔內部,啟動臭氧發生裝置對氣態的污水進行臭氧凈化,然后啟動所述冷凝器,將氣態的與臭氧進行混合后的污水冷凝為液態,并于所述精處理排水管輸出端處接取處理后的污水。
進一步限定,所述基臺側面匹配安裝有爬梯,這樣的設計,利于對刷體進行更換清潔。
進一步限定,所述刷毛為硬質刷毛,所述刷毛與所述離心筒過盈配合,這樣的設計,保證刷毛對離心筒上濾水孔的疏通清潔效果。
進一步限定,所述螺旋帶料槽截面呈U型,所述螺旋帶料槽底部均勻設有若干通孔,所述螺旋帶料槽均勻設有擋料塊,這樣的設計,通孔起到濾水的目的,擋料塊能加強固態物資的滯留效果,進而易于輸送到最頂部并甩入污泥罐中。
進一步限定,所述污泥罐內底部呈向著所述下料管輸入端傾斜的斜錐狀,這樣的設計,利于在自重和設備運行的振動中流入下料管中。
進一步限定,所述下料管輸出端配置有引流槽,這樣的設計,便于對固態雜質進行引流收集。
進一步限定,所述處理箱內部對稱設有若干定位插槽,所述濾水板可拆卸式安裝于所述定位插槽,所述濾水板至少有三塊,這樣的設計,便于濾水板的安裝更換,三塊濾水板的設置能分割出四個填料區,保證對污水的處理效果。
進一步限定,所述混合腔內部交錯安裝有若干擋板,所述擋板將所述混合腔內部形成S型氣路,臭氧發生裝置的輸出端置于S型氣路的起始端,這樣的設計,延長氣態污水的移動路徑,保證與臭氧的充分反應。
進一步限定,所述處理箱側面設有多個插口,所述插口螺紋連接有連接頭,所述連接頭與所述插口之間安裝有密封圈,這樣的設計,保證與設備輸入端或輸出端的對接,且保證了密封性。
采用本發明的有益效果:
采用本發明的結構設計,以離心的方式對污水進行固液分離,且在刷毛的效果下,保證了離心筒的正常持續運行,保證固液分離效果;
本發明可以根據進入污水的污染程度進行適配性使用,并針對性處理,降低設備資源的浪費;
本發明能實現污水的液態變氣態,氣態再轉為液態的轉化,于期間進行物理接觸和氣液混合反應,保證了對污水的處理效果。
(發明人:王磊;夏曉丹;陳海波;李文鵬;郭聰;陳傳虎)






