公布日:2023.11.17
申請日:2023.09.15
分類號:C02F1/52(2023.01)I;C02F1/00(2023.01)I;B01D29/64(2006.01)I;B01D29/72(2006.01)I;B01D29/96(2006.01)I
摘要
本發明公開了一種凈水用的廢水回流裝置,涉及廢水回流技術領域;為了對廢水中的顆粒物進行處理;具體包括底座、絮凝劑添加部和過濾部,所述過濾部包括:處理筒:其通過支撐塊固定于底座頂部,且處理筒頂部固定有支架;安插軸:兩個安插軸分別活動連接于處理筒兩側開設的通孔內壁,且兩個安插軸之間通過銷固定有濾網;旋轉電機:其固定于處理筒側壁。本發明通過設置有錐齒盤可以驅動錐齒輪進行旋轉,從而可以對錐齒輪的角度進行調節,當錐齒輪旋轉至和濾網垂直的位置時,此時利用限位塊二的限位作用,使得旋轉刮板可以在旋轉的過程中對濾網表面附著的顆粒物進行刮動,避免顆粒物對濾網表面的濾孔產生堵塞。

權利要求書
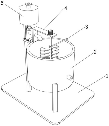
1.一種凈水用的廢水回流裝置,包括底座(1)、絮凝劑添加部和過濾部,其特征在于,所述過濾部包括:處理筒(2):其通過支撐塊(8)固定于底座(1)頂部,且處理筒(2)頂部固定有支架(4);安插軸(30):兩個安插軸(30)分別活動連接于處理筒(2)兩側開設的通孔內壁,且兩個安插軸(30)之間通過銷固定有濾網(26);旋轉電機(13):其固定于處理筒(2)側壁,且旋轉電機(13)輸出端通過銷固定于其中一個安插軸(30)一端;出水閥(9):其通過法蘭連接于處理筒(2)底部;驅動電機(7):其固定于支架(4)頂部外壁,且驅動電機(7)輸出端通過聯軸器連接有驅動桿(24);錐齒盤(25):其通過連桿固定于驅動桿(24)圓周外壁;支撐環(37):其通過銷固定于處理筒(2)圓周內壁;容置箱(36):其活動連接于支撐環(37)圓周外壁,且容置箱(36)圓周外壁分別通過銷固定有限位塊一(29)和限位塊二(31);中間軸(32):其活動連接于容置箱(36)表面開設的通孔內壁,且中間軸(32)一端通過銷固定有和錐齒盤(25)嚙合的錐齒輪(28),中間軸(32)另外一端通過銷固定有旋轉刮板(27);墊塊(35):其固定于容置箱(36)底部,且墊塊(35)底部外壁通過銷固定有封板(34)。
2.根據權利要求1所述的一種凈水用的廢水回流裝置,其特征在于,所述絮凝劑添加部包括立桿(10)和絮凝劑筒(5),所述立桿(10)固定于底座(1)頂部外壁,所述絮凝劑筒(5)固定于立桿(10)頂部,所述絮凝劑筒(5)頂部外壁一體成型有加注管(14),所述絮凝劑筒(5)底部焊接有出料管(19)。
3.根據權利要求2所述的一種凈水用的廢水回流裝置,其特征在于,所述立桿(10)圓周外壁活動連接有內置架(22),且內置架(22)頂部通過銷固定有安裝環(17),所述立桿(10)圓周外壁通過銷固定有卷簧(16),且卷簧(16)遠離立桿(10)的一端通過銷固定于安裝環(17)內壁。
4.根據權利要求3所述的一種凈水用的廢水回流裝置,其特征在于,所述內置架(22)頂部外壁通過銷固定有外延桿(15),且外延桿(15)遠離內置架(22)的一端通過銷固定有和出料管(19)內徑適配的封堵板(6)。
5.根據權利要求4所述的一種凈水用的廢水回流裝置,其特征在于,所述內置架(22)一端開設的通孔內壁活動連接有T型桿(23),且T型桿(23)圓周外壁套接有彈簧(21),且彈簧(21)兩端分別通過銷固定于內置架(22)一側內壁和T型桿(23)一側內壁,所述T型桿(23)一端通過銷固定有撥動塊(20)。
6.根據權利要求5所述的一種凈水用的廢水回流裝置,其特征在于,所述驅動桿(24)圓周外壁通過銷固定有弧形桿(3),且弧形桿(3)一端焊接有和撥動塊(20)適配的驅動柱(12)。
7.根據權利要求6所述的一種凈水用的廢水回流裝置,其特征在于,所述驅動桿(24)圓周外壁通過銷固定有葉片(33)。
8.根據權利要求7所述的一種凈水用的廢水回流裝置,其特征在于,所述支架(4)表面開設的通孔內壁通過嵌入方式固定有引導管(38)。
9.根據權利要求8所述的一種凈水用的廢水回流裝置,其特征在于,所述內置架(22)一側外壁固定有銜接桿(11),且銜接桿(11)一端通過銷固定有敲擊塊(18)。
發明內容
本發明的目的是為了解決現有技術中存在的缺點,而提出的一種凈水用的廢水回流裝置。
為了實現上述目的,本發明采用了如下技術方案:
一種凈水用的廢水回流裝置,包括底座、絮凝劑添加部和過濾部,所述過濾部包括:
處理筒:其通過支撐塊固定于底座頂部,且處理筒頂部固定有支架;
安插軸:兩個安插軸分別活動連接于處理筒兩側開設的通孔內壁,且兩個安插軸之間通過銷固定有濾網;
旋轉電機:其固定于處理筒側壁,且旋轉電機輸出端通過銷固定于其中一個安插軸一端;
出水閥:其通過法蘭連接于處理筒底部;
驅動電機:其固定于支架頂部外壁,且驅動電機輸出端通過聯軸器連接有驅動桿;
錐齒盤:其通過連桿固定于驅動桿圓周外壁;
支撐環:其通過銷固定于處理筒圓周內壁;
容置箱:其活動連接于支撐環圓周外壁,且容置箱圓周外壁分別通過銷固定有限位塊一和限位塊二;
中間軸:其活動連接于容置箱表面開設的通孔內壁,且中間軸一端通過銷固定有和錐齒盤嚙合的錐齒輪,中間軸另外一端通過銷固定有旋轉刮板;
墊塊:其固定于容置箱底部,且墊塊底部外壁通過銷固定有封板。
優選的:所述絮凝劑添加部包括立桿和絮凝劑筒,所述立桿固定于底座頂部外壁,所述絮凝劑筒固定于立桿頂部,所述絮凝劑筒頂部外壁一體成型有加注管,所述絮凝劑筒底部焊接有出料管。
優選的:所述立桿圓周外壁活動連接有內置架,且內置架頂部通過銷固定有安裝環,所述立桿圓周外壁通過銷固定有卷簧,且卷簧遠離立桿的一端通過銷固定于安裝環內壁。
優選的:所述內置架頂部外壁通過銷固定有外延桿,且外延桿遠離內置架的一端通過銷固定有和出料管內徑適配的封堵板。
優選的:所述內置架一端開設的通孔內壁活動連接有T型桿,且T型桿圓周外壁套接有彈簧,且彈簧兩端分別通過銷固定于內置架一側內壁和T型桿一側內壁,所述T型桿一端通過銷固定有撥動塊。
優選的:所述驅動桿圓周外壁通過銷固定有弧形桿,且弧形桿一端焊接有和撥動塊適配的驅動柱。
優選的:所述驅動桿圓周外壁通過銷固定有葉片。
在前述方案的基礎上:所述支架表面開設的通孔內壁通過嵌入方式固定有引導管。
在前述方案的基礎上優選的:所述內置架一側外壁固定有銜接桿,且銜接桿一端通過銷固定有敲擊塊。
本發明的有益效果為:
1.通過設置有錐齒盤可以驅動錐齒輪進行旋轉,從而可以對錐齒輪的角度進行調節,當錐齒輪旋轉至和濾網垂直的位置時,此時利用限位塊二的限位作用,使得旋轉刮板可以在旋轉的過程中對濾網表面附著的顆粒物進行刮動,避免顆粒物對濾網表面的濾孔產生堵塞。
2.當旋轉刮板旋轉至和濾網表面平行時,此時通過旋轉電機可以驅動濾網和安插軸旋轉,使得濾網表面過濾截留的顆粒物沿著濾網滑落至處理筒底部,從而便于對其進行收集和處理。
3.通過設置有驅動柱可以對撥動塊的平面區域進行間歇性撥動,利用撥動塊可以驅動內置架沿著立桿圓周外壁進行旋轉,進而使得封堵板和出料管底部在產生相對開度后,可以將絮凝劑筒內的絮凝劑通過引導管引導至處理筒內,從而實現絮凝劑的間歇性上料。
4.通過設置有敲擊塊使其在卷簧的回彈力的作用下間歇性對安插軸進行錘擊,安插軸在受到振動后可以有效對濾網上表面截留的顆粒物進行抖動,進一步避免顆粒物對濾網表面的濾孔產生堵塞。
(發明人:張曉姐;李娜)






