公布日:2023.11.17
申請日:2023.08.07
分類號:B01D21/02(2006.01)I;B01D21/26(2006.01)I;B01D21/01(2006.01)I;B01D21/24(2006.01)I
摘要
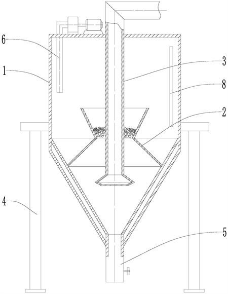
本發明公開了一種混合溶液中固體雜質分離用錐形沉降罐,包括主罐體、二級分離器以及投料機構。主罐體的周圍設置有支撐主罐體的支撐機構,主罐體包括倒錐沉降區和位于倒錐沉降區上方的靜置區,倒錐沉降區的底部連接有排泥管,主罐體頂部設有連通靜置區的出水管;二級分離器設于主罐體的內部,二級分離器包括正錐筒和固定至正錐筒上方的倒錐筒,正錐筒和倒錐筒的連接處形成集束口,以便于將含泥污水中的小顆粒懸浮污泥雜質聚集,實現對含泥污水的二次沉降。投料機構包括貫穿并固定至主罐體頂壁的投料管,投料管豎直向下貫穿二級分離器并在倒錐沉降區形成投料口,投料管的外徑小于集束口的內徑,保證沉降完成的含泥污水能夠流入靜置區。

權利要求書
1.一種混合溶液中固體雜質分離用錐形沉降罐,其特征在于,包括:主罐體,所述主罐體的周圍設置有支撐所述主罐體的支撐機構,所述主罐體包括倒錐沉降區和位于所述倒錐沉降區上方的靜置區,所述倒錐沉降區的橫截面自上至下逐漸變小,所述倒錐沉降區的底部連接有排泥管,所述主罐體頂部設有連通所述靜置區的出水管;二級分離器,所述二級分離器設于所述主罐體的內部,所述二級分離器包括正錐筒和固定至所述正錐筒上方的倒錐筒,所述正錐筒的底部固定至所述倒錐沉降區的側壁,所述正錐筒和所述倒錐筒的連接處形成集束口;投料機構,所述投料機構包括貫穿并固定至所述主罐體頂壁的投料管,所述投料管豎直向下貫穿所述二級分離器并在所述倒錐沉降區形成投料口,所述投料管的外徑小于所述集束口的內徑。
2.根據權利要求1所述的一種混合溶液中固體雜質分離用錐形沉降罐,其特征在于,所述投料管底部安裝有分布盤,所述分布盤呈錐形,且所述分布盤能夠使投料管內的含泥污水呈散射狀流入所述倒錐沉降區。
3.根據權利要求1所述的一種混合溶液中固體雜質分離用錐形沉降罐,其特征在于,所述投料機構還包括設于所述投料管內的臥螺離心器,所述臥螺離心器包括螺旋推料裝置、轉鼓和差速驅動機,所述轉鼓中設有空腔,所述螺旋推料裝置部分位于所述轉鼓內部,所述螺旋推料裝置包括與所述空腔連通的內筒以及安裝至所述內筒外側的螺旋葉片,所述差速驅動機能夠驅動所述螺旋推料裝置和所述轉鼓以預設速度差同軸同向旋轉。
4.根據權利要求1所述的一種混合溶液中固體雜質分離用錐形沉降罐,其特征在于,還包括防堵機構,所述防堵機構包括水管、高壓噴管以及連接所述高壓噴管的水泵,所述高壓噴管豎直設于所述排泥管內,且所述高壓噴管的軸線與所述排泥管的軸線重合,所述水泵通過水管連接至所述靜置區。
5.根據權利要求4所述的一種混合溶液中固體雜質分離用錐形沉降罐,其特征在于,所述高壓噴管的四周均勻分布有高壓噴頭,所述高壓噴頭朝向所述倒錐沉降區傾斜設置。
6.根據權利要求1所述的一種混合溶液中固體雜質分離用錐形沉降罐,其特征在于,所述正錐筒位于所述倒錐沉降區,所述倒錐筒位于所述靜置區,所述正錐筒和所述倒錐筒的水平分界面同為所述靜置區和所述倒錐沉降區的水平分界面,所述倒錐筒的錐度小于所述正錐筒的錐度。
7.根據權利要求1所述的一種混合溶液中固體雜質分離用錐形沉降罐,其特征在于,所述出水管為虹吸管或所述出水管的端部安裝有抽水機。
8.根據權利要求1所述的一種混合溶液中固體雜質分離用錐形沉降罐,其特征在于,還包括檢測控制機構,所述檢測控制機構包括水位傳感器、溫度傳感器以及加熱組件,所述溫度傳感器與所述加熱組件信號連接,所述主罐體的外壁還包裹有保溫層。
9.根據權利要求1所述的一種混合溶液中固體雜質分離用錐形沉降罐,其特征在于,所述倒錐沉降區的側壁內部填裝有磁性件。
10.根據權利要求1所述的一種混合溶液中固體雜質分離用錐形沉降罐,其特征在于,所述倒錐沉降區的側壁安裝有超細鏡面板。
發明內容
針對上述的不足,本發明提供了一種混合溶液中固體雜質分離用錐形沉降罐,通過在主罐體底部設置倒錐沉降區,使得沉降至主罐體底部的污泥能夠沿倒錐沉降區的傾斜側壁滑落至排泥管,以防止污泥在主罐體內積累,保證主罐體對含泥污水的處理效率和處理質量。通過在主罐體內設置二級分離器,對一次沉降完成的含泥污水進行二次沉降,大大提高了對含泥污水的處理質量,減小后人工清理周期,提高后續過濾系統的使用壽命,降低污水處理系統的成本。
本發明是通過以下技術方案實現的:
一種混合溶液中固體雜質分離用錐形沉降罐,包括主罐體、二級分離器以及投料機構。主罐體的周圍設置有支撐主罐體的支撐機構,主罐體包括倒錐沉降區和位于倒錐沉降區上方的靜置區,倒錐沉降區的橫截面自上至下逐漸變小,倒錐沉降區的底部連接有排泥管,主罐體頂部設有連通靜置區的出水管;二級分離器設于主罐體的內部,二級分離器包括正錐筒和固定至正錐筒上方的倒錐筒,正錐筒的底部固定至倒錐沉降區的側壁,正錐筒和倒錐筒的連接處形成集束口,以便于將含泥污水中的小顆粒懸浮污泥雜質聚集,實現對含泥污水的二次沉降。投料機構包括貫穿并固定至主罐體頂壁的投料管,投料管豎直向下貫穿二級分離器并在倒錐沉降區形成投料口,投料管的外徑小于集束口的內徑,保證沉降完成的含泥污水能夠流入靜置區。
進一步地,投料管底部安裝有分布盤,分布盤呈錐形,且分布盤能夠使投料管內的含泥污水呈散射狀流入倒錐沉降區,以加速含泥污水在倒錐沉降區的沉降速度,提升對含泥污水的沉降效率。
進一步地,投料機構還包括設于投料管內的臥螺離心器,臥螺離心器包括螺旋推料裝置、轉鼓和差速驅動機,轉鼓中設有空腔,螺旋推料裝置部分位于轉鼓內部,螺旋推料裝置包括與空腔連通的內筒以及安裝至內筒外側的螺旋葉片,差速驅動機能夠驅動螺旋推料裝置和轉鼓以預設速度差同軸同向旋轉,以使質量大的污泥甩入空腔,實現污泥在空腔內的初步凝結,加速污泥落入倒錐沉降區的沉降速率。
進一步地,錐形沉降罐還包括防堵機構,防堵機構包括水管、高壓噴管以及連接高壓噴管的水泵,高壓噴管豎直設于排泥管內,且高壓噴管的軸線與排泥管的軸線重合,水泵通過水管連接至靜置區。采用高壓噴管噴射高壓水的形式,對凝結在排泥管內的污泥進行噴散,防止污泥集聚堵塞排泥管。
進一步地,高壓噴管的四周均勻分布有高壓噴頭,高壓噴頭朝向倒錐沉降區傾斜設置,以便于充分吹散堵塞在排泥管內的污泥。
進一步地,正錐筒位于倒錐沉降區,倒錐筒位于靜置區,正錐筒和倒錐筒的水平分界面同為靜置區和倒錐沉降區的水平分界面,使得含泥污水在倒錐倒錐沉降區能夠經過2次沉降。倒錐筒的錐度小于正錐筒的錐度,倒錐筒主要起到承載聚集污泥的作用,以便于聚集形成的污泥能夠通過集束口落入排泥管內。
進一步地,出水管為虹吸管或出水管的端部安裝有抽水機,實現對靜置區內沉降完成的污水的排出。
進一步地,錐形沉降罐還包括檢測控制機構,檢測控制機構包括水位傳感器、溫度傳感器以及加熱組件,水位傳感器豎直設置在主罐體內,以檢測主罐體內的液體深,進而有助于控制向主罐體內的進水量。溫度傳感器與加熱組件信號連接,主罐體的外壁還包裹有保溫層,實現對主罐體內的溫度的控制,保證錐形沉降罐處于較高的沉降效率。
進一步地,倒錐沉降區的側壁內部填裝有磁性件,以實現對含泥污水中所含的鐵磁性金屬雜質進行吸附。
進一步地,倒錐沉降區的側壁安裝有超細鏡面板,減小位于倒錐沉降區的側壁的污泥流向排泥管的阻力,進而防止污泥在超細鏡面板處聚集。
本發明的有益效果:
1、將主罐體的底部設置為倒錐形狀,污泥在主罐體內沉降后與倒錐沉降區的底壁抵接,并沿倒錐沉降區的底壁滑移至主罐體底部的排泥管內,防止污泥在主罐體內堆積而造成固液分離不徹底的情況,保證對含泥污水的沉降效果;
2、在主罐體內設置二級分離器,一次沉降后的污泥顆粒在二級分離器的集束口處聚集形成較大的污泥顆粒,進而二次沉降至排泥管,提高對含泥污水的處理質量,降低對污水處理系統的使用成本。
(發明人:張承賀;石偉龍;高博琦;耿鵬;桑中貞;劉克威;李炳增;田鵬)






