公布日:2024.05.17
申請日:2024.03.06
分類號:C02F3/12(2023.01)I;C02F3/30(2023.01)I;C02F3/34(2023.01)I;C02F101/10(2006.01)N;C02F101/16(2006.01)N;C02F101/30(2006.01)N
摘要:本發明公開了一種連續流好氧顆粒污泥生化污水處理系統及其方法。處理系統包括第一、第二和第三生化反應池;第一生化反應池設置有第一進水口、第一出水口和污泥入口,第二生化反應池設置有第二進水口、第二出水口和中清液入口,第三生化反應池設置有污泥出口、中清出口和上清出口,第三生化反應池內部安裝有淘選澄清器用以分離泥水混合液形成好氧顆粒污泥、中清液和上清液;原污水與好氧顆粒污泥在第一生化反應池內反應形成飽食期;泥水混合液與中清液在第二生化反應池內反應形成饑餓期;好氧顆粒污泥回流至第一生化反應池,中清液回流至第二生化反應池,上清液外排。本發明能夠為現有連續流工藝的構筑物改造提供理論和實際參考依據。

權利要求書
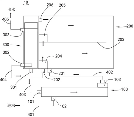
1.一種連續流好氧顆粒污泥生化污水處理系統,其特征在于,包括沿著水流方向依次順序連接的第一生化反應池、第二生化反應池和第三生化反應池;所述第一生化反應池設置有第一進水口、第一出水口和污泥入口,所述第二生化反應池設置有第二進水口、第二出水口和中清液入口,所述第三生化反應池設置有污泥出口、中清出口和上清出口,所述第三生化反應池內部安裝有淘選澄清器,所述淘選澄清器用以分離泥水混合液形成好氧顆粒污泥、中清液和上清液;所述第一進水口通過第一管道連接污水源,所述污泥入口通過第三管道連接污泥出口,污水源的原污水與所述淘選澄清器分離出的好氧顆粒污泥在所述第一生化反應池內充分混合反應,形成飽食期;所述第二進水口通過第二管道連接所述第一出水口,所述中清液入口通過第四管道連接所述中清出口,所述第一生化反應池流出的泥水混合液與所述淘選澄清器分離出的中清液在所述第二生化反應池內進行反應,形成饑餓期;所述第二出水口與所述第三生化反應池相通,所述上清出口連接于第五管道,所述第二生化反應池流出的環流混合液在所述淘選澄清器的選擇壓力下沉淀分離,好氧顆粒污泥通過所述第三管道回流至所述第一生化反應池,中清液通過所述第四管道、所述中清液入口回流至所述第二生化反應池,上清液通過所述第五管道排出系統外。
2.根據權利要求1所述的連續流好氧顆粒污泥生化污水處理系統,其特征在于,所述第一生化反應池內部具有迂回分布的推流通道,所述推流通道為水平迂回分布或者垂直迂回分布;其中,所述第一進水口與所述污泥入口靠近于所述推流通道的首端,所述第一出水口位于所述推流通道的末端。
3.根據權利要求2所述的連續流好氧顆粒污泥生化污水處理系統,其特征在于,所述推流通道為垂直迂回分布,所述推流通道包括污泥氣提升流通道、多個混合液氣提升流通道和多個混合液降流通道,多個混合液降流通道與所述多個混合液氣提升流通道交替連通呈垂直迂回分布,且垂直迂回分布的首端為所述混合液降流通道、尾端為所述混合液氣提升流通道,所述污泥氣提升流通道連通于首端的所述混合液降流通道,所述污泥入口連通于所述污泥氣提升流通道。
4.根據權利要求3所述的連續流好氧顆粒污泥生化污水處理系統,其特征在于,所述第一生化反應池內還設置有氣提裝置,所述污泥氣提升流通道內以及各個所述混合液氣提升流通道中的至少一個內設置有所述氣提裝置。
5.根據權利要求1~4任意一項所述的連續流好氧顆粒污泥生化污水處理系統,其特征在于,所述第二生化反應池內設置有隔板和動力環流裝置,所述隔板和所述動力環流裝置配合以用于實現所述第二生化反應池內泥水混合液的均勻混合;所述第二生化反應池內還設置有靠近于所述中清液入口的動力回流裝置;所述動力環流裝置和動力回流裝置分別獨立地選自氣提裝置或者穿墻泵。
6.根據權利要求1~4任意一項所述的連續流好氧顆粒污泥生化污水處理系統,其特征在于,所述淘選澄清器包括澄清箱體以及擋板,所述擋板設置在所述澄清箱體內并與所述澄清箱體的其中一個內壁側以及底壁之間均具有間隔,且所述擋板與該內側壁之間形成用于進液的進水區;所述擋板與所述澄清箱體的相對的內壁側之間形成第一沉淀區域以及第二沉淀區域,其中所述第一沉淀區域位于所述第二沉淀區域的下方,所述進水區延伸至所述第一沉淀區域,所述第一沉淀區域用于分離沉淀污泥顆粒,所述第二沉淀區域用于分離中清液與上清液。
7.根據權利要求6所述的連續流好氧顆粒污泥生化污水處理系統,其特征在于,所述澄清箱體的底部具有沉淀區出口,所述沉淀區出口與所述污泥出口相通;所述澄清箱體的中部設置有中清液出水管,所述中清液出水管連通于所述中清出口;所述澄清箱體的頂部設置有上清液出水槽,所述上清液出水槽與所述上清出口相通。
8.根據權利要求7所述的連續流好氧顆粒污泥生化污水處理系統,其特征在于,所述中清液出水管和上清液出水槽設置在所述澄清箱體內同一側或者兩側。
9.根據權利要求7所述的連續流好氧顆粒污泥生化污水處理系統,其特征在于,所述澄清箱體的底部呈錐形漏斗狀結構;所述錐形漏斗狀結構的其中兩個相對的側壁平行設置,所述錐形漏斗狀結構的另外兩個相對的側壁相對于水平面傾斜設置,兩個傾斜側壁中的其中一個傾斜角度為30°~45°,另一個傾斜角度為45°~60°。
10.根據權利要求7所述的連續流好氧顆粒污泥生化污水處理系統,其特征在于,所述第二沉淀區域沿著水平面的沉淀面積與所述中清液出水管的截面積比值為50:1~200:1。
11.一種連續流好氧顆粒污泥生化污水處理方法,其特征在于,采用權利要求1~10任意一項所述的連續流好氧顆粒污泥生化污水處理系統,包括如下步驟:步驟S1:原污水進入第一生化反應池并與第三生化反應池內的淘選澄清器分離出的好氧顆粒污泥形成泥水混合液,回流的好氧顆粒污泥與新鮮的原污水充分接觸,形成飽食期;在飽食期階段,可快速生物降解的基質轉化為細胞內的可生物降解儲存基質,為好氧顆粒污泥的形成創造優勢條件,泥水混合液中的好氧顆粒污泥大量增殖,且泥水混合液在迂回流動過程中,好氧顆粒污泥之間不斷碰撞聚集,誘導EPS分泌,增強好氧顆粒污泥細胞疏水性,提升好氧顆粒污泥的致密性,形成更光滑、致密的好氧顆粒污泥;步驟S2:步驟S1中泥水混合液進入第二生化反應池并與淘選澄清器分離出的中清液形成環流混合液,由于進入第二生化反應池的泥水混合物有機物匱乏,微生物底物和營養物質受到限制,形成饑餓期,同時回流的中清液的稀釋作用加劇饑餓環境,在饑餓期階段,泥水混合液在第二生化反應池內進行反應以淘汰絮狀污泥,并提高好氧顆粒污泥的比例;步驟S3:步驟S2中的環流混合液由第二生化反應池進入第三生化反應池,在淘選澄清器的選擇壓力下的沉淀分離形成好氧顆粒污泥、中清液和上清液;好氧顆粒污泥通過第三管道回流至所述第一生化反應池,中清液通過第四管道回流至所述第二生化反應池,上清液通過第五管道排出系統外。
12.根據權利要求11所述的連續流好氧顆粒污泥生化污水處理方法,其特征在于,所述第一生化反應池的水力停留時間與所述第二生化反應池的水力停留時間之比為1:2~1:10。
發明內容
基于此,有必要提供一種連續流好氧顆粒污泥生化污水處理系統。
一種連續流好氧顆粒污泥生化污水處理系統,包括沿著水流方向依次順序連接的第一生化反應池、第二生化反應池和第三生化反應池;
所述第一生化反應池設置有第一進水口、第一出水口和污泥入口,所述第二生化反應池設置有第二進水口、第二出水口和中清液入口,所述第三生化反應池設置有污泥出口、中清出口和上清出口,所述第三生化反應池內部安裝有淘選澄清器,所述淘選澄清器用以分離泥水混合液形成好氧顆粒污泥、中清液(含有部分絮狀污泥的混合液)和上清液;
所述第一進水口通過第一管道連接污水源,所述污泥入口通過第三管道連接污泥出口,污水源的原污水與所述淘選澄清器分離出的好氧顆粒污泥在所述第一生化反應池內充分混合反應,形成飽食期;
所述第二進水口通過第二管道連接所述第一出水口,所述中清液入口通過第四管道連接所述中清出口,所述第一生化反應池流出的泥水混合液與所述淘選澄清器分離出的中清液在所述第二生化反應池內進行反應,形成饑餓期;
所述第二出水口與所述第三生化反應池相通,所述上清出口連接于第五管道,所述第二生化反應池流出的環流混合液在所述淘選澄清器的選擇壓力下沉淀分離,好氧顆粒污泥通過所述第三管道回流至所述第一生化反應池,中清液通過所述第四管道、所述中清液入口回流至所述第二生化反應池,上清液通過所述第五管道排出系統外。
在其中一些實施例中,所述第一生化反應池內部具有迂回分布的推流通道,所述推流通道為水平迂回分布或者垂直迂回分布;其中,所述第一進水口與所述污泥入口靠近于所述推流通道的首端,所述第一出水口位于所述推流通道的末端。
在其中一些實施例中,所述推流通道為垂直迂回分布,所述推流通道包括污泥氣提升流通道、多個混合液氣提升流通道和多個混合液降流通道,多個混合液降流通道與所述多個混合液氣提升流通道交替連通呈垂直迂回分布,且垂直迂回分布的首端為所述混合液降流通道、尾端為所述混合液氣提升流通道,所述污泥氣提升流通道連通于首端的所述混合液降流通道,所述污泥入口連通于所述污泥氣提升流通道。
在其中一些實施例中,所述第一生化反應池內還設置有氣提裝置,所述污泥氣提升流通道內以及各個所述混合液氣提升流通道中的至少一個內設置有所述氣提裝置。
在其中一些實施例中,所述第二生化反應池內設置有隔板和動力環流裝置,所述隔板和所述動力環流裝置配合以用于實現所述第二生化反應池內泥水混合液的均勻混合;所述第二生化反應池內還設置有靠近于所述中清液入口的動力回流裝置;所述動力環流裝置和動力回流裝置分別獨立地選自氣提裝置或者穿墻泵。
在其中一些實施例中,所述淘選澄清器包括澄清箱體以及擋板,所述擋板設置在所述澄清箱體內并與所述澄清箱體的其中一個內壁側以及底壁之間均具有間隔,且所述擋板與該內側壁之間形成用于進液的進水區。
所述擋板與所述澄清箱體的相對的內壁側之間形成第一沉淀區域以及第二沉淀區域,其中所述第一沉淀區域位于所述第二沉淀區域的下方,所述進水區延伸至所述第一沉淀區域,所述第一沉淀區域用于分離沉淀污泥顆粒,所述第二沉淀區域用于分離中清液與上清液。
在其中一些實施例中,所述澄清箱體的底部具有沉淀區出口,所述沉淀區出口與所述污泥出口相通;所述澄清箱體的中部設置有中清液出水管,所述中清液出水管連通于所述中清出口;所述澄清箱體的頂部設置有上清液出水槽,所述上清液出水槽與所述上清出口相通。
在其中一些實施例中,所述中清液出水管和上清液出水槽設置在所述澄清箱體內同一側或者兩側。
在其中一些實施例中,所述澄清箱體的底部呈錐形漏斗狀結構;
所述錐形漏斗狀結構的其中兩個相對的側壁平行設置,所述錐形漏斗狀結構的另外兩個相對的側壁相對于水平面傾斜設置,兩個傾斜側壁中的其中一個傾斜角度為30°~45°,另一個傾斜角度為45°~60°。
在其中一些實施例中,所述第二沉淀區域沿著水平面的沉淀面積與所述中清液出水管的截面積比值為50:1~200:1。
本申請一實施例還提供了一種連續流好氧顆粒污泥生化污水處理方法。
一種連續流好氧顆粒污泥生化污水處理方法,采用上述的連續流好氧顆粒污泥生化污水處理系統,包括如下步驟:
步驟S1:原污水進入第一生化反應池并與第三生化反應池內的淘選澄清器分離出的好氧顆粒污泥形成泥水混合液,回流的好氧顆粒污泥與新鮮的原污水充分接觸,形成飽食期;在飽食期階段,可快速生物降解的基質轉化為細胞內的可生物降解儲存基質,為好氧顆粒污泥的形成創造優勢條件,泥水混合液中的好氧顆粒污泥大量增殖,且泥水混合液在迂回流動過程中,好氧顆粒污泥之間不斷碰撞聚集,誘導EPS分泌,增強好氧顆粒污泥細胞疏水性,提升好氧顆粒污泥的致密性,形成更光滑、致密的好氧顆粒污泥;
步驟S2:步驟S1中泥水混合液進入第二生化反應池并與淘選澄清器分離出的中清液形成環流混合液,由于進入第二生化反應池的泥水混合物有機物匱乏,微生物底物和營養物質受到限制,形成饑餓期,同時回流的中清液的稀釋作用加劇饑餓環境,在饑餓期階段,泥水混合液在第二生化反應池內進行反應以淘汰絮狀污泥,并提高好氧顆粒污泥的比例;
步驟S3:步驟S2中的環流混合液由第二生化反應池進入第三生化反應池,在淘選澄清器的選擇壓力下的沉淀分離形成好氧顆粒污泥、中清液和上清液;好氧顆粒污泥通過第三管道回流至所述第一生化反應池,中清液通過第四管道回流至所述第二生化反應池,上清液通過第五管道排出系統外。
在其中一些實施例中,所述第一生化反應池的水力停留時間與所述第二生化反應池的水力停留時間之比為1:2~1:10。
上述連續流好氧顆粒污泥生化污水處理系統,在連續流條件下通過在第一生化反應池和第二生化反應池設置氣提和環流裝置,增加系統內有效的水力剪切力,促進污泥凝聚和顆粒化,另外通過第三生化反應池內特定淘選澄清器的選擇壓力作用,一方面篩選出沉降性能好的好氧顆粒污泥,并回流至第一生化反應池與原污水充分接觸,好氧顆粒污泥獲得充足的營養物質不斷增殖聚集,另一方面淘選澄清器篩選出的沉降性能差的絮狀污泥混合液則回流至第二生化反應池,在饑餓環境下,沉降性能差的絮狀污泥逐漸淘汰,而好氧顆粒污泥由飽食過渡到饑餓環境能夠逐漸形成以慢速生長微生物為核心的成熟好氧顆粒污泥。因此本發明系統內的絮狀污泥在水力剪切力、飽食和饑餓環境以及選擇壓力等因素的共同作用下,不斷循環生長凝聚、篩選馴化培養形成規則、致密、光滑和穩定性強的好氧顆粒污泥。
本發明利用好氧顆粒污泥沉降性好、生物量高、可同步去除碳氮磷等污染物優勢,能夠實現提高污水中污染物去除效率的同時節省污水處理設施的占地和能耗。相比序批式工藝,本發明的連續流工藝具有運行成本低、運行管理簡單、處理水量大等特點。
(發明人:陳福明;劉淑杰;王思琦)






