公布日:2023.11.14
申請日:2023.06.01
分類號:C02F3/00(2023.01)I
摘要
本發明公開了以初沉污泥發酵物為碳源的生物復合濾床深度脫氮的裝置,涉及度脫氮領域,包括污水箱,所述污水箱的側壁連通有過水機構的一端,所述污水箱的側壁固定連接有位于過水機構上方的物料箱,所述過水機構的另一端連通有反應池,所述反應池的側壁設置有傳動機構。本發明通過驅動機構帶動轉軸轉動從而使得轉動帶動轉板轉動,使得轉板對菌群和污水進行緩和,并且帶動過水機構間歇性打開,從而使得污水間歇性流入反應池內部,從而保證了菌群和誤會能夠充分混合,并且有足夠的時間進行脫氮反應。

權利要求書
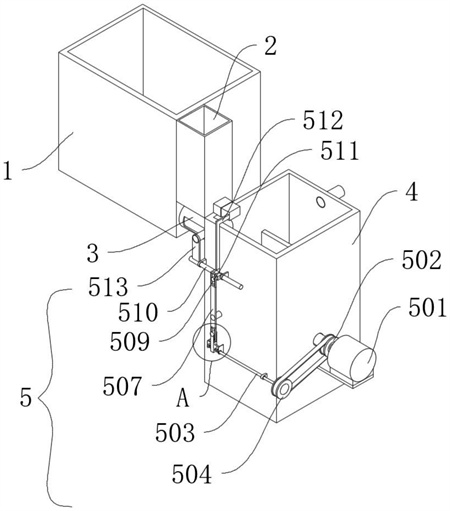
1.以初沉污泥發酵物為碳源的生物復合濾床深度脫氮的裝置,包括污水箱(1),其特征在于:所述污水箱(1)的側壁連通有過水機構(3)的一端,所述污水箱(1)的側壁固定連接有位于過水機構(3)上方的物料箱(2),所述過水機構(3)的另一端連通有反應池(4),所述反應池(4)的側壁設置有傳動機構(5);所述物料箱(2)包括箱體(201)、出料口(202)、開孔(203)和推料框(204),所述箱體(201)固定連接在污水箱(1)的側壁,所述箱體(201)的側壁連通有出料口(202),所述出料口(202)的底端開設有開孔(203),所述出料口(202)的內壁滑動連接有推料框(204);所述過水機構(3)包括套管(301)、連通管(302)、連通孔(303)、氣囊(304)、氣腔(305)、活塞(306)、連接桿(307)、擋塊(308)、凸塊(309)和復位彈簧(310),所述套管(301)的一端連通在污水箱(1)的側壁,所述套管(301)的另一端連通在箱體(201)的側壁,所述套管(301)的內壁滑動連接有連通管(302),所述連通管(302)的外壁開設有連通孔(303);所述套管(301)的側壁固定連接有兩組與連通孔(303)位置對應的氣囊(304),所述氣囊(304)的側壁連通有氣腔(305),所述氣腔(305)的內壁滑動連接有活塞(306),所述活塞(306)的側壁固定連接有延伸至氣腔(305)外部的連接桿(307);所述連接桿(307)位于氣腔(305)外部的一端固定連接有擋塊(308),所述連通管(302)的外壁固定連接有兩組凸塊(309),所述擋塊(308)的側壁固定連接有復位彈簧(310)的一端,所述復位彈簧(310)的另一端固定連接在套管(301)的內壁;所述反應池(4)包括池體(401)、轉軸(402)、翻動桿(403)、轉板(404)、齒輪(405)、齒圈(406)和出水口(407),所述池體(401)的內壁轉動連接有延伸至池體(401)外部的轉軸(402),所述轉軸(402)的外部固定連接有兩組位于池體(401)內部的翻動桿(403),兩組所述翻動桿(403)之間轉動連接有兩組轉板(404);所述傳動機構(5)包括電機(501)、一號皮帶輪(502)、往復絲桿(503)、二號皮帶輪(504)、滑竿(505)、導向桿(506)、轉桿(507)、一號滑動框(508)、二號滑動框(509)、頂桿(510)、推動桿(511)、連接板(512)和推桿(513),所述池體(401)的側壁固定連接有電機(501),所述電機(501)的輸出端固定連接有轉軸(402)的末端,所述電機(501)在與轉軸(402)連接處固定套設有一號皮帶輪(502),所述池體(401)的側壁轉動連接有往復絲桿(503),所述往復絲桿(503)的一端固定連接有二號皮帶輪(504),所述二號皮帶輪(504)通過皮帶與一號皮帶輪(502)連接;所述往復絲桿(503)的外壁螺紋連接有滑竿(505),所述池體(401)的側壁固定連接有位于往復絲桿(503)上方的導向桿(506),所述滑竿(505)滑動連接在導向桿(506)的外壁,所述池體(401)的側壁轉動連接有轉桿(507),所述轉桿(507)的一端固定連接有一號滑動框(508),所述一號滑動框(508)滑動連接在滑竿(505)的頂端,所述轉桿(507)的另一端固定連接有二號滑動框(509),所述池體(401)的側壁滑動連接有位于轉桿(507)上方的頂桿(510),所述頂桿(510)的側壁固定連接有推動桿(511),所述推動桿(511)滑動連接在二號滑動框(509)的內壁;所述頂桿(510)的外壁固定連接有位于推動桿(511)旁邊的連接板(512),所述連接板(512)的頂端固定連接在推料框(204)的側壁,所述頂桿(510)的一端固定連接有推桿(513)的一端,所述推桿(513)的另一端固定連接在連通管(302)的側壁。
2.根據權利要求1所述的以初沉污泥發酵物為碳源的生物復合濾床深度脫氮的裝置,其特征在于:兩組所述轉板(404)在與翻動桿(403)連接處固定連接有齒輪(405),所述池體(401)的內壁固定連接有兩組齒圈(406),同一側的兩組所述齒輪(405)分別與一組齒圈(406)嚙合,所述池體(401)的側壁連通有出水口(407)。
3.以初沉污泥發酵物為碳源的生物復合濾床深度脫氮的方法,根據采用權利要求1-2任意一項所述的以初沉污泥發酵物為碳源的生物復合濾床深度脫氮的裝置,其特征在于,包括如下步驟:添加物料:將需要處理的污水添加到污水箱(1)內部,并且將用于脫氮反應的菌群添加到物料箱(2)的內部;清空反應池(4):將反應池(4)內殘留的污水清理,并且對池體(401)內部進行清潔;零件保養:對傳動機構(5)中的各個部件進行檢查和保養,防止各個零件之間過度磨損。
發明內容
基于此,本發明的目的是提供以初沉污泥發酵物為碳源的生物復合濾床深度脫氮的裝置,以解決上述背景中提出的技術問題。
為實現上述目的,本發明提供如下技術方案:以初沉污泥發酵物為碳源的生物復合濾床深度脫氮的裝置,包括污水箱,所述污水箱的側壁連通有過水機構的一端,所述污水箱的側壁固定連接有位于過水機構上方的物料箱,所述過水機構的另一端連通有反應池,所述反應池的側壁設置有傳動機構;
所述物料箱包括箱體、出料口、開孔和推料框,所述箱體固定連接在污水箱的側壁,所述箱體的側壁連通有出料口,所述出料口的底端開設有開孔,所述出料口的內壁滑動連接有推料框。
作為本發明的以初沉污泥發酵物為碳源的生物復合濾床深度脫氮的裝置優選技術方案,所述過水機構包括套管、連通管、連通孔、氣囊、氣腔、活塞、連接桿、擋塊、凸塊和復位彈簧,所述套管的一端連通在污水箱的側壁,所述套管的另一端連通在箱體的側壁,所述套管的內壁滑動連接有連通管,所述連通管的外壁開設有連通孔。
作為本發明的以初沉污泥發酵物為碳源的生物復合濾床深度脫氮的裝置優選技術方案,所述套管的側壁固定連接有兩組與連通孔位置對應的氣囊,所述氣囊的側壁連通有氣腔,所述氣腔的內壁滑動連接有活塞,所述活塞的側壁固定連接有延伸至氣腔外部的連接桿。
作為本發明的以初沉污泥發酵物為碳源的生物復合濾床深度脫氮的裝置優選技術方案,所述連接桿位于氣腔外部的一端固定連接有擋塊,所述連通管的外壁固定連接有兩組凸塊,所述擋塊的側壁固定連接有復位彈簧的一端,所述復位彈簧的另一端固定連接在套管的內壁。
作為本發明的以初沉污泥發酵物為碳源的生物復合濾床深度脫氮的裝置優選技術方案,所述反應池包括池體、轉軸、翻動桿、轉板、齒輪、齒圈和出水口,所述池體的內壁轉動連接有延伸至池體外部的轉軸,所述轉軸的外部固定連接有兩組位于池體內部的翻動桿,兩組所述翻動桿之間轉動連接有兩組轉板。
作為本發明的以初沉污泥發酵物為碳源的生物復合濾床深度脫氮的裝置優選技術方案,兩組所述轉板在與翻動桿連接處固定連接有齒輪,所述池體的內壁固定連接有兩組齒圈,同一側的兩組所述齒輪分別與一組齒圈嚙合,所述池體的側壁連通有出水口。
作為本發明的以初沉污泥發酵物為碳源的生物復合濾床深度脫氮的裝置優選技術方案,所述傳動機構包括電機、一號皮帶輪、往復絲桿、二號皮帶輪、滑竿、導向桿、轉桿、一號滑動框、二號滑動框、頂桿、推動桿、連接板和推桿,所述池體的側壁固定連接有電機,所述電機的輸出端固定連接有轉軸的末端,所述電機在與轉軸連接處固定套設有一號皮帶輪,所述池體的側壁轉動連接有往復絲桿,所述往復絲桿的一端固定連接有二號皮帶輪,所述二號皮帶輪通過皮帶與一號皮帶輪連接。
作為本發明的以初沉污泥發酵物為碳源的生物復合濾床深度脫氮的裝置優選技術方案,所述往復絲桿的外壁螺紋連接有滑竿,所述池體的側壁固定連接有位于往復絲桿上方的導向桿,所述滑竿滑動連接在導向桿的外壁,所述池體的側壁轉動連接有轉桿,所述轉桿的一端固定連接有一號滑動框,所述一號滑動框滑動連接在滑竿的頂端,所述轉桿的另一端固定連接有二號滑動框,所述池體的側壁滑動連接有位于轉桿上方的頂桿,所述頂桿的側壁固定連接有推動桿,所述推動桿滑動連接在二號滑動框的內壁。
作為本發明的以初沉污泥發酵物為碳源的生物復合濾床深度脫氮的裝置優選技術方案,所述頂桿的外壁固定連接有位于推動桿旁邊的連接板,所述連接板的頂端固定連接在推料框的側壁,所述頂桿的一端固定連接有推桿的一端,所述推桿的另一端固定連接在連通管的側壁。
作為本發明的以初沉污泥發酵物為碳源的生物復合濾床深度脫氮的裝置優選技術方案,脫氮步驟如下:
添加物料:
將需要處理的污水添加到污水箱內部,并且將用于脫氮反應的菌群等物料添加到物料箱的內部
清空反應池:
將反應池內上次殘留的污水清理,并且對池體內部進行清潔;
零件保養:
對傳動機構中的各個部件進行檢查和保養,防止各個零件之間過度磨損。
綜上所述,本發明主要具有以下有益效果:
本發明通過驅動機構帶動轉軸轉動從而使得轉動帶動轉板轉動,使得轉板對菌群和污水進行緩和,并且帶動過水機構間歇性打開,從而使得污水間歇性流入反應池內部,從而保證了菌群和誤會能夠充分混合,并且有足夠的時間進行脫氮反應。
(發明人:李永秋;王旭;李昱林;修陽;孫健)






