公布日:2023.11.10
申請日:2023.08.17
分類號:C02F11/02(2006.01)I;C02F11/00(2006.01)I;C02F101/20(2006.01)N
摘要
本發明涉及污泥好氧發酵裝置技術領域,且公開了一種好氧發酵過程中污泥重金屬的減量裝置,包括發酵機構,所述發酵機構的內部安裝有融合機構使藥劑和污泥進行混合,所述發酵機構的上方還安裝有泄壓機構對發酵機構的內部進行泄壓保護,所述發酵機構包括發酵桶,所述發酵桶的側面和底部分別安裝有進料口和出料口,所述發酵桶的頂部固定連接有支撐架。該好氧發酵過程中污泥重金屬的減量裝置,通過使用傳動電機帶動融合桿轉動,并使用進氣管向融合桿中注入氣體,使氣體通過出氣口沖向污泥,當融合桿轉動的時候,氣體會對污泥進行攪拌,并使污泥在上升氣體的作用下上浮,相對與傳動攪拌裝置攪拌效果更加立體,達到了提升污泥和藥物融合率的效果。

權利要求書
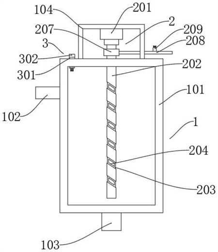
1.一種好氧發酵過程中污泥重金屬的減量裝置,包括發酵機構(1),所述發酵機構(1)的內部安裝有融合機構(2)使藥劑和污泥進行混合,其特征在于:所述發酵機構(1)的上方還安裝有泄壓機構(3)對發酵機構(1)的內部進行泄壓保護;所述發酵機構(1)包括發酵桶(101),所述發酵桶(101)的側面和底部分別安裝有進料口(102)和出料口(103),所述發酵桶(101)的頂部固定連接有支撐架(104);所述融合機構(2)包括傳動電機(201),所述傳動電機(201)固定連接在支撐架(104)的底部,所述傳動電機(201)的傳動軸上安裝有融合桿(202),所述融合桿(202)延伸至發酵桶(101)的內部,所述融合桿(202)的外表面開設有等距的凹陷槽(203),所述凹陷槽(203)的內部開設有出氣口(204),所述融合桿(202)位于發酵桶(101)頂部位置開設有限位槽(205),所述限位槽(205)的內部開設有進氣槽(206);所述限位槽(205)的內部卡接有連接環(207),所述融合桿(202)能夠在連接環(207)的內部轉動,所述連接環(207)的外表面固定連接有進氣管(208),所述進氣管(208)與連接環(207)的內部貫通。
2.根據權利要求1所述的一種好氧發酵過程中污泥重金屬的減量裝置,其特征在于:所述融合桿(202)為中空桿,所述融合桿(202)的底部開設有開放口。
3.根據權利要求1所述的一種好氧發酵過程中污泥重金屬的減量裝置,其特征在于:所述凹陷槽(203)為傾斜設置的循環槽,所述出氣口(204)的開設角度與凹陷槽(203)的角度相同。
4.根據權利要求1所述的一種好氧發酵過程中污泥重金屬的減量裝置,其特征在于:所述連接環(207)的內部設置有凸出的限位環,限位環與限位槽(205)的內壁搭接,所述連接環(207)的上下兩側均設置有密封片,密封片對連接環(207)與限位槽(205)的連接處進行密封。
5.根據權利要求1-4任一項所述的一種好氧發酵過程中污泥重金屬的減量裝置,其特征在于:所述進氣管(208)上安裝有加藥頭(209),所述加藥頭(209)與進氣管(208)貫通,且加藥頭(209)上安裝有密封蓋。
6.根據權利要求1-4任一項所述的一種好氧發酵過程中污泥重金屬的減量裝置,其特征在于:所述泄壓機構(3)包括安裝在發酵桶(101)上方壁面上的連接件(301),所述連接件(301)的內部安裝有可升降的泄壓活動塊(302),所述泄壓活動塊(302)的表面設置有通孔進行排壓。
7.根據權利要求6所述的一種好氧發酵過程中污泥重金屬的減量裝置,其特征在于:所述連接件(301)的底部延伸至發酵桶(101)的內部,所述連接件(301)的底部設置有螺紋槽,螺紋槽上螺紋連接有連接螺母(303)對連接件(301)進行固定。
8.根據權利要求6所述的一種好氧發酵過程中污泥重金屬的減量裝置,其特征在于:所述連接件(301)的內部和泄壓活動塊(302)的外表面相互限位,所述泄壓活動塊(302)上升后泄壓活動塊(302)表面的通孔完全暴露。
9.一種好氧發酵過程中污泥重金屬的減量裝置使用方法,其特征在于:包括以下步驟:S1、將污泥通過進料口(102)注入到發酵桶(101)的內部進行堆積,且將出料口(103)進行預先密封;S2、通過進氣管(208)向發酵桶(101)的內部注入氣體,并通過傳動電機(201)帶動融合桿(202)轉動,使氣體從而出氣口(204)噴出對污泥進行攪拌,并使污泥發生浮動;S3、在進行S2步驟的同時,通過加藥頭(209)注入氧氣,以提升發酵桶(101)內部的氧氣含量;S4、對污泥進行攪拌的同時,通過加藥頭(209)間歇性的向發酵桶(101)的內部注入重金屬去除劑,以避免重金屬去除劑堆積;S5、重金屬減量后,打開出料口(103)的密封,使污泥排出進入到下一工序中。
發明內容
本發明的目的在于提供一種好氧發酵過程中污泥重金屬的減量裝置,以解決上述背景技術中提出的問題。
為了解決上述技術問題,本發明提供如下技術方案:一種好氧發酵過程中污泥重金屬的減量裝置,包括發酵機構,所述發酵機構的內部安裝有融合機構使藥劑和污泥進行混合,所述發酵機構的上方還安裝有泄壓機構對發酵機構的內部進行泄壓保護;
所述發酵機構包括發酵桶,所述發酵桶的側面和底部分別安裝有進料口和出料口,所述發酵桶的頂部固定連接有支撐架;
所述融合機構包括傳動電機,所述傳動電機固定連接在支撐架的底部,所述傳動電機的傳動軸上安裝有融合桿,所述融合桿延伸至發酵桶的內部,所述融合桿的外表面開設有等距的凹陷槽,所述凹陷槽的內部開設有出氣口,所述融合桿位于發酵桶頂部位置開設有限位槽,所述限位槽的內部開設有進氣槽;
所述限位槽的內部卡接有連接環,所述融合桿能夠在連接環的內部轉動,所述連接環的外表面固定連接有進氣管,所述進氣管與連接環的內部貫通。
優選的,所述融合桿為中空桿,所述融合桿的底部開設有開放口。
優選的,所述凹陷槽為傾斜設置的循環槽,所述出氣口的開設角度與凹陷槽的角度相同。
優選的,所述連接環的內部設置有凸出的限位環,限位環與限位槽的內壁搭接,所述連接環的上下兩側均設置有密封片,所述密封片對連接環與限位槽的連接處進行密封。
優選的,所述進氣管上安裝有加藥頭,所述加藥頭與進氣管貫通,且加藥頭上安裝有密封蓋。
優選的,所述泄壓機構包括安裝在發酵桶上方壁面上的連接件,所述連接件的內部安裝有可升降的泄壓活動塊,所述泄壓活動塊的表面設置有通孔進行排壓。
優選的,所述連接件的底部延伸至發酵桶的內部,所述連接件的底部設置有螺紋槽,螺紋槽上螺紋連接有連接螺母對連接件進行固定。
優選的,所述連接件的內部和泄壓活動塊的外表面相互限位,所述泄壓活動塊上升后泄壓活動塊表面的通孔完全暴露。
一種好氧發酵過程中污泥重金屬的減量裝置使用方法,包括以下步驟:
S1、將污泥通過進料口注入到發酵桶的內部進行堆積,且將出料口進行預先密封;
S2、通過進氣管向發酵桶的內部注入氣體,并通過傳動電機帶動融合桿轉動,使氣體從而出氣口噴出對污泥進行攪拌,并使污泥發生浮動;
S3、在進行S2步驟的同時,通過加藥頭注入氧氣,以提升發酵桶內部的氧氣含量;
S4、對污泥進行攪拌的同時,通過加藥頭間歇性的向發酵桶的內部注入重金屬去除劑,以避免重金屬去除劑堆積;
S5、重金屬減量后,打開出料口的密封,使污泥排出進入到下一工序中。
與現有技術相比,本發明所達到的有益效果是:
第一、本發明通過使用傳動電機帶動融合桿轉動,并使用進氣管向融合桿中注入氣體,使氣體通過出氣口沖向污泥,當融合桿轉動的時候,氣體會對污泥進行攪拌,并使污泥在上升氣體的作用下上浮,相對與傳動攪拌裝置攪拌效果更加立體,達到了提升污泥和藥物融合率的效果。
第二、本發明通過在融合桿的外表面開設若干凹陷槽,并在凹陷槽的內部開設有出氣口,使氣體能夠通過出氣口噴出對污泥進行攪拌,當融合桿轉動的時候,只有垂直的融合桿與污泥接觸減少摩擦,提升了傳動效率,且避免攪拌葉的磨損,達到了提升傳動效率和減少設備磨損的效果。
第三、本發明通過在發酵桶上安裝泄壓機構,在進行污泥攪拌和注入氧氣進行氧化發酵的時候,及時的排出高壓氣體,避免因為氣體壓縮而產生高溫,能夠避免發酵桶的內部產生高壓高溫破壞發酵桶,達到了保護發酵桶的效果。
(發明人:薛向東;錢洪春;葉金宇;莊海峰;李鑫隆;高源)






