公布日:2023.11.07
申請日:2023.07.07
分類號:C02F11/127(2019.01)I;C02F11/18(2006.01)I;C02F11/00(2006.01)I
摘要
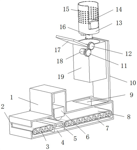
本發明公開了一種污泥無害化處理設備,包括輸送箱,所述輸送箱頂部的一側固定連接有支撐板,且支撐板的表面固定連接有第四電機,所述第四電機的輸出軸固定連接有殼體。本發明設置了第三電機和離心筒,可達到對污泥進行脫水處理的目的,設置了第四電機,可將殼體的頂部轉動到下方,設置了推板和第二電動伸縮桿,可將離心筒內脫水后的污泥推出,設置了第二輸送輥、金屬導熱板、加熱板、連接座、第一輸送輥、傳送帶、第一電動伸縮桿、壓輥、預留槽和第一電機,可對脫水后的污泥進行自動輸送處理,并可對金屬導熱板以及整個輸送箱內部空間進行加熱處理,還可將脫水后的污泥擠壓成不同厚度的板狀。

權利要求書
1.一種污泥無害化處理設備,包括輸送箱(1),其特征在于:所述輸送箱(1)頂部的一側固定連接有支撐板(10),且支撐板(10)的表面固定連接有第四電機(26),所述第四電機(26)的輸出軸固定連接有殼體(19),且殼體(19)內腔的底部固定連接有第三電機(16),所述第三電機(16)的輸出軸固定連接有離心筒(13),離心筒(13)內腔的底部固定連接有第二電動伸縮桿(24),且第二電動伸縮桿(24)的伸縮端固定連接有推板(14),所述殼體(19)內腔的頂部固定連接有第一電動伸縮桿(20),第一電動伸縮桿(20)的伸縮端固定連接有連接座(6),且連接座(6)的內表面活動連接有壓輥(21),所述殼體(19)內腔的底部且位于壓輥(21)的下端固定連接有金屬導熱板(4),金屬導熱板(4)的內腔開設有預留槽(22),且預留槽(22)內腔的頂部固定連接有加熱板(5)。
2.根據權利要求1所述的一種污泥無害化處理設備,其特征在于:所述殼體(19)遠離支撐板(10)的一側開設有出料口(2),輸送箱(1)的頂部且靠近支撐板(10)的一端開設有進料口(9)。
3.根據權利要求1所述的一種污泥無害化處理設備,其特征在于:所述殼體(19)頂部的一側通過合頁活動連接有蓋板(17),且蓋板(17)的表面固定連接有第一齒輪(12)。
4.根據權利要求3所述的一種污泥無害化處理設備,其特征在于:所述殼體(19)的表面且位于第一齒輪(12)的對應位置固定連接有第二電機(18),第二電機(18)的輸出軸固定連接有第二齒輪(11),且第二齒輪(11)與第一齒輪(12)嚙合連接。
5.根據權利要求1所述的一種污泥無害化處理設備,其特征在于:所述離心筒(13)內表面的上端開設有多個等角度分布的排水孔(15),離心筒(13)的底部固定連接有電池盒(25),且電池盒(25)的外側開設有充電插孔(29)。
6.根據權利要求5所述的一種污泥無害化處理設備,其特征在于:所述電池盒(25)內腔的底部固定連接有蓄電池(31),電池盒(25)的內側固定連接有4G通信模塊(30),4G通信模塊(30)包括4G網關和遠程移動終端,且遠程移動終端為接入4G網絡的智能手機。
7.根據權利要求1所述的一種污泥無害化處理設備,其特征在于:所述殼體(19)內側的上端嵌設有多個等角度分布的滾珠(23),且滾珠(23)的外側與離心筒(13)的外側接觸。
8.根據權利要求1所述的一種污泥無害化處理設備,其特征在于:所述殼體(19)表面的底部開設有出水口(27),且出水口(27)的末端螺紋連接有密封蓋。
9.根據權利要求1所述的一種污泥無害化處理設備,其特征在于:所述殼體(19)內表面的一端活動連接有多個等距分布的第二輸送輥(3),殼體(19)內表面的另一端活動連接有多個等距分布的第一輸送輥(7),且多個第一輸送輥(7)之間以及多個第二輸送輥(3)之間均通過傳送帶(8)傳動連接。
10.根據權利要求9所述的一種污泥無害化處理設備,其特征在于:所述輸送箱(1)表面的一側固定連接有第一電機(28),且第一電機(28)的輸出軸通過皮帶與第二輸送輥(3)和第一輸送輥(7)的背面傳動連接。
發明內容
本發明的目的在于提供一種污泥無害化處理設備,以解決上述背景技術中提出的問題。
為實現上述目的,本發明提供如下技術方案:一種污泥無害化處理設備,包括輸送箱,所述輸送箱頂部的一側固定連接有支撐板,且支撐板的表面固定連接有第四電機,所述第四電機的輸出軸固定連接有殼體,且殼體內腔的底部固定連接有第三電機,所述第三電機的輸出軸固定連接有離心筒,離心筒內腔的底部固定連接有第二電動伸縮桿,且第二電動伸縮桿的伸縮端固定連接有推板,所述殼體內腔的頂部固定連接有第一電動伸縮桿,第一電動伸縮桿的伸縮端固定連接有連接座,且連接座的內表面活動連接有壓輥,所述殼體內腔的底部且位于壓輥的下端固定連接有金屬導熱板,金屬導熱板的內腔開設有預留槽,且預留槽內腔的頂部固定連接有加熱板。
優選的,所述殼體遠離支撐板的一側開設有出料口,輸送箱的頂部且靠近支撐板的一端開設有進料口。
優選的,所述殼體頂部的一側通過合頁活動連接有蓋板,且蓋板的表面固定連接有第一齒輪。
優選的,所述殼體的表面且位于第一齒輪的對應位置固定連接有第二電機,第二電機的輸出軸固定連接有第二齒輪,且第二齒輪與第一齒輪嚙合連接。
優選的,所述離心筒內表面的上端開設有多個等角度分布的排水孔,離心筒的底部固定連接有電池盒,且電池盒的外側開設有充電插孔。
優選的,所述電池盒內腔的底部固定連接有蓄電池,電池盒的內側固定連接有4G通信模塊,4G通信模塊包括4G網關和遠程移動終端,且遠程移動終端為接入4G網絡的智能手機。
優選的,所述殼體內側的上端嵌設有多個等角度分布的滾珠,且滾珠的外側與離心筒的外側接觸。
優選的,所述殼體表面的底部開設有出水口,且出水口的末端螺紋連接有密封蓋。
優選的,所述殼體內表面的一端活動連接有多個等距分布的第二輸送輥,殼體內表面的另一端活動連接有多個等距分布的第一輸送輥,且多個第一輸送輥之間以及多個第二輸送輥之間均通過傳送帶傳動連接。
優選的,所述輸送箱表面的一側固定連接有第一電機,且第一電機的輸出軸通過皮帶與第二輸送輥和第一輸送輥的背面傳動連接。
與現有技術相比,本發明的有益效果如下:
本發明設置了第三電機和離心筒,控制第三電機轉動,可帶動離心筒轉動,從而達到對污泥進行脫水處理的目的,設置了第四電機,可將殼體的頂部轉動到下方,設置了推板和第二電動伸縮桿,控制第二電動伸縮桿伸長,推板可將離心筒內脫水后的污泥推出,設置了第二輸送輥、金屬導熱板、加熱板、連接座、第一輸送輥、傳送帶、第一電動伸縮桿、壓輥、預留槽和第一電機,打開第一電機,第一電機在轉動的同時會通過皮帶帶動第二輸送輥和第一輸送輥轉動,從而可使傳送帶對脫水后的污泥進行自動輸送處理,打開加熱板,可對金屬導熱板以及整個輸送箱內部空間進行加熱處理,并可根據需要控制第一電動伸縮桿伸縮,可帶動壓輥上下移動,從而可將脫水后的污泥擠壓成不同厚度的板狀,方便后續的運輸以及回收利用。
(發明人:鐘云峰;鐘云平)






