公布日:2023.11.10
申請日:2023.09.11
分類號:C02F11/12(2019.01)I
摘要
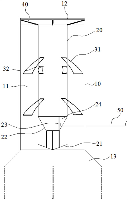
本發明提供了一種污泥濃縮裝置,包括外筒、內筒、導流組件和助流裝置;內筒位于外筒內,內筒的外側壁與外筒的內側壁組合形成一旋流空間;導流組件包括多個第一導流片和多個第二導流片,多個第一導流片沿外筒的周向分布于外筒的內側壁上,且第一導流片沿外筒的內側壁傾斜設置,多個第二導流片沿內筒的周向分布于內筒的內側壁上,且第二導流片沿內筒的內側壁傾斜設置;內筒的頂部低于外筒的頂部,內筒的底部設有擋板,擋板和所述內筒的底部之間留有空隙,助流裝置用于推送溶液自下而上流入旋流空間內。通過本申請,無需使用其他動力源,有利于節省資源,同時該裝置結構簡單,便于操作,適用性強。

權利要求書
1.一種污泥濃縮裝置,其特征在于,包括外筒、內筒和導流組件;所述內筒位于所述外筒內,所述內筒通過連接架與所述外筒連接,所述內筒的腔體與所述外筒的腔體連通,所述內筒的外側壁與所述外筒的內側壁組合形成一旋流空間;所述導流組件包括多個第一導流片和多個第二導流片,多個所述第一導流片沿所述外筒的周向分布于所述外筒的內側壁上,且所述第一導流片沿所述外筒的內側壁傾斜設置,多個所述第二導流片沿所述內筒的周向分布于所述內筒的內側壁上,且所述第二導流片沿所述內筒的內側壁傾斜設置;其中,所述內筒的頂部低于所述外筒的頂部,所述內筒的底部設有擋板,所述擋板和所述內筒的底部的開口之間留有空隙,所述擋板位于所述外筒內,所述污泥濃縮裝置還包括助流裝置,所述助流裝置用于推送溶液自下而上流入所述旋流空間內。
2.根據權利要求1所述的污泥濃縮裝置,其特征在于,所述第一導流片和所述第二導流片皆與水平面的夾角為30°-75°。
3.根據權利要求1所述的污泥濃縮裝置,其特征在于,所述外筒的頂部設有可調堰板,所述可調堰板用于調節所述外筒的出水量。
4.根據權利要求1所述的污泥濃縮裝置,其特征在于,所述外筒的底部設有喇叭狀結構,所述喇叭狀結構遠離所述外筒的一端的開口面積大于所述外筒的開口面積。
5.根據權利要求1所述的污泥濃縮裝置,其特征在于,所述內筒的底部設有圓臺狀結構,所述圓臺狀結構的上端開口面積與所述內筒的開口面積相同,所述圓臺狀結構的下端開口面積小于所述內筒的開口面積。
6.根據權利要求5所述的污泥濃縮裝置,其特征在于,所述圓臺狀結構遠離所述內筒的一端通過承接桿與所述擋板連接。
7.根據權利要求5所述的污泥濃縮裝置,其特征在于,所述圓臺狀結構內設有阻隔板,所述阻隔板和所述圓臺狀結構的內側壁圍合形成一泥斗。
8.根據權利要求7所述的污泥濃縮裝置,其特征在于,所述圓臺狀結構和所述外筒上分別開設有第一穿孔和第二穿孔,所述第一穿孔與所述泥斗貫通,一排泥管的一端依次穿過所述第二穿孔和所述第一穿孔,并與所述泥斗連通。
9.根據權利要求1所述的污泥濃縮裝置,其特征在于,所述外筒的內部中空形成第一容置腔體,所述內筒和所述連接架皆位于所述第一容置腔體內。
10.根據權利要求1所述的污泥濃縮裝置,其特征在于,所述擋板圍合形成一圓錐狀空間,所述擋板的側壁的切面自內筒的中心朝外并向上傾斜設置。
發明內容
基于此,本發明的目的是提供一種污泥濃縮裝置,以解決現有技術中的不足。
為實現上述目的,本發明提供了一種污泥濃縮裝置,包括外筒、內筒和導流組件;
所述內筒位于所述外筒內,所述內筒通過連接架與所述外筒連接,所述內筒的腔體與所述外筒的腔體連通,所述內筒的外側壁與所述外筒的內側壁組合形成一旋流空間;
所述導流組件包括多個第一導流片和多個第二導流片,多個所述第一導流片沿所述外筒的周向分布于所述外筒的內側壁上,且所述第一導流片沿所述外筒的內側壁傾斜設置,多個所述第二導流片沿所述內筒的周向分布于所述內筒的內側壁上,且所述第二導流片沿所述內筒的內側壁傾斜設置;
其中,所述內筒的頂部低于所述外筒的頂部,所述內筒的底部設有擋板,所述擋板和所述內筒的底部的開口之間留有空隙,所述擋板位于所述外筒內,所述污泥濃縮裝置還包括助流裝置,所述助流裝置用于推送溶液自下而上流入所述旋流空間內。
本發明的有益效果是:通過助流裝置使得泥水混合液進入外筒內并向上流動,且在第一導流片的作用下,泥水混合液能夠在旋流空間中形成螺旋上升的流態,以使外筒中內圈的污泥濃度高于其外圈的污泥濃度,實現對泥水混合液中污泥的初次濃縮操作,當泥水混合液上升到連接架的高度時,內圈污泥濃度的泥水混合液進入到內筒內并向下流動,且在第二導流片的作用下,內筒中的泥水混合液形成螺旋下降的流態,且此時內筒中內圈中的污泥濃度高于外圈的污泥濃度,從而實現對泥水混合液中污泥的二次濃縮操作,在實現污泥濃縮操作中,不僅無需使用其他動力源,有利于節省資源,同時該裝置結構簡單,便于操作,適用性強。
優選的,所述第一導流片和所述第二導流片皆與水平面的夾角為30°-75°。
優選的,所述外筒的頂部設有可調堰板,所述可調堰板用于調節所述外筒的出水量。
優選的,所述外筒的底部設有喇叭狀結構,所述喇叭狀結構遠離所述外筒的一端的開口面積大于所述外筒的開口面積。
優選的,所述內筒的底部設有圓臺狀結構,所述圓臺狀結構的上端開口面積與所述內筒的開口面積相同,所述圓臺狀結構的下端開口面積小于所述內筒的開口面積。
優選的,所述圓臺狀結構遠離所述內筒的一端通過承接桿與所述擋板連接。
優選的,所述圓臺狀結構內設有阻隔板,所述阻隔板和所述圓臺狀結構的內側壁圍合形成一泥斗。
優選的,所述圓臺狀結構和所述外筒上分別開設有第一穿孔和第二穿孔,所述第一穿孔與所述泥斗貫通,一排泥管的一端依次穿過所述第二穿孔和所述第一穿孔,并與所述泥斗連通。
優選的,所述外筒的內部中空形成第一容置腔體,所述內筒和所述連接架皆位于所述第一容置腔體內。
優選的,所述擋板圍合形成一圓錐狀空間,所述擋板的側壁的切面自內筒的中心朝外并向上傾斜設置。
(發明人:曾凱;熊建中;謝錦文;周佳琳;李攀榮;王佳琪;李文;胡昌順;邵普生;呂露)






