公布日:2024.05.07
申請日:2024.02.20
分類號:B01D33/11(2006.01)I;B01D33/46(2006.01)I;B01D33/80(2006.01)I;C02F1/00(2023.01)I
摘要
本申請涉及水處理技術的領域,尤其是一種具有自清洗滾篩的污水循環處理裝置,包括工作臺、滾篩本體和清理刮板,工作臺表面開設有蓄水腔,滾篩本體轉動連接在蓄水腔內壁上,滾篩本體具有供廢渣通過的過篩腔,滾篩本體外周間隔開設有多個濾孔,濾孔連通過篩腔,清理刮板連接在工作臺上,清理刮板貫穿過篩腔,清理刮板刮除端抵緊過篩腔內壁,清理刮板刮除端朝向濾孔的表面連接有彈性塊,彈性塊能夠嵌入濾孔內并清理濾孔內的廢渣。本申請中清理刮板和彈性塊的設置,保障滾篩本體對廢渣中污水過濾的穩定性,同時無需工作人員手動對過篩腔內壁進行清理,實現滾篩本體的自清潔流程,縮短污水處理的清理周期,從而降低污水處理的加工成本。

權利要求書
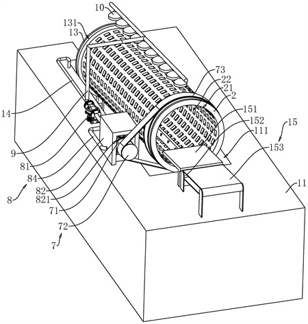
1.一種具有自清洗滾篩的污水循環處理裝置,其特征在于:包括工作臺(1)、滾篩本體(2)和清理刮板(3),所述工作臺(1)表面開設有蓄水腔(111),所述滾篩本體(2)轉動連接在蓄水腔(111)內壁上,所述滾篩本體(2)具有供廢渣通過的過篩腔(21),所述滾篩本體(2)外周間隔開設有多個濾孔(22),所述濾孔(22)連通過篩腔(21),所述清理刮板(3)連接在工作臺(1)上,所述清理刮板(3)貫穿過篩腔(21),所述清理刮板(3)刮除端抵緊過篩腔(21)內壁,所述清理刮板(3)刮除端朝向濾孔(22)的表面連接有彈性塊(4),所述彈性塊(4)能夠嵌入濾孔(22)內并清理濾孔(22)內的廢渣。
2.根據權利要求1所述的一種具有自清洗滾篩的污水循環處理裝置,其特征在于:所述清理刮板(3)表面開設有供彈性塊(4)滑移的滑移腔(31),所述清理刮板(3)和彈性塊(4)之間連接有動力彈性件(5),所述動力彈性件(5)彈力方向的一端連接在滑移腔(31)內壁上,所述動力彈性件(5)彈力方向的另一端連接在彈性塊(4)上,所述動力彈性件(5)具有彈力驅使彈性塊(4)朝遠離滑移腔(31)的方向滑移,且所述彈性塊(4)端部凸出清理刮板(3)刮除端的趨勢。
3.根據權利要求2所述的一種具有自清洗滾篩的污水循環處理裝置,其特征在于:所述彈性塊(4)凸出清理刮板(3)的端部設有導向面(41),所述導向面(41)呈圓弧凸起狀,所述導向面(41)能夠抵接濾孔(22)內壁并導向彈性塊(4)端部脫離濾孔(22)。
4.根據權利要求1所述的一種具有自清洗滾篩的污水循環處理裝置,其特征在于:所述工作臺(1)上連接有驅動組件(7),所述驅動組件(7)包括驅動電機(71)、兩個同步輪(72)和與同步輪(72)搭配使用的同步帶(73),所述驅動電機(71)連接在工作臺(1)上,所述驅動電機(71)電機軸軸線和滾篩本體(2)轉動軸線相互平行,其中一個所述同步輪(72)同軸連接在滾篩本體(2)外周,另一個所述同步輪(72)同軸連接在驅動電機(71)電機軸上,所述同步帶(73)張緊連接兩個同步輪(72)。
5.根據權利要求4所述的一種具有自清洗滾篩的污水循環處理裝置,其特征在于:所述工作臺(1)上連接有冷卻組件(8),所述冷卻組件(8)包括冷卻泵體(81)、冷卻罩(82)、進水管道(83)和出水管道(84),所述冷卻罩(82)連接在工作臺(1)上,所述冷卻罩(82)具有供驅動電機(71)嵌入的冷卻空間(821),所述冷卻罩(82)內開設有冷卻流道(822),所述冷卻流道(822)環繞冷卻空間(821),所述進水管道(83)一端連接在蓄水腔(111)內壁上,所述進水管道(83)另一端連接在冷卻流道(822)內壁上,所述冷卻泵體(81)連接在工作臺(1)上,所述出水管道(84)一端連接在冷卻流道(822)內壁上,所述出水管道(84)另一端連接在冷卻泵體(81)進水端上,所述冷卻泵體(81)能夠驅使蓄水腔(111)內的污水通過進水管道(83)進入冷卻流道(822)內,并從所述出水管道(84)排出。
6.根據權利要求5所述的一種具有自清洗滾篩的污水循環處理裝置,其特征在于:所述冷卻泵體(81)連接有噴淋管道(9),所述噴淋管道(9)進水端連接在冷卻泵體(81)出水端,所述噴淋管道(9)出水端間隔連接有多個噴淋噴嘴(10),所述噴淋噴嘴(10)噴射端朝向滾篩本體(2)外周。
7.根據權利要求6所述的一種具有自清洗滾篩的污水循環處理裝置,其特征在于:所述工作臺(1)包括支撐部(11)、固定部一(12)和固定部二(13),所述蓄水腔(111)位于支撐部(11)上,所述固定部一(12)和固定部二(13)間隔連接在蓄水腔(111)底壁上,所述固定部一(12)表面開設有供滾篩本體(2)轉動的轉動孔一(121),所述固定部二(13)表面開設有供滾篩本體(2)轉動的轉動孔二(131),所述清理刮板(3)一端連接在固定部一(12)表面,所述清理刮板(3)另一端連接在固定部二(13)表面,所述清理刮板(3)表面間隔連接有多個清理噴嘴(6),所述清理噴嘴(6)出水端朝向清理刮板(3)刮除端。
8.根據權利要求7所述的一種具有自清洗滾篩的污水循環處理裝置,其特征在于:所述清理刮板(3)內開設有供水流道(32),所述供水流道(32)連通清理噴嘴(6)進水端,所述噴淋管道(9)和清理刮板(3)之間連接有供水管道(14),所述供水管道(14)進水端連通噴淋管道(9)內腔,所述供水管道(14)出水端連通供水流道(32)內腔。
9.根據權利要求1所述的一種具有自清洗滾篩的污水循環處理裝置,其特征在于:所述工作臺(1)上連接有上料組件(15),所述上料組件(15)包括上料板(151)、至少兩個上料輥(152)和與上料輥(152)搭配使用的上料帶(153),所述上料板(151)一端連接在工作臺(1)上,所述上料板(151)另一端朝向過篩腔(21),兩個所述上料輥(152)間隔轉動連接在工作臺(1)上,所述上料帶(153)張緊連接兩個上料輥(152),所述上料帶(153)端面與上料板(151)板面齊平。
10.根據權利要求1所述的一種具有自清洗滾篩的污水循環處理裝置,其特征在于:所述工作臺(1)上連接有儲存管道(16),所述儲存管道(16)一端連接在蓄水腔(111)內壁,所述儲存管道(16)另一端貫穿工作臺(1)外壁。
發明內容
為了改善清洗滾篩篩孔易被堵塞的問題,本申請提供一種具有自清洗滾篩的污水循環處理裝置。
本申請提供的一種具有自清洗滾篩的污水循環處理裝置,采用如下的技術方案:一種具有自清洗滾篩的污水循環處理裝置,包括工作臺、滾篩本體和清理刮板,所述工作臺表面開設有蓄水腔,所述滾篩本體轉動連接在蓄水腔內壁上,所述滾篩本體具有供廢渣通過的過篩腔,所述滾篩本體外周間隔開設有多個濾孔,所述濾孔連通過篩腔,所述清理刮板連接在工作臺上,所述清理刮板貫穿過篩腔,所述清理刮板刮除端抵緊過篩腔內壁,所述清理刮板刮除端朝向濾孔的表面連接有彈性塊,所述彈性塊能夠嵌入濾孔內并清理濾孔內的廢渣。
通過采用上述技術方案,滾篩本體在蓄水腔內轉動,廢渣投入過篩腔內,滾篩本體在轉動過程中,廢渣中的污水通過濾孔進入蓄水腔內,實現廢渣和污水的分離;同時清理刮板刮除端抵緊過篩腔內壁,當滾篩本體轉動時,清理刮板刮除端刮除過篩腔內壁的廢渣,實現對滾篩本體的初步清理,同時清理刮板刮除端朝向濾孔的表面連接有彈性塊,彈性塊嵌入濾孔內并清理濾孔內的廢渣,使濾孔不易被廢渣堵塞,從而保障滾篩本體對廢渣中污水過濾的穩定性,同時無需工作人員手動對過篩腔內壁進行清理,實現滾篩本體的自清潔流程,縮短污水處理的清理周期,從而降低污水處理的加工成本。
可選的,所述清理刮板表面開設有供彈性塊滑移的滑移腔,所述清理刮板和彈性塊之間連接有動力彈性件,所述動力彈性件彈力方向的一端連接在滑移腔內壁上,所述動力彈性件彈力方向的另一端連接在彈性塊上,所述動力彈性件具有彈力驅使彈性塊朝遠離滑移腔的方向滑移,且所述彈性塊端部凸出清理刮板刮除端的趨勢。
通過采用上述技術方案,動力彈性件彈力驅使彈性塊朝遠離滑移腔的方向滑移,且彈性塊端部凸出清理刮板刮除端的趨勢,當凸出清理刮板刮除端的彈性塊端部嵌入濾孔內,并驅使濾孔內的廢渣脫離時,滾篩本體繼續轉動,過篩腔內壁抵接彈性塊表面并驅使彈性塊朝靠近滑移腔的方向滑移,滑移腔內壁抵接彈性塊外周并驅使彈性塊外周的廢渣脫離,實現對彈性塊外周的自動清理,無需工作人員手動清理,減少工作人員的工作負擔,提高自清洗滾篩的污水循環處理裝置的工作效率。
可選的,所述彈性塊凸出清理刮板的端部設有導向面,所述導向面呈圓弧凸起狀,所述導向面能夠抵接濾孔內壁并導向彈性塊端部脫離濾孔。
通過采用上述技術方案,導向面呈圓弧凸起狀,當滾篩本體轉動時,導向面抵接濾孔內壁并導向彈性塊脫離濾孔,減少彈性塊與濾孔內壁之間的磨損,從而延長自清洗滾篩的污水循環處理裝置的使用壽命。
可選的,所述工作臺上連接有驅動組件,所述驅動組件包括驅動電機、兩個同步輪和與同步輪搭配使用的同步帶,所述驅動電機連接在工作臺上,所述驅動電機電機軸軸線和滾篩本體轉動軸線相互平行,其中一個所述同步輪同軸連接在滾篩本體外周,另一個所述同步輪同軸連接在驅動電機電機軸上,所述同步帶張緊連接兩個同步輪。
通過采用上述技術方案,當驅動電機運行時,同步帶張緊連接兩個同步輪,帶動滾篩本體在蓄水腔內轉動,提高過篩腔內廢渣排出污水的工作效率。
可選的,所述工作臺上連接有冷卻組件,所述冷卻組件包括冷卻泵體、冷卻罩、進水管道和出水管道,所述冷卻罩連接在工作臺上,所述冷卻罩具有供驅動電機嵌入的冷卻空間,所述冷卻罩內開設有冷卻流道,所述冷卻流道環繞冷卻空間,所述進水管道一端連接在蓄水腔內壁上,所述進水管道另一端連接在冷卻流道內壁上,所述冷卻泵體連接在工作臺上,所述出水管道一端連接在冷卻流道內壁上,所述出水管道另一端連接在冷卻泵體進水端上,所述冷卻泵體能夠驅使蓄水腔內的污水通過進水管道進入冷卻流道內,并從所述出水管道排出。
通過采用上述技術方案,驅動電機長期運行過程中會產生大量熱能,驅動電機位于冷卻空間內,冷卻流道環繞冷卻空間,驅動電機將部分熱能熱傳遞給冷卻空間內壁,同時冷卻泵體驅使蓄水腔內的污水通過進水管道進入冷卻流道內,冷卻流道內的污水和冷卻空間內壁進行熱交換并從出水管道排出,實現對驅動電機的降溫,使驅動電機不易長時間處于高溫狀態下而損壞,從而延長驅動電機的使用壽命。
可選的,所述冷卻泵體連接有噴淋管道,所述噴淋管道進水端連接在冷卻泵體出水端,所述噴淋管道出水端間隔連接有多個噴淋噴嘴,所述噴淋噴嘴噴射端朝向滾篩本體外周。
通過采用上述技術方案,噴淋管道進水端連接在冷卻泵體出水端,噴淋管道出水端間隔連接有多個噴淋噴嘴,噴淋噴嘴出水端朝向滾篩本體外周,冷卻泵體驅使出水管道的污水進入噴淋管道內腔,噴淋管道內的污水通過多個噴淋噴嘴出水端排出,污水噴灑在滾篩本體外周,驅使濾孔內的廢渣脫離,提高對濾孔內壁的清理效率,進一步提高對具有自清洗滾篩的污水循環處理裝置的自清洗效率。
可選的,所述工作臺包括支撐部、固定部一和固定部二,所述蓄水腔位于支撐部上,所述固定部一和固定部二間隔連接在蓄水腔底壁上,所述固定部一表面開設有供滾篩本體轉動的轉動孔一,所述固定部二表面開設有供滾篩本體轉動的轉動孔二,所述清理刮板一端連接在固定部一表面,所述清理刮板另一端連接在固定部二表面,所述清理刮板表面間隔連接有多個清理噴嘴,所述清理噴嘴出水端朝向清理刮板刮除端。
通過采用上述技術方案,滾篩本體一端在轉動孔一內壁轉動,滾篩本體另一端在轉動孔二內壁轉動,轉動孔一內壁和轉動孔二內壁為滾篩本體提供支撐,使滾篩本體在蓄水腔內不易發生偏移,從而提高滾篩本體在蓄水腔內轉動的穩定性;清理刮板一端連接在固定部一表面,清理刮板另一端連接在固定部二表面,固定部一和固定部二為清理刮板提供支撐,從而保證清理刮板對過篩腔內壁清理的穩定;且多個清理噴嘴噴射端朝向清理刮板刮除端,使清理噴嘴噴射端噴出的污水對清理刮板刮除端進行清理,從而提高對清理刮板的清理效率。
可選的,所述清理刮板內開設有供水流道,所述供水流道連通清理噴嘴進水端,所述噴淋管道和清理刮板之間連接有供水管道,所述供水管道進水端連通噴淋管道內腔,所述供水管道出水端連通供水流道內腔。
通過采用上述技術方案,冷卻泵體驅使噴淋管道內的污水通過供水管道進入供水流道內,供水流道內的污水從清理噴嘴出水端噴出,實現污水的循環利用,減少水資源的浪費,體現節能的概念。
可選的,所述工作臺上連接有上料組件,所述上料組件包括上料板、至少兩個上料輥和與上料輥搭配使用的上料帶,所述上料板一端連接在工作臺上,所述上料板另一端朝向過篩腔,兩個所述上料輥間隔轉動連接在工作臺上,所述上料帶張緊連接兩個上料輥,所述上料帶端面與上料板板面齊平。
通過采用上述技術方案,廢渣放置在上料帶端面,上料帶張緊連接兩個上料輥,上料帶端面與上料板板面齊平,上料帶驅使廢渣進入上料板板面,廢渣通過上料板板面進入過篩腔內,實現自清洗滾篩的污水循環處理裝置的自動上料,無需工作人員手動上料,從而提高對廢渣的清理效率。
可選的,所述工作臺上連接有儲存管道,所述儲存管道一端連接在蓄水腔內壁,所述儲存管道另一端貫穿工作臺外壁。
通過采用上述技術方案,儲存管道一端連接在蓄水腔內壁上,儲存管道另一端貫穿工作臺外壁,蓄水腔內的污水通過儲存管道排出,實現對蓄水腔內污水的收集。
綜上所述,本申請包括以下至少一種有益技術效果:1.清理刮板和彈性塊的設置,保障滾篩本體對廢渣中污水過濾的穩定性,同時無需工作人員手動對過篩腔內壁進行清理,實現滾篩本體的自清潔流程,縮短污水處理的清理周期,從而降低污水處理的加工成本;2.滑移腔和動力彈性件的設置,實現對彈性塊外周的自動清理,無需工作人員手動清理,減少工作人員的工作負擔,提高自清洗滾篩的污水循環處理裝置的工作效率;3.導向面的設置,減少彈性塊與濾孔內壁之間的磨損,從而延長自清洗滾篩的污水循環處理裝置的使用壽命。
(發明人:俞裕東;俞裕星;田孟平)






