公布日:2024.05.07
申請日:2024.02.26
分類號:B01D36/04(2006.01)I;B01D33/333(2006.01)I;B01D33/35(2006.01)I;B01D33/37(2006.01)I;B01D33/76(2006.01)I;B01D33/80(2006.01)I;C02F1/00(2023.01)I
摘要
本發明屬于污水處理技術領域,提供了一種自維護污水處理一體化設備及其污水處理方法,其中一種自維護污水處理一體化設備,包括預處理箱、沉淀箱以及收集箱,所述收集箱中轉動連接有一號傳動輥,所述一號傳動輥連接有電機,所述預處理箱中設置有二號傳動輥,所述一號傳動輥與二號傳動輥之間設置有傳送帶,所述二號傳動輥與預處理箱內壁之間設置有調節組件。一種自維護污水處理一體化設備,過濾板以及過濾網口對污水中的污染物進行過濾并傳送,在擋桿、過濾板以及過濾網口的共同作用下,對污水中不同體積的污染物進行充分過濾并推送、收集。

權利要求書
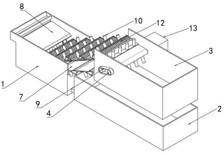
1.一種自維護污水處理一體化設備,包括預處理箱(1)、沉淀箱(2)以及收集箱(3),其特征在于,所述收集箱(3)中轉動連接有一號傳動輥(4),所述一號傳動輥(4)連接有電機(13),所述預處理箱(1)中設置有二號傳動輥(5),所述一號傳動輥(4)與二號傳動輥(5)之間設置有傳送帶(7),所述二號傳動輥(5)與預處理箱(1)內壁之間設置有調節組件(6),所述調節組件(6)能夠帶動二號傳動輥(5)移動;所述傳送帶(7)上間隔設置有多排擋桿(10),且每排擋桿(10)一側均設置有引流板(11),所述引流板(11)通過彈性扭簧與傳送帶(7)轉動連接,所述引流板(11)轉動連接有過濾板(12),所述過濾板(12)的一端與傳送帶(7)滑動連接,所述過濾板(12)與引流板(11)之間的傳送帶(7)上設置有過濾網口(14);所述傳送帶(7)一側設置有導向組件(8),所述導向組件(8)能夠將污水向傳送帶(7)處導送;調控系統,當導向組件(8)上污水流量較大時或者污染物堆積時,調控系統能夠控制調節組件(6)、導向組件(8)以及電機(13),增加傳送帶(7)對污染物的過濾和輸送效率。
2.根據權利要求1所述的自維護污水處理一體化設備,其特征在于,所述調節組件(6)包括弧形導軌(61)、滑動座(62)以及電動驅動件(63);所述弧形導軌(61)設置在預處理箱(1)的內壁上,所述弧形導軌(61)以一號傳動輥(4)的中心為圓心,所述滑動座(62)滑動連接在弧形導軌(61)中,所述電動驅動件(63)的固定端與預處理箱(1)的內壁固定連接,所述電動驅動件(63)的伸縮端與滑動座(62)轉動連接,所述二號傳動輥(5)與滑動座(62)轉動連接。
3.根據權利要求1所述的自維護污水處理一體化設備,其特征在于,所述導向組件(8)包括導流板(81)以及電動支撐座(82),所述導流板(81)的一端與預處理箱(1)的內壁轉動連接,所述電動支撐座(82)的固定端與預處理箱(1)的內壁固定連接,且所述電動支撐座(82)的伸縮端與導流板(81)抵接。
4.根據權利要求1所述的自維護污水處理一體化設備,其特征在于,所述收集箱(3)內壁轉動連接有凸輪(15),所述凸輪(15)與一號傳動輥(4)之間設置有帶傳動副(9)。
5.根據權利要求1所述的自維護污水處理一體化設備,其特征在于,所述過濾網口(14)的孔徑小于過濾板(12)的孔徑。
6.根據權利要求3所述的自維護污水處理一體化設備,其特征在于,所述調控系統包括:監控模塊,用于對導流板(81)受到的外部壓力信息進行監控并獲取;處理模塊,用于接收監控模塊中當前時刻的壓力信息并形成判斷信息;控制模塊,用于接收判斷信息并根據判斷信息對調節組件(6)、導向組件(8)以及電機(13)進行控制。
7.根據權利要求1所述的自維護污水處理一體化設備,其特征在于,所述監控模塊為重力感應器,所述重力感應器設置在電動支撐座(82)的伸縮端。
8.一種污水處理方法,應用于權利要求1-7任一所述的自維護污水處理一體化設備,其特征在于,包括以下步驟:步驟S1:當污水進入到預處理箱(1)中,導向組件(8)將污水導入到傳送帶(7)處,此時污水依次通過過濾板(12)以及過濾網口(14),之后進入到收集箱(3)中;步驟S2:當污水在水流的作用下接觸到傳送帶(7)時,電機(13)帶動一號傳動輥(4)轉動,一號傳動輥(4)與二號傳動輥(5)帶動傳送帶(7)移動,在傳送帶(7)的帶動下,擋桿(10)對體積較大的污染物進行攔截并向收集箱(3)中推送,此時其余體積較小的污染物向過濾板(12)處堆積,過濾板(12)以及過濾網口(14)對污水中的污染物進行過濾并傳送,在擋桿(10)、過濾板(12)以及過濾網口(14)的共同作用下,對污水中不同體積的污染物進行充分過濾并推送、收集;步驟S3:當污水排量持續增加時或者污水中的污染物持續增加時,調控系統能夠控制調節組件(6)、導向組件(8)以及電機(13),進一步增加傳送帶(7)對污染物的過濾和輸送效率。
發明內容
本發明的目的在于提供一種自維護污水處理一體化設備及其污水處理方法,旨在解決現有技術中污水預處理時污染物容易堆積,不易排出的技術問題。
本發明是這樣實現的,一種自維護污水處理一體化設備,包括預處理箱、沉淀箱以及收集箱,所述預處理箱與沉淀箱連通,所述收集箱中轉動連接有一號傳動輥,所述一號傳動輥連接有電機,所述預處理箱中設置有二號傳動輥,所述一號傳動輥與二號傳動輥之間設置有傳送帶,所述二號傳動輥與預處理箱內壁之間設置有調節組件,所述調節組件能夠帶動二號傳動輥移動;所述傳送帶上間隔設置有多排擋桿,且每排擋桿一側均設置有引流板,所述引流板通過彈性扭簧與傳送帶轉動連接,所述引流板轉動連接有過濾板,所述過濾板的一端與傳送帶滑動連接,所述過濾板與引流板之間的傳送帶上設置有過濾網口;所述傳送帶一側設置有導向組件,所述導向組件能夠將污水向傳送帶處導送;調控系統,當導向組件上污水流量較大時或者污染物堆積時,調控系統能夠控制調節組件、導向組件以及電機,增加傳送帶對污染物的過濾和輸送效率。
進一步的技術方案:所述調節組件包括弧形導軌、滑動座以及電動驅動件;所述弧形導軌設置在預處理箱的內壁上,所述弧形導軌以一號傳動輥的中心為圓心,所述滑動座滑動連接在弧形導軌中,所述電動驅動件的固定端與預處理箱的內壁固定連接,所述電動驅動件的伸縮端與滑動座轉動連接,所述二號傳動輥與滑動座轉動連接。
進一步的技術方案:所述導向組件包括導流板以及電動支撐座,所述導流板的一端與預處理箱的內壁轉動連接,所述電動支撐座的固定端與預處理箱的內壁固定連接,且所述電動支撐座的伸縮端與導流板抵接。
進一步的技術方案:所述收集箱內壁轉動連接有凸輪,所述凸輪與一號傳動輥之間設置有帶傳動副。進一步的技術方案:所述過濾網口的孔徑小于過濾板的孔徑。
進一步的技術方案:所述調控系統包括:監控模塊,用于對導流板受到的外部壓力信息進行監控并獲取;處理模塊,用于接收監控模塊中當前時刻的壓力信息并形成判斷信息;控制模塊,用于接收判斷信息并根據判斷信息對調節組件、導向組件以及電機進行控制。
進一步的技術方案:所述監控模塊為重力感應器,所述重力感應器設置在電動支撐座的伸縮端。
一種污水處理方法,應用于上述的自維護污水處理一體化設備,包括以下步驟:步驟S1:當污水進入到預處理箱中,導向組件將污水導入到傳送帶處,此時污水依次通過過濾板以及過濾網口,之后進入到收集箱中;步驟S2:當污水在水流的作用下接觸到傳送帶時,污水中的污染物在水流的推動下堆積在傳送帶附近,電機帶動一號傳動輥轉動,一號傳動輥與二號傳動輥帶動傳送帶移動,在傳送帶的帶動下,擋桿對體積較大的污染物進行攔截并向收集箱中推送,此時其余體積較小的污染物向過濾板污染物進行攔截并向收集箱中推送,此時其余體積較小的污染物向過濾板處堆積,過濾板以及過濾網口對污水中的污染物進行過濾并傳送,在擋桿、過濾板以及過濾網口的共同作用下,對污水中不同體積的污染物進行充分過濾并推送、收集;步驟S3:當污水排量持續增加時或者污水中的污染物持續增加時,調控系統能夠控制調節組件、導向組件以及電機,進一步增加傳送帶對污染物的過濾和輸送效率。
相較于現有技術,本發明的有益效果如下:1、一種自維護污水處理一體化設備,在傳送帶的帶動下,擋桿對體積較大的污染物進行攔截并向收集箱中推送,此時其余體積較小的污染物向過濾板處堆積,過濾板以及過濾網口對污水中的污染物進行過濾并傳送,在擋桿、過濾板以及過濾網口的共同作用下,對污水中不同體積的污染物進行充分過濾并推送、收集;2、一種自維護污水處理一體化設備,污染物在過濾板處堆積的重量增加,此時過濾板受力轉動,過濾板上的污染物沿過濾板向下滑動,避免過濾板完全堵塞;在過濾板的帶動下,引流板與傳送帶之間的夾角增加,從而提升引流板的引流效果,增加過濾網口的過流效率;3、一種自維護污水處理一體化設備,當污水排量持續增加時或者污水中的污染物持續增加時,處理模塊接受重力感應器當前時刻的壓力信息并形成判斷信息,控制模塊接收判斷信息并根據判斷信息對電動驅動件、電動支撐座以及電機進行控制,避免污染物堆積。
(發明人:王瑤;徐艷霞)






