公布日:2023.11.10
申請日:2023.08.10
分類號:C02F1/66(2023.01)I;C02F1/20(2023.01)I;B01D53/18(2006.01)I;B01D53/14(2006.01)I;B08B9/087(2006.01)I;C02F101/16(2006.01)N
摘要
本申請涉及一種撬裝式廢水制氨裝置,屬于廢水處理領域,設置于撬裝平臺上,包括酸堿中和組件、真空脫氣罐和吸收罐,真空脫氣罐的一端與酸堿中和組件相連接、另一端與吸收罐相連接;真空脫氣罐中有第一脫氣腔和第二脫氣腔,第一脫氣腔和第二脫氣腔通過第一隔板分隔,吸收罐中有第一吸收腔和第二吸收腔,第一吸收腔和第二吸收腔通過第二隔板分隔,第一脫氣腔與第一吸收腔連通,第二脫氣腔與第二吸收腔連通。第一脫氣腔和第二脫氣腔增加了廢水位于真空脫氣罐中的滯留時間,實現了對廢水進行兩次脫氨的功能,第一吸收腔和第二吸收腔方便對脫離的氨氣進行收集,提高了廢水制氨裝置對廢水的脫氨效率,從而提高了廢水制氨裝置制作氨水的效率。

權利要求書
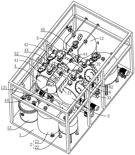
1.一種撬裝式廢水制氨裝置,設置于撬裝平臺(1)上,其特征在于:包括酸堿中和組件(2)、用于處理廢水的真空脫氣罐(3)和用于制作氨水的吸收罐(4),所述酸堿中和組件(2)、真空脫氣罐(3)和吸收罐(4)均設置在撬裝平臺(1)上,所述真空脫氣罐(3)的一端與酸堿中和組件(2)相連接、另一端與吸收罐(4)相連接;所述真空脫氣罐(3)中設有第一脫氣腔(31)和第二脫氣腔(32),所述第一脫氣腔(31)和第二脫氣腔(32)通過第一隔板(33)分隔,所述第一隔板(33)上開設有溢流孔(331),所述吸收罐(4)中設有第一吸收腔(41)和第二吸收腔(42),所述第一吸收腔(41)和第二吸收腔(42)通過第二隔板(43)分隔,所述第一脫氣腔(31)與第一吸收腔(41)相連通,所述第二脫氣腔(32)與第二吸收腔(42)相連通;所述第一脫氣腔(31)和第二脫氣腔(32)中均設有清理組件(7),所述清理組件(7)包括清理板(71)和控制環(72),所述第一脫氣腔(31)和第二脫氣腔(32)的內壁均開設有環槽(73),所述控制環(72)與環槽(73)的內壁滑動連接,所述清理板(71)設置在控制環(72)上,所述清理板(71)的一側與第一隔板(33)相抵接、另一側與對應的第一脫氣腔(31)或對應的第二脫氣腔(32)的內壁相抵接,所述真空脫氣罐(3)外側設有支撐架(35),所述支撐架(35)上設有電機(351),所述真空脫氣罐(3)中開設有與環槽(73)相連通的驅動腔(353),所述電機(351)的輸出端延伸至驅動腔(353)中并同軸連接有第一齒輪(352),所述控制環(72)靠近第一齒輪(352)的一側沿自身的周向設有第一齒條(721),所述第一齒條(721)與第一齒輪(352)相嚙合;所述真空脫氣罐(3)上轉動連接有門板(37),所述第一脫氣腔(31)和第二脫氣腔(32)均對應一個門板(37),所述支撐架(35)上設有用于控制門板(37)重復開關的控制組件(8),所述控制組件(8)與控制環(72)相連接;所述控制組件(8)包括傳動件(81)和控制件(82),所述傳動件(81)的一端與控制環(72)相連接、另一端與控制件(82)相連接,所述傳動件(81)包括第二齒輪(811)和凸輪(812),所述支撐架(35)上開設有與環槽(73)相連通的控制腔(36),所述第二齒輪(811)與控制腔(36)的內壁轉動連接,所述控制環(72)的外周壁上以自身的周向固定有第二齒條(722),所述第二齒輪(811)與第二齒條(722)相嚙合,所述凸輪(812)與第二齒輪(811)同軸固定;所述控制件(82)包括支撐座(821)、支撐柱(822)、觸發板(823)和控制座(824),所述支撐座(821)固定在真空脫氣罐(3)上,所述支撐柱(822)滑動連接在支撐座(821)上,所述觸發板(823)固定在支撐柱(822)靠近凸輪(812)的一側,所述支撐柱(822)上繞設有彈簧(825),所述彈簧(825)的一端與觸發板(823)相連接、另一端與支撐座(821)相連接,所述控制座(824)沿豎直方向固定在支撐柱(822)遠離觸發板(823)的一端,所述門板(37)上開設有控制槽(371),所述控制槽(371)中設有控制柱(372),所述控制座(824)上開設有腰型孔(826),所述控制柱(372)設置在腰型孔(826)中并沿腰型孔(826)滑動,所述清理板(71)上開設有歸攏槽(711)。
2.根據權利要求1所述的一種撬裝式廢水制氨裝置,其特征在于:所述第一脫氣腔(31)和第一吸收腔(41)之間以及第二脫氣腔(32)和第二吸收腔(42)之間均通過第一平衡組件(5)和第二平衡組件(6)相連通;所述第一平衡組件(5)包括第一循環件(51)和第一噴射器(52),所述第一循環件(51)的一端與對應的第一脫氣腔(31)或第二脫氣腔(32)相連通、另一端與對應的第一噴射器(52)相連通,所述第一循環件(51)用于循環對應的第一脫氣腔(31)或對應的第二脫氣腔(32)中的廢水,所述第一噴射器(52)抽取對應的第一吸收腔(41)或對應的第二吸收腔(42)中的氨氣并將氨氣輸送至對應的第一脫氣腔(31)或對應的第二脫氣腔(32)中;所述第二平衡組件(6)包括第二循環件(61)和第二噴射器(62),所述第二循環件(61)的一端與對應的第一吸收腔(41)或第二吸收腔(42)相連通、另一端與對應的第二噴射器(62)相連通,所述第二循環件(61)用于循環對應的第一吸收腔(41)或對應的第二吸收腔(42)中的氨水,所述第二噴射器(62)抽取對應的第一脫氣腔(31)或對應第二脫氣腔(32)中的氨氣并將氨氣輸送至對應的第一吸收腔(41)或對應的第二吸收腔(42)中。
3.根據權利要求2所述的一種撬裝式廢水制氨裝置,其特征在于:所述第一循環件(51)包括第一水泵(511)、第一連接管(512)和第二連接管(513),所述第一水泵(511)設置在撬裝平臺(1)上,所述第一連接管(512)的一端與對應的第一脫氣腔(31)或對應的第二脫氣腔(32)相連通、另一端與第一水泵(511)的輸入端相連通,所述第二連接管(513)的一端與第一水泵(511)的輸出端相連通、另一端與第一噴射器(52)的輸入端相連通,所述第一噴射器(52)的輸出端上連通有第一回流管(523),所述第一回流管(523)遠離第一噴射器(52)的一端與對應的第一脫氣腔(31)或對應的第二脫氣腔(32)相連通;所述第二循環件(61)包括第二水泵(611)、第三連接管(612)和第四連接管(613),所述第二水泵(611)設置在撬裝平臺(1)上,所述第三連接管(612)的一端與對應的第一吸收腔(41)或對應的第二吸收腔(42)相連通、另一端與對應的第二水泵(611)的輸入端相連通,所述第四連接管(613)的一端與第二水泵(611)的輸出端相連通、另一端與第二噴射器(62)的輸入端相連通,所述第二噴射器(62)的輸出端上連通有第二回流管(622),所述第二回流管(622)遠離第二噴射器(62)的一端與對應的第一吸收腔(41)或對應的第二吸收腔(42)相連通。
4.根據權利要求2所述的一種撬裝式廢水制氨裝置,其特征在于:所述第一噴射器(52)通過第一抽氣管(521)與對應的第一吸收腔(41)或對應的第二吸收腔(42)相連通,所述第二噴射器(62)通過第二抽氣管(621)與對應的第一脫氣腔(31)或對應的第二脫氣腔(32)相連通,所述第一抽氣管(521)中設有用于封堵部分第一抽氣管(521)的限位板(522)。
5.根據權利要求1所述的一種撬裝式廢水制氨裝置,其特征在于:所述酸堿中和組件(2)包括中和罐(21)和裝有堿性中和介質的存儲罐(22),所述存儲罐(22)與中和罐(21)相連通,所述中和罐(21)遠離存儲罐(22)的一端與第一脫氣腔(31)相連通。
6.根據權利要求1所述的一種撬裝式廢水制氨裝置,其特征在于:所述撬裝平臺(1)上設有收集罐(11),所述真空脫氣罐(3)上連通有溢流管(34),所述溢流管(34)的一端與第二脫氣腔(32)相連通、另一端與收集罐(11)相連通。
7.根據權利要求1所述的一種撬裝式廢水制氨裝置,其特征在于:所述撬裝平臺(1)上設有成品罐(12)和尾氣罐(13),所述成品罐(12)通過成品管(45)與第二吸收腔(42)相連通,所述尾氣罐(13)通過排污管(131)與成品罐(12)相連通,所述尾氣罐(13)中存有用于回收尾氣的清水,所述排污管(131)延伸至清水的液面以下。
8.根據權利要求1所述的一種撬裝式廢水制氨裝置,其特征在于:所述第一吸收腔(41)和第二吸收腔(42)的內壁均繞設有冷凝管(44),所述冷凝管(44)外接有冷卻介質。
發明內容
為了改善上述問題,本申請提供一種撬裝式廢水制氨裝置。
本申請提供的一種撬裝式廢水制氨裝置,采用如下的技術方案:
一種撬裝式廢水制氨裝置,設置于撬裝平臺上,包括酸堿中和組件、用于處理廢水的真空脫氣罐和用于制作氨水的吸收罐,所述酸堿中和組件、真空脫氣罐和吸收罐均設置在撬裝平臺上,所述真空脫氣罐的一端與酸堿中和組件相連接、另一端與吸收罐相連接;
所述真空脫氣罐中設有第一脫氣腔和第二脫氣腔,所述第一脫氣腔和第二脫氣腔通過第一隔板分隔,所述第一隔板上開設有溢流孔,所述吸收罐中設有第一吸收腔和第二吸收腔,所述第一吸收腔和第二吸收腔通過第二隔板分隔,所述第一脫氣腔與第一吸收腔相連通,所述第二脫氣腔與第二吸收腔相連通。
通過采用上述技術方案,當需要使用廢水制氨時,工人將廢水輸送至酸堿中和組件中,酸堿中和組件對廢水的酸堿值進行中和,經過中和后的廢水再輸送至第一脫氣腔中,位于第一脫氣腔中的廢水液位高度上升至溢流孔時,廢水逐漸進入第二脫氣腔中。同時工人對真空脫氣罐進行加熱并使得第一脫氣腔和第二脫氣腔內部處于負壓狀態,使得廢水中的氨氣排出。位于第一脫氣腔中的氨氣進入第一吸收腔中,位于第二脫氣腔中的氨氣進入第二吸收腔中,以吸收廢水中分離的氨水。同時,第一脫氣腔和第二脫氣腔的設置,增加了廢水在真空脫氣罐中的滯留時間,提高了對廢水的脫氨效率,從而提高了廢水制氨裝置制作氨水的效率。
優選的,所述第一脫氣腔和第一吸收腔之間以及第二脫氣腔和第二吸收腔之間均通過第一平衡組件和第二平衡組件相連通;
所述第一平衡組件包括第一循環件和第一噴射器,所述第一循環件的一端與對應的第一脫氣腔或第二脫氣腔相連通、另一端與對應的第一噴射器相連通,所述第一循環件用于循環對應的第一脫氣腔或對應的第二脫氣腔中的廢水,所述第一噴射器抽取對應的第一吸收腔或對應的第二吸收腔中的氨氣并將氨氣輸送至對應的第一脫氣腔或對應的第二脫氣腔中;
所述第二平衡組件包括第二循環件和第二噴射器,所述第二循環件的一端與對應的第一吸收腔或第二吸收腔相連通、另一端與對應的第二噴射器相連通,所述第二循環件用于循環對應的第一吸收腔或對應的第二吸收腔中的氨水,所述第二噴射器抽取對應的第一脫氣腔或對應第二脫氣腔中的氨氣并將氨氣輸送至對應的第一吸收腔或對應的第二吸收腔中。
通過采用上述技術方案,第一循環件對第一脫氣腔中的廢水進行循環,進一步增加了廢水位于第一脫氣腔中的滯留時間,提高了位于第一脫氣腔中廢水的脫氨效果。第二循環件對第二脫氣腔中的廢水進行循環,進一步增加了廢水位于第二脫氣腔中的滯留時間,提高了位于第二脫氣腔中廢水的脫氨效率。同時,第二噴射器抽取第一脫氣腔或第二脫氣腔中的氨氣,使得第一脫氣腔和第二脫氣腔中始終處于負壓狀態,以便第一脫氣腔和第二脫氣腔中廢水較為穩定地脫氨。第一噴射器抽取第一吸收腔或第二吸收腔內的氨氣,使得第一吸收腔和第二吸收腔處于常壓狀態,從而實現了平衡真空脫氣罐和吸收罐中氣壓的功能。
優選的,所述第一循環件包括第一水泵、第一連接管和第二連接管,所述第一水泵設置在撬裝平臺上,所述第一連接管的一端與對應的第一脫氣腔或對應的第二脫氣腔相連通、另一端與第一水泵的輸入端相連通,所述第二連接管的一端與第一水泵的輸出端相連通、另一端與第一噴射器的輸入端相連通,所述第一噴射器的輸出端上連通有第一回流管,所述第一回流管遠離第一噴射器的一端與對應的第一脫氣腔或對應的第二脫氣腔相連通;
所述第二循環件包括第二水泵、第三連接管和第四連接管,所述第二水泵設置在撬裝平臺上,所述第三連接管的一端與對應的第一吸收腔或對應的第二吸收腔相連通、另一端與對應的第二水泵的輸入端相連通,所述第四連接管的一端與第二水泵的輸出端相連通、另一端與第二噴射器的輸入端相連通,所述第二噴射器的輸出端上連通有第二回流管,所述第二回流管遠離第二噴射器的一端與對應的第一吸收腔或對應的第二吸收腔相連通。
通過采用上述技術方案,第一水泵通過第一連接管抽取第一脫氣腔或第二脫氣腔中的廢水,再通過第二連接管輸送至對應的第一噴射器中,第一噴射器再通過第一回流管將抽取的廢水重新噴入第一脫氣腔或第二脫氣腔中,以循環真空脫氣罐中的廢水。第二水泵通過第三連接管抽取第一吸收罐或第二吸收罐中的氨水,再通過第四連接管輸送至對應的第二噴射器中,第二噴射器再通過第二回流管將氨水重新輸送至對應的第一吸收腔或對應的第二吸收腔中,從而提高了廢水在真空脫氣罐中的滯留時間以及氨水在吸收罐中的滯留時間,一方面提高了廢水的脫氨效率,另一方面提高了廢水制氨裝置制作氨水的效率。
優選的,所述第一噴射器通過第一抽氣管與對應的第一吸收腔或對應的第二吸收腔相連通,所述第二噴射器通過第二抽氣管與對應的第一脫氣腔或對應的第二脫氣腔相連通,所述第一抽氣管中設有用于封堵部分第一抽氣管的限位板。
通過采用上述技術方案,第一噴射器抽取第一吸收腔或第二吸收腔中的部分氨氣并將氨氣輸送至第一脫氣腔或第二脫氣腔中,同時限位板限制第一抽氣管對氨氣的抽取量,降低了吸收罐中的氣壓發生變化的可能性。第二噴射器抽取第一脫氣腔或第二脫氣腔中的氨氣并將氨氣輸送至第一吸收腔或第二吸收腔中,由于限位板的存在,使得真空脫氣罐和吸收罐中始終存在氣壓差,以便真空脫氣罐中始終處于負壓狀態。
優選的,所述酸堿中和組件包括中和罐和裝有堿性中和介質的存儲罐,所述存儲罐與中和罐相連通,所述中和罐遠離存儲罐的一端與第一脫氣腔相連通。
通過采用上述技術方案,存儲罐將堿性中和介質通入中和罐中,工人再將廢水輸送至中和罐中,使得廢水與堿性中和介質混合,以便廢水的酸堿值達到廢水脫氨的設定閾值。
優選的,所述撬裝平臺上設有收集罐,所述真空脫氣罐上連通有溢流管,所述溢流管的一端與第二脫氣腔相連通、另一端與收集罐相連通。
通過采用上述技術方案,第一脫氣腔和第二脫氣腔對廢水進行兩次脫氨,提高了廢水的脫氨效果。位于第二脫氣腔中的廢水液位高度之間上升,在第二脫氣腔中的廢水與溢流管相對時,脫氨完成后的廢水即可通過溢流管進入收集罐中,實現了自動收集脫氨后的廢水的功能。
優選的,所述撬裝平臺上設有成品罐和尾氣罐,所述成品罐通過成品管與第二吸收腔相連通,所述尾氣罐通過排污管與成品罐相連通,所述尾氣罐中存有用于回收尾氣的清水,所述排污管延伸至清水的液面以下。
通過采用上述技術方案,在第二吸收腔中的氨水液位高度高于成品管時,氨水即可進入成品罐中,實現了自動收集氨水的功能。此時吸收罐中多余的氨氣即可通過排污管進入尾氣罐中,以便尾氣罐中的清水吸收多余的氨氣,同時位于液面以下的排污管降低了排污管中出現倒吸的可能性。
優選的,所述第一吸收腔和第二吸收腔的內壁均繞設有冷凝管,所述冷凝管外接有冷卻介質。
通過采用上述技術方案,由于氨氣溶于水為放熱反應,此時冷凝管對第一吸收腔和第二吸收腔的內部進行換熱,使得第一吸收腔和第二吸收腔中的溫度不易過高,降低了吸收罐中溫度過高而影響氨氣的溶解度。
優選的,所述第一脫氣腔和第二脫氣腔中均設有清理組件,所述清理組件包括清理板和控制環,所述第一脫氣腔和第二脫氣腔的內壁均開設有環槽,所述控制環與環槽的內壁滑動連接,所述清理板設置在控制環上,所述清理板的一側與第一隔板相抵接、另一側與對應的第一脫氣腔或對應的第二脫氣腔的內壁相抵接,所述真空脫氣罐外側設有支撐架,所述支撐架上設有電機,所述真空脫氣罐中開設有與環槽相連通的驅動腔,所述電機的輸出端延伸至驅動腔中并同軸連接有第一齒輪,所述控制環靠近第一齒輪的一側沿自身的周向設有第一齒條,所述第一齒條與第一齒輪相嚙合。
通過采用上述技術方案,在對廢水處理完成后,電機啟動并帶動第一齒輪轉動,第一齒輪帶動第一齒條轉動,第一齒條再帶動控制環轉動,控制環再帶動對應的清理板轉動,清理板對真空脫氣罐的內壁以及第一隔板進行清理,使得廢水中的雜質不易粘在真空脫氣罐內壁以及第一隔板上的可能性,降低了雜質影響廢水后續脫氨的可能性。
優選的,所述真空脫氣罐上轉動連接有門板,所述第一脫氣腔和第二脫氣腔均對應一個門板,所述支撐架上設有用于控制門板重復開關的控制組件,所述控制組件與控制環相連接。
通過采用上述技術方案,在控制環轉動的過程中,控制組件啟動,控制組件再控制門板往復轉動,在清理板轉動的過程中,與往復開合的門板相配合,以將清理板將刮下的雜質從門板排出,從而為工人清理真空脫氣罐中的雜質提供了便利。
綜上所述,本申請包括以下至少一種有益技術效果:
1.通過設置第一脫氣腔、第二脫氣腔、第一吸收腔和第二吸收腔,增加了廢水位于真空脫氣罐中的滯留時間,實現了對廢水進行兩次脫氨的功能,同時第一吸收腔和第二吸收腔方便對脫離的氨氣進行收集,提高了廢水制氨裝置對廢水的脫氨效率,從而提高了廢水制氨裝置制作氨水的效率;
2.通過設置第一循環件、第二循環件、第一噴射器和第二噴射器,第一循環件進一步增加了廢水位于真空脫氣罐中的滯留時間,第二循環件增加了氨水位于吸收罐中的滯留時間,進一步提高了真空脫氣罐對廢水的脫氨效率,且第一噴射器和第二噴射器對真空脫氣罐和吸收罐內的壓力進行平衡,以便真空脫氣罐較為穩定地對廢水進行脫氨;
3.通過設置清理組件、控制組件和門板,在清理組件清理真空脫氣罐內壁以及隔板上雜質的過程中,控制組件控制門板往復開合,實現了清理組件清理雜質的同時將雜質排出,降低了雜質影響廢水后續脫氨的可能性。
(發明人:張其盛;張林;黃杰)






