公布日:2023.11.03
申請日:2023.08.17
分類號:C02F11/121(2019.01)I;C02F11/122(2019.01)I
摘要
本發明涉及污泥處理設備領域,且公開了一種高效防堵污泥濃縮脫水罐,包括污泥脫水罐和濃縮污泥儲存罐,污泥脫水罐與濃縮污泥儲存罐連接有污泥出料通管,污泥脫水罐的內部中心處轉動設置有四組可停頓式圓周運動布的污泥脫水框,且污泥脫水罐中還設置有轉動驅動機用于構驅動污泥脫水框,污泥脫水罐中對應出料端一周依次間隔九十度處分別設置有壓濾脫水機構、出料機構和清潔機構,轉動驅動組件中設置有控制壓濾脫水機構、清潔機構運動的傳動齒輪組;該脫水罐中四組污泥脫水框可同步進行濃縮污泥出料、機械壓濾脫水、脫水后泥餅出料以及清潔作業,且每組污泥脫水框可依次進行上述作業,該脫水罐具有高效的防堵性、節能性、同步性以及脫水率相同性。

權利要求書
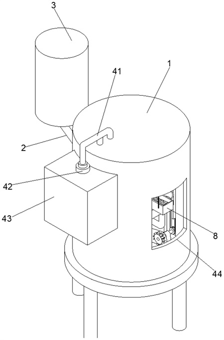
1.一種高效防堵污泥濃縮脫水罐,包括污泥脫水罐(1)和濃縮污泥儲存罐(3),所述污泥脫水罐(1)側面外壁固定連接有向上傾斜的污泥出料通管(2),且污泥脫水罐(1)通過污泥出料通管(2)與濃縮污泥儲存罐(3)連接,其特征在于:所述污泥出料通管(2)延伸進污泥脫水罐(1)內部的端口為出料端,所述污泥出料通管(2)的出料端設置有可自動復位的封口組件;所述污泥脫水罐(1)的內部中心處轉動設置有轉筒(7),所述轉筒(7)的外壁上固定連接有四組呈十字狀分布的污泥脫水框(8),污泥脫水框(8)的內部為污泥脫水腔,所述污泥脫水罐(1)的底端設置有與轉筒(7)連接的轉動驅動機構,用于驅動四組污泥脫水框(8)做可停頓式圓周運動,所述污泥脫水框(8)頂端低于污泥出料通管(2)且相鄰的兩組污泥脫水框(8)相互垂直,所述污泥脫水框(8)與污泥出料通管(2)出料端的封口組件之間設置有開關觸發機構;所述污泥脫水罐(1)中對應污泥脫水框(8)從污泥出料通管(2)的出料端底部依次轉動九十度處分別設置有壓濾脫水機構、出料機構和清潔機構,所述壓濾脫水機構由脫水壓板(13)以及帶動脫水壓板(13)往復下壓的脫水動力往復組件(14)組成,所述污泥脫水框(8)的底部開設有多組濾孔,所述污泥脫水框(8)的底部為傾斜狀,且污泥脫水框(8)底部內壁最低側與轉筒(7)靠近,所述脫水壓板(13)的底部位于污泥脫水框(8)底部內壁適配的傾斜狀,且脫水壓板(13)的橫截面與污泥脫水框(8)中脫水腔的橫截面為相同的矩形面,且污泥脫水框(8)通過帶有濾孔的底部與脫水壓板(13)相互擠壓對污泥進行機械壓濾脫水,所述脫水動力往復組件(14)與轉動驅動機構之間傳動連接,所述清潔機構與污泥出料通管(2)的封口組件之間連接有壓力傳感器用于電信號傳輸,所述出料機構包括有電動機械抓手和輸送帶組成,且污泥脫水罐(1)對應連接濃縮污泥儲存罐(3)的側面外壁開始有貫穿泥餅出料槽(44),且出料機構中輸送帶位于污泥脫水框(8)的下方并通過泥餅出料槽(44)延伸出污泥脫水罐(1)的外側;所述轉動驅動組件包括圓周位移齒輪(4)、中心齒輪(5)和主動電機(6),所述污泥脫水罐(1)的底部內壁中心處轉動安裝有圓周位移齒輪(4),且圓周位移齒輪(4)頂端中心處安裝有與轉筒(7)連接的豎軸,所述污泥脫水罐(1)底部內壁對應圓周位移齒輪(4)靠近壓濾脫水機構的一側轉動安裝有中心齒輪(5),且中心齒輪(5)與脫水動力往復組件(14)之間設置有傳動組件,所述污泥脫水罐(1)的底端固定安裝有驅動中心齒輪(5)轉動的主動電機(6),所述中心齒輪(5)上設置有可與圓周位移齒輪(4)嚙合的長齒組(10),所述中心齒輪(5)上對應長齒組(10)的兩側均設置有不可與圓周位移齒輪(4)嚙合的短齒組(9),且中心齒輪(5)對應長齒組(10)的對立側設置為光滑表面;所述污泥脫水罐(1)中對應壓濾脫水機構和清潔機構下方的兩組污泥脫水框(8)的下方固定安裝有污水聚合槽(15)。
2.根據權利要求1所述的一種高效防堵污泥濃縮脫水罐,其特征在于:所述中心齒輪(5)上長齒組(10)和短齒組(9)的設置區域均為中心齒輪(5)外環區域的四分之一,所述圓周位移齒輪(4)上輪齒的設置與長齒組(10)中輪齒設置相同,且圓周位移齒輪(4)上輪齒數量為長齒組(10)的四倍。
3.根據權利要求1所述的一種高效防堵污泥濃縮脫水罐,其特征在于:所述污泥出料通管(2)的出料端上封口組件包括弧型封口板(17)、側立板(18)、弧型導軌桿(19)和復位彈簧(20),所述污泥出料通管(2)對應出料端口的頂部和底部設置有凸出部,且污泥出料通管(2)對應出料端凸出部設置有上下對稱的弧形滑槽(16),所述出料端通過弧形滑槽(16)滑動卡接有可與污泥脫水框(8)做相同弧形位移的弧型封口板(17),所述污泥脫水罐(1)內壁上對應出料端的一側固定安裝有側立板(18),所述側立板(18)的靠近出料端側面外壁上固定安裝有延伸至出料端處的弧型導軌桿(19),所述弧型封口板(17)滑動套接在弧型導軌桿(19)上,所述弧型封口板(17)與側立板(18)相互靠近的側壁之間固定連接有套設在弧型導軌桿(19)上復位彈簧(20)。
4.根據權利要求3所述的一種高效防堵污泥濃縮脫水罐,其特征在于:所述污泥脫水框(8)與出料端上封口組件之間設置的開關觸發機構包括有抵板塊一(21)、弧形抵板桿(23)、抵板塊二(24)和抵桿觸頭(25),所述污泥脫水框(8)的寬度大于出料端的寬度,所述弧型封口板(17)外表面上背離側立板(18)的一側固定安裝有抵板塊一(21),所述污泥脫水框(8)對應與轉動方向相同的側壁上固定安裝有豎直件(22),所述豎直件(22)頂端處背離污泥脫水框(8)的一側鉸接有橫向的弧形抵板桿(23),且豎直件(22)與弧形抵板桿(23)鉸接處設置有扭簧,所述弧形抵板桿(23)靠近弧型封口板(17)的一側設置有一體化的抵板塊二(24),且抵板塊二(24)靠近弧形抵板桿(23)的鉸接端并可與抵板塊一(21)相互抵觸,所述弧形抵板桿(23)的自由端設置有與抵板塊二(24)同側的抵桿觸頭(25),所述抵桿觸頭(25)的設置寬度大于抵板塊二(24)的設置寬度。
5.根據權利要求4所述的一種高效防堵污泥濃縮脫水罐,其特征在于:所述抵板塊二(24)與弧形抵板桿(23)相互接觸面均為傾斜面,所述抵板塊二(24)的外側面為可與側立板(18)端口抵觸的弧形面,所述污泥出料通管(2)的出料端面、弧型封口板(17)、弧型導軌桿(19)和弧形抵板桿(23)均為契合污泥脫水框(8)做圓周遠動軌跡的弧形狀,所述側立板(18)端面距離污泥脫水罐(1)內壁的長度大于抵板塊一(21)端面距離污泥脫水罐(1)內壁的長度。
6.根據權利要求1所述的一種高效防堵污泥濃縮脫水罐,其特征在于:所述脫水動力往復組件(14)包括豎移架(26)、轉盤(27)、U型卡齒槽(28)和壓架桿(29),所述污泥脫水罐(1)上對應與污泥出料通管(2)出料端間距弧度為九十度的位置開設有貫穿式的豎槽(11),所述豎槽(11)中內嵌安裝有龍門架(12),所述龍門架(12)中相互靠近的側面內壁開設有T型滑動卡槽(31),所述豎移架(26)的兩側設置有一體化與弧形抵板桿(23)適配的T型卡接條(32),所述豎移架(26)通過T型卡接條(32)卡接在T型卡接條(32)中且與龍門架(12)上下滑動連接,所述豎移架(26)的頂端固定安裝有兩組彎折連接桿(30),且豎移架(26)通過彎折連接桿(30)固定連接有位于污泥脫水框(8)上方的脫水壓板(13),所述龍門架(12)背離轉筒(7)的一側固定安裝有橫基板,且橫基板上中心處轉動安裝有位于龍門架(12)內部的轉盤(27),且轉盤(27)的端面外壁與豎移架(26)貼合,所述豎移架(26)的兩側對應于轉盤(27)貼合的區域開設有相互對稱的U型卡齒槽(28),所述U型卡齒槽(28)的凸出端面以及內凹端面均為半圓弧面,所述轉盤(27)上沿著邊側處固定安裝有可與U型卡齒槽(28)卡接的六個壓架桿(29),且六個壓架桿(29)呈弧形排列。
7.根據權利要求6所述的一種高效防堵污泥濃縮脫水罐,其特征在于:所述傳動組件包括脫水傳動齒輪(33)、轉軸(34)、皮帶(36)和皮帶轉輪(37),所述污泥脫水罐(1)底部內壁上對應立座(35),所述立座(35)上轉動安裝有水平狀的轉軸(34),所述轉軸(34)靠近中心齒輪(5)的一端固定安裝有脫水傳動齒輪(33),且脫水傳動齒輪(33)的底部與中心齒輪(5)上長齒組(10)和短齒組(9)均垂直嚙合,且脫水傳動齒輪(33)上一圈輪齒的數量與中心齒輪(5)上輪齒數量相同,所述轉軸(34)背離脫水傳動齒輪(33)的一端延伸至龍門架(12)的外側且固定連接皮帶轉輪(37),且橫基板背離轉盤(27)的外壁上也固定安裝有與轉盤(27)固連的皮帶轉輪(37),上下兩組皮帶轉輪(37)中套接有皮帶(36)。
8.根據權利要求3所述的一種高效防堵污泥濃縮脫水罐,其特征在于:所述清潔機構包括清潔噴頭(40)、通水管(41)、水泵(42)和水箱(43),所述污泥脫水罐(1)側面外壁上安裝有水箱(43),所述水箱(43)上固設有水泵(42),且水泵(42)的輸出端固定連接有延伸至污泥脫水罐(1)內部的通水管(41),所述通水管(41)位于污泥脫水罐(1)內部端口固定連有兩組清潔噴頭(40),且兩組清潔噴頭(40)位于與壓濾脫水機構對立側的污泥脫水框(8)的上方,所述封口組件中可形變的復位彈簧(20)與壓力傳感器的電觸頭進行電性連接,所述壓力傳感器與水泵(42)的開關電器電性連接。
9.根據權利要求1所述的一種高效防堵污泥濃縮脫水罐,其特征在于:所述污水聚合槽(15)位于兩組污泥脫水框(8)的下方呈傾斜狀,且污水聚合槽(15)靠近壓濾脫水機構的一端為傾斜最低端,所述污水聚合槽(15)對應傾斜最低端固定連有排污管(38),所述污水聚合槽(15)中間處固設有弧槽通孔(39)用于貫穿轉筒(7)與圓周位移齒輪(4)之間連接的豎軸,所述污水聚合槽(15)的內部為連通狀。
發明內容
(一)解決的技術問題
針對現有技術的不足,本發明提供了一種高效防堵污泥濃縮脫水罐,解決了上述的問題。
(二)技術方案
為實現上述所述目的,本發明提供如下技術方案:一種高效防堵污泥濃縮脫水罐,包括污泥脫水罐和濃縮污泥儲存罐,所述污泥脫水罐側面外壁固定連接有向上傾斜的污泥出料通管,且污泥脫水罐通過污泥出料通管與濃縮污泥儲存罐連接,所述污泥出料通管延伸進污泥脫水罐內部的端口為出料端,所述污泥出料通管的出料端設置有可自動復位的封口組件;
所述污泥脫水罐的內部中心處轉動設置有轉筒,所述轉筒的外壁上固定連接有四組呈十字狀分布的污泥脫水框,污泥脫水框的內部為污泥脫水腔,所述污泥脫水罐的底端設置有與轉筒連接的轉動驅動機構,用于驅動四組污泥脫水框做可停頓式圓周運動,所述污泥脫水框頂端低于污泥出料通管且相鄰的兩組污泥脫水框相互垂直,所述污泥脫水框與污泥出料通管出料端的封口組件之間設置有開關觸發機構;
所述污泥脫水罐中對應污泥脫水框從污泥出料通管的出料端底部依次轉動九十度處分別設置有壓濾脫水機構、出料機構和清潔機構,所述壓濾脫水機構由脫水壓板以及帶動脫水壓板往復下壓的脫水動力往復組件組成,所述污泥脫水框的底部開設有多組濾孔,所述污泥脫水框的底部為傾斜狀,且污泥脫水框底部內壁最低側與轉筒靠近,所述脫水壓板的底部位于污泥脫水框底部內壁適配的傾斜狀,且脫水壓板的橫截面與污泥脫水框中脫水腔的橫截面為相同的矩形面,且污泥脫水框通過帶有濾孔的底部與脫水壓板相互擠壓對污泥進行機械壓濾脫水,所述脫水動力往復組件與轉動驅動機構之間傳動連接,所述清潔機構與污泥出料通管的封口組件之間連接有壓力傳感器用于電信號傳輸,所述出料機構包括有電動機械抓手和輸送帶組成,且污泥脫水罐對應連接濃縮污泥儲存罐的側面外壁開始有貫穿泥餅出料槽,且出料機構中輸送帶位于污泥脫水框的下方并通過泥餅出料槽延伸出污泥脫水罐的外側;
所述轉動驅動組件包括圓周位移齒輪、中心齒輪和主動電機,所述污泥脫水罐的底部內壁中心處轉動安裝有圓周位移齒輪,且圓周位移齒輪頂端中心處安裝有與轉筒連接的豎軸,所述污泥脫水罐底部內壁對應圓周位移齒輪靠近壓濾脫水機構的一側轉動安裝有中心齒輪,且中心齒輪與脫水動力往復組件之間設置有傳動組件,所述污泥脫水罐的底端固定安裝有驅動中心齒輪轉動的主動電機,所述中心齒輪上設置有可與圓周位移齒輪嚙合的長齒組,所述中心齒輪上對應長齒組的兩側均設置有不可與圓周位移齒輪嚙合的短齒組,且中心齒輪對應長齒組的對立側設置為光滑表面;
所述污泥脫水罐中對應壓濾脫水機構和清潔機構下方的兩組污泥脫水框的下方固定安裝有污水聚合槽。
優選的,所述中心齒輪上長齒組和短齒組的設置區域均為中心齒輪外環區域的四分之一,所述圓周位移齒輪上輪齒的設置與長齒組中輪齒設置相同,且圓周位移齒輪上輪齒數量為長齒組的四倍。
優選的,所述污泥出料通管的出料端上封口組件包括弧型封口板、側立板、弧型導軌桿和復位彈簧,所述污泥出料通管對應出料端口的頂部和底部設置有凸出部,且污泥出料通管對應出料端凸出部設置有上下對稱的弧形滑槽,所述出料端通過弧形滑槽滑動卡接有可與污泥脫水框做相同弧形位移的弧型封口板,所述污泥脫水罐內壁上對應出料端的一側固定安裝有側立板,所述側立板的靠近出料端側面外壁上固定安裝有延伸至出料端處的弧型導軌桿,所述弧型封口板滑動套接在弧型導軌桿上,所述弧型封口板與側立板相互靠近的側壁之間固定連接有套設在弧型導軌桿上復位彈簧。
優選的,所述污泥脫水框與出料端上封口組件之間設置的開關觸發機構包括有抵板塊一、弧形抵板桿、抵板塊二和抵桿觸頭,所述污泥脫水框的寬度大于出料端的寬度,所述弧型封口板外表面上背離側立板的一側固定安裝有抵板塊一,所述污泥脫水框對應與轉動方向相同的側壁上固定安裝有豎直件,所述豎直件頂端處背離污泥脫水框的一側鉸接有橫向的弧形抵板桿,且豎直件與弧形抵板桿鉸接處設置有扭簧,所述弧形抵板桿靠近弧型封口板的一側設置有一體化的抵板塊二,且抵板塊二靠近弧形抵板桿的鉸接端并可與抵板塊一相互抵觸,所述弧形抵板桿的自由端設置有與抵板塊二同側的抵桿觸頭,所述抵桿觸頭的設置寬度大于抵板塊二的設置寬度。
優選的,所述抵板塊二與弧形抵板桿相互接觸面均為傾斜面,所述抵板塊二的外側面為可與側立板端口抵觸的弧形面,所述污泥出料通管的出料端面、弧型封口板、弧型導軌桿和弧形抵板桿均為契合污泥脫水框做圓周遠動軌跡的弧形狀,所述側立板端面距離污泥脫水罐內壁的長度大于抵板塊一端面距離污泥脫水罐內壁的長度。
優選的,所述脫水動力往復組件包括豎移架、轉盤、U型卡齒槽和壓架桿,所述污泥脫水罐上對應與污泥出料通管出料端間距弧度為九十度的位置開設有貫穿式的豎槽,所述豎槽中內嵌安裝有龍門架,所述龍門架中相互靠近的側面內壁開設有T型滑動卡槽,所述豎移架的兩側設置有一體化與弧形抵板桿適配的T型卡接條,所述豎移架通過T型卡接條卡接在T型卡接條中且與龍門架上下滑動連接,所述豎移架的頂端固定安裝有兩組彎折連接桿,且豎移架通過彎折連接桿固定連接有位于污泥脫水框上方的脫水壓板,所述龍門架背離轉筒的一側固定安裝有橫基板,且橫基板上中心處轉動安裝有位于龍門架內部的轉盤,且轉盤的端面外壁與豎移架貼合,所述豎移架的兩側對應于轉盤貼合的區域開設有相互對稱的U型卡齒槽,所述U型卡齒槽的凸出端面以及內凹端面均為半圓弧面,所述轉盤上沿著邊側處固定安裝有可與U型卡齒槽卡接的六個壓架桿,且六個壓架桿呈弧形排列。
優選的,所述傳動組件包括脫水傳動齒輪、轉軸、皮帶和皮帶轉輪,所述污泥脫水罐底部內壁上對應立座,所述立座上轉動安裝有水平狀的轉軸,所述轉軸靠近中心齒輪的一端固定安裝有脫水傳動齒輪,且脫水傳動齒輪的底部與中心齒輪上長齒組和短齒組均垂直嚙合,且脫水傳動齒輪上一圈輪齒的數量與中心齒輪上輪齒數量相同,所述轉軸背離脫水傳動齒輪的一端延伸至龍門架的外側且固定連接皮帶轉輪,且橫基板背離轉盤的外壁上也固定安裝有與轉盤固連的皮帶轉輪,上下兩組皮帶轉輪中套接有皮帶。
優選的,所述清潔機構包括清潔噴頭、通水管、水泵和水箱,所述污泥脫水罐側面外壁上安裝有水箱,所述水箱上固設有水泵,且水泵的輸出端固定連接有延伸至污泥脫水罐內部的通水管,所述通水管位于污泥脫水罐內部端口固定連有兩組清潔噴頭,且兩組清潔噴頭位于與壓濾脫水機構對立側的污泥脫水框的上方,所述封口組件中可形變的復位彈簧與壓力傳感器的電觸頭進行電性連接,所述壓力傳感器與水泵的開關電器電性連接。
優選的,所述污水聚合槽位于兩組污泥脫水框的下方呈傾斜狀,且污水聚合槽靠近壓濾脫水機構的一端為傾斜最低端,所述污水聚合槽對應傾斜最低端固定連有排污管,所述污水聚合槽中間處固設有弧槽通孔用于貫穿轉筒與圓周位移齒輪之間連接的豎軸,所述污水聚合槽的內部為連通狀。
(三)有益效果
與現有技術相比,本發明提供了一種高效防堵污泥濃縮脫水罐,具備以下有益效果:
1、該高效防堵污泥濃縮脫水罐,通過轉筒的外壁上固定連接有四組呈十字狀分布的污泥脫水框,污泥脫水罐的底端設置有與轉筒連接的轉動驅動機構,用于驅動四組污泥脫水框做可停頓式圓周運動,污泥脫水罐中對應污泥脫水框從污泥出料通管的出料端底部依次轉動九十度處分別設置有壓濾脫水機構、出料機構和清潔機構,通過轉動驅動組件中位移齒輪、中心齒輪和壓濾脫水機構中的脫水傳動齒輪的特殊設置,在中心齒輪轉動一圈的過程中,可使四組污泥脫水框同步轉動九十度,使得盛有濃縮污泥的污泥脫水框位移到壓濾脫水機構中脫水壓板的下方,由于中心齒輪轉動的過程中,只有中心齒輪上設置長齒組的部分可使的圓周位移齒輪進行轉動,且轉動九十度后停止,同時中心齒輪上對應長齒組的對立側為光滑面,在圓周位移齒輪轉動的過程中,中心齒輪不會與傳動組件中的脫水傳動齒輪發生嚙合,即壓濾脫水機構不會運作,當中心齒輪上長齒組轉動后不與圓周位移齒輪嚙合后,圓周位移齒輪上短齒組和長齒組開始與脫水傳動齒輪發生嚙合傳動,即污泥脫水框停止的過程中,中心齒輪會帶動脫水傳動齒輪發生轉動從而驅動壓濾脫水機構對污泥進行脫水作業;
使得該脫水罐中任何一組污泥脫水框都可依次進行濃縮污泥出料、機械壓濾脫水、脫水后泥餅出料以及清潔作業,四組污泥脫水框可同步進行濃縮污泥出料、機械壓濾脫水、脫水后泥餅出料以及清潔作業,且每組污泥脫水框在進行不同作業都出處于停頓狀態,保證可進行作業的合理性,同時所有作業都是非人工的自動化,節約人力的同時,還保證了濃縮污泥出料、機械壓濾脫水、脫水后泥餅出料以及清潔作業中每個作業步驟的同步性和相同性,保證污泥脫水效率和質量都得到大大的提升。
2、該高效防堵污泥濃縮脫水罐,污泥脫水框的底部為傾斜狀,且污泥脫水框底部內壁最低側與轉筒靠近;當濃縮污泥進料到污泥脫水框,污泥會聚集在污泥脫水框較高側,通過傾斜底部可使得污泥向較低側流動,避免污泥聚集,且可使污泥在污泥脫水框較于平整,便于后續通過脫水壓板對污泥脫水框中污泥進行壓濾脫水。
3、該高效防堵污泥濃縮脫水罐,通過轉動的四組污泥脫水框上設置的開關觸發組件,均與污泥出料端上封口組件進行配合;使得轉動得四組污泥脫水框可與污泥出料端自行配合,完成自動下料和停下下料作業,且四組污泥脫水框轉動軌跡相同,從而使得每組污泥脫水框在出料端與封口組件的之間的運作過程相同,從而保證濃縮污泥在四組污泥脫水框中的出料量相同,后續配合相同運作的壓濾脫節機構,使得每組污泥脫水框中泥餅脫水率相同。
4、該高效防堵污泥濃縮脫水罐,四組污泥脫水框進行轉動的過程中,污泥脫水框上開關觸發機構打開出料端的封口組件進行濃縮污泥出料時,其中弧型封口板會擠壓復位彈簧形變,從而使得壓力傳感器檢測到復位彈簧形變,從而對水泵進行傳動電性信號,驅動水泵將水箱中水通過通水管傳輸到清潔噴頭中,并通過清潔噴頭對泥餅出料后的污泥脫水框進行清洗,完成自清潔效果,達到污泥出料的同時,對下一組待盛置濃縮污泥的污泥脫水框進行清洗,保證污泥脫水框的底部濾孔不會出現堵塞,從而保證對污泥進行機械壓濾脫水的效果,提高該脫水罐的防堵性。
5、該高效防堵污泥濃縮脫水罐,通過將污水聚合槽位于兩組污泥脫水框的下方呈傾斜狀,且污水聚合槽靠近壓濾脫水機構的一端為傾斜最低端,污水聚合槽對應傾斜最低端固定連有排污管,污水聚合槽中間處固設有弧槽通孔用于貫穿轉筒與圓周位移齒輪之間連接的豎軸,污水聚合槽的內部為連通狀,兩組對立的污泥脫水框中進行污泥機械壓濾脫水和對污泥脫水框清潔的作業時,污泥脫水框底部濾出的污水通過匯集在傾斜在污水聚合槽中,通過污水聚合槽最低端連接的排污管進行排出污水,通過污水聚合槽的特殊設計,便于清潔污水的污泥壓濾脫水的污水同步排出。
6、該高效防堵污泥濃縮脫水罐,在脫水過程中沒有污泥與脫水罐上開設的孔洞進行接觸,且可進行自動化清潔污泥脫水框,大大提高該脫水罐中的防堵性。
7、該高效防堵污泥濃縮脫水罐,通過污泥脫水框的寬度大于出料端的寬度,保證濃縮污泥出料時,污泥不會灑出污泥脫水框,同時濃縮污泥出料端底部的弧形滑槽會在出料時聚集有濃縮污泥,而在出料結束時快速回彈的弧型封口板可將弧形滑槽聚集的污泥進行推出,且推出污泥可自動下落到污泥脫水框中,避免污泥滴落散布在該脫水罐內壁上。
8、該高效防堵污泥濃縮脫水罐,通過壓濾脫水機構中脫水動力往復組件與中心齒輪之間特殊設計的豎移架和脫水傳動齒輪,可使得壓濾脫水作業只在污泥脫水框停頓時運作,且污泥脫水框轉動驅動源和壓濾脫水驅動源都是同一個驅動源,節省驅動源的投入,同時通過純機械傳動進行脫水,相對于現有通過精密智能儀器計算時間和壓濾過程,節省大型機器和智能機器的投入成本,且四組污泥脫水框進行不同作業時的同步性非常高。
(發明人:程學飛)






