公布日:2024.05.03
申請日:2024.03.13
分類號:C02F1/00(2023.01)I;B01D29/03(2006.01)I;B01D29/64(2006.01)I;B01F27/706(2022.01)I
摘要
本發明公開了一種工業污水過濾處理排放裝置,涉及工業污水過濾處理技術領域,包括注藥機構,所述注藥機構的頂端設置有清理機構,所述注藥機構的底端設置有收集機構所述注藥機構包括有對污水加入凈化過濾處理藥物的扇葉,所述扇葉設置于水池的頂端,注藥機構用于對堵塞附著在排水口處的污泥雜質進行刮除清理操作,該裝置可以將堵塞附著在排水口處的污泥全部清理掉,恢復排水系統的正常運行,保持排水管道的暢通,有助于避免排水堵塞,提高排水效率,減少積水和水體倒灌等問題,可以減少有機物分解產生的惡臭氣體,改善周圍環境的空氣質量,提高工作環境和居住環境的舒適度,清理污泥可以避免有毒有害物質的滲漏或擴散到土壤和水源中。

權利要求書
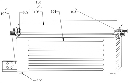
1.一種工業污水過濾處理排放裝置,包括注藥機構(100),所述注藥機構(100)包括有水池(101),其特征在于,所述水池(101)的底端設置有清理機構(200),所述水池(101)的底端設置有收集機構(300);所述注藥機構(100)包括有對污水加入凈化過濾處理藥物的扇葉(103),所述扇葉(103)設置于水池(101)的頂端,注藥機構(100)用于對堵塞附著在排水口處的污泥雜質進行刮除清理操作;所述清理機構(200)包括有對污泥物質進行攪動擠壓操作的翻板(211),所述翻板(211)設置于水池(101)的外側,清理機構(200)用于將排水口處的污泥進行攪動擠壓和翻動操作;所述收集機構(300)包括有將污水雜質推入兩側槽中的推板(305),所述推板(305)設置于水池(101)的底端,收集機構(300)用于對污水水面進行藥物注入操作,同時輔助清理裝置正常工作。
2.根據權利要求1所述的一種工業污水過濾處理排放裝置,其特征在于,所述注藥機構(100)還包括有轉軸(102),所述轉軸(102)設置有兩個,所述轉軸(102)位于水池(101)的頂端并且和水池(101)轉動連接,所述轉軸(102)的表面和扇葉(103)固定連接,所述扇葉(103)設置有四個,所述扇葉(103)遠離轉軸(102)的一端開設有注入口(104),所述轉軸(102)和注入口(104)連通。
3.根據權利要求2所述的一種工業污水過濾處理排放裝置,其特征在于,所述轉軸(102)的兩端均固定連接有抽風機(105),所述抽風機(105)設置有四個,所述水池(101)的底端開設有一個排水口,排水口的表面固定連接有排水網(106),所述排水網(106)的外側設置有排水管(107),所述排水管(107)和水池(101)固定連接。
4.根據權利要求1所述的一種工業污水過濾處理排放裝置,其特征在于,所述清理機構(200)還包括有抵觸桿(201),所述抵觸桿(201)和水池(101)的側壁轉動連接,所述抵觸桿(201)遠離轉軸(102)的一端固定連接有彈簧一(202),所述彈簧一(202)遠離抵觸桿(201)的一端和水池(101)固定連接,所述抵觸桿(201)靠近彈簧一(202)的一端固定連接有連桿(203),所述連桿(203)的底端設置有輪盤一(204),所述輪盤一(204)的水池(101)的轉動連接。
5.根據權利要求4所述的一種工業污水過濾處理排放裝置,其特征在于,所述輪盤一(204)的外圈固定連接有凸臺,凸臺設置有四個,所述連桿(203)的底端還設置有彈簧二(205),所述彈簧二(205)的底端和水池(101)固定連接,所述彈簧二(205)的頂端固定連接一個抵觸塊,所述輪盤一(204)的內表面固定連接有毛刷一(206)。
6.根據權利要求5所述的一種工業污水過濾處理排放裝置,其特征在于,所述毛刷一(206)的中部固定連接一個圓柱,圓柱穿過排水網(106)和固定連接有毛刷二(208),所述毛刷二(208)遠離中心的一端固定連接有輪盤二(207),所述輪盤二(207)的形狀大小和排水網(106)相適配。
7.根據權利要求6所述的一種工業污水過濾處理排放裝置,其特征在于,所述輪盤二(207)背離水池(101)的一面固定連接有刮板(209),所述輪盤二(207)背離水池(101)的一面還轉動連接有圓輪(210),所述圓輪(210)設置有兩個,所述圓輪(210)和翻板(211)轉動連接。
8.根據權利要求6所述的一種工業污水過濾處理排放裝置,其特征在于,所述毛刷二(208)背離水池(101)的一面固定連接有齒輪一(212),所述齒輪一(212)嚙合連接有齒輪二(213),所述齒輪二(213)的表面固定連接有三角板(214),所述齒輪二(213)的底端設置有收集槽(215),所述收集槽(215)的上方開設有開口,所述收集槽(215)和排水管(107)固定連接。
9.根據權利要求4所述的一種工業污水過濾處理排放裝置,其特征在于,所述收集機構(300)還包括有齒圈(301),所述齒圈(301)和輪盤一(204)固定連接,所述齒圈(301)的底端嚙合連接有齒輪三(302),所述齒輪三(302)和水池(101)轉動連接,所述齒輪三(302)背離水池(101)的一面固定連接有蝸桿(303),所述蝸桿(303)的表面螺紋連接有套筒(304),所述套筒(304)面向轉軸(102)的一面和推板(305)轉動連接,所述推板(305)遠離套筒(304)的一端轉動連接有凹盤(306)。
10.根據權利要求1所述的一種工業污水過濾處理排放裝置,其特征在于,所述水池(101)的底端開設有滑道(307),所述滑道(307)的最左端和最右端均呈斜向下設置,所述滑道(307)內部和凹盤(306)轉動連接,所述滑道(307)的左端和右端拐點處皆固定連接有圓柱臺(308),所述水池(101)的底端固定連接有雜質槽(309),所述雜質槽(309)位于滑道(307)的左右兩側底端。
發明內容
(一)解決的技術問題
針對現有技術所存在的上述缺點,本發明提供了一種工業污水過濾處理排放裝置,能夠有效地解決現有技術中工業污水過濾處理的問題。
(二)技術方案
為實現以上目的,本發明通過以下技術方案予以實現,
本發明公開了一種工業污水過濾處理排放裝置,包括注藥機構,所述注藥機構包括有水池,所述水池的底端設置有清理機構,所述水池的底端設置有收集機構;
所述注藥機構包括有對污水加入凈化過濾處理藥物的扇葉,所述扇葉設置于水池的頂端,注藥機構用于對堵塞附著在排水口處的污泥雜質進行刮除清理操作;
所述清理機構包括有對污泥物質進行攪動擠壓操作的翻板,所述翻板設置于水池的外側,清理機構用于將排水口處的污泥進行攪動擠壓和翻動操作;
所述收集機構包括有將污水雜質推入兩側槽中的推板,所述推板設置于水池的底端,收集機構用于對污水水面進行藥物注入操作,同時輔助清理機構正常工作。
更進一步地,所述注藥機構還包括有轉軸,所述轉軸設置有兩個,所述轉軸位于水池的頂端并且和水池轉動連接,所述轉軸的表面和扇葉固定連接,所述扇葉設置有四個,所述扇葉遠離轉軸的一端開設有注入口,所述轉軸和注入口連通。
更進一步地,所述轉軸的兩端固定連接有抽風機,所述抽風機設置有四個,所述水池的底端開設有一個排水口,排水口的表面固定連接有排水網,所述排水網的外側設置有排水管,所述排水管和水池固定連接。
更進一步地,所述清理機構還包括有抵觸桿,所述抵觸桿和水池的側壁轉動連接,所述抵觸桿遠離轉軸的一端固定連接有彈簧一,所述彈簧一遠離抵觸桿的一端和水池固定連接,所述抵觸桿的靠近彈簧一的一端固定連接有連桿,所述連桿的底端設置有輪盤一,所述輪盤一的水池的轉動連接。
更進一步地,所述輪盤一的外圈固定連接有凸臺,凸臺設置有四個,所述連桿的底端還設置有彈簧二,所述彈簧二的底端和水池固定連接,所述彈簧二的頂端固定連接一個抵觸塊,所述輪盤一的內表面固定連接有毛刷一。
更進一步地,所述毛刷一的中部固定連接一個圓柱,圓柱穿過排水網固定連接有毛刷二,所述毛刷二遠離中心的一端固定連接有輪盤二,所述輪盤二的形狀大小和排水網相適配。
更進一步地,所述輪盤二背離水池的一面固定連接有刮板,所述輪盤二背離水池的一面還轉動連接有圓輪,所述圓輪設置有兩個,所述圓輪和翻板轉動連接。
更進一步地,所述毛刷二背離水池的一面固定連接有齒輪一,所述齒輪一嚙合連接有齒輪二,所述齒輪二的表面固定連接有三角板,所述齒輪二的底端設置有收集槽,所述收集槽的上方開設有開口,所述收集槽和排水管固定連接。
更進一步地,所述收集機構還包括有齒圈,所述齒圈和輪盤一固定連接,所述齒圈的底端嚙合連接有齒輪三,所述齒輪三和水池轉動連接,所述齒輪三背離水池的一面固定連接有蝸桿,所述蝸桿的表面螺紋連接有套筒,所述套筒面向轉軸的一面和推板轉動連接,所述推板遠離套筒的一端轉動連接有凹盤。
更進一步地,所述水池的底端開設有滑道,所述滑道的最左端和最右端均呈斜向下設置,所述滑道內部和凹盤轉動連接,所述滑道的左端和右端拐點處皆固定連接有圓柱臺,所述水池的底端固定連接有雜質槽,所述雜質槽位于滑道的左右兩側底端。
(三)有益效果
采用本發明提供的技術方案,與已知的現有技術相比,具有如下有益效果,
1、通過設置有輪盤一、毛刷一和毛刷二,輪盤一被不斷撞擊下反生周期性轉動,帶動毛刷一和毛刷二對排水網表面的污泥進行刮刷去除;該裝置可以將堵塞附著在排水口處的污泥全部清理掉,恢復排水系統的正常運行,保持排水管道的暢通,有助于避免排水堵塞,提高排水效率,減少積水和水體倒灌等問題,可以減少有機物分解產生的惡臭氣體,改善周圍環境的空氣質量,提高工作環境和居住環境的舒適度,清理污泥可以避免有毒有害物質的滲漏或擴散到土壤和水源中,從而減少環境污染的風險,保護生態系統的健康。
2、通過設置有翻板、齒輪一和三角板,齒輪一的轉動嚙合齒輪二轉動,齒輪二帶動三角板對旋轉中的翻板進行抵觸碰撞,翻板發生轉動,并對收集槽中的淤泥進行角度擠壓;該裝置可以將收集箱中的污泥和水進行二次分離,并且將廢料箱收集的更充分,可以最大限度地利用收集的資源,收集箱的更換頻率降低,減少了對新廢料箱的使用,減少更換廢料箱的次數和工作量,從而降低了處理廢物的成本,將污泥與水分離,有利于污泥的進一步利用,如作為肥料、建筑材料等,同時,降低污泥中的水分有助于減少污泥體積,降低運輸和儲存成本。
3、通過設置有轉軸、扇葉和注入口,扇葉中儲備有凈化污水的藥物,轉軸和扇葉在抽風機的帶動下轉動,對污水進行攪動,同時藥物經由扇葉從注入口上灑入水中,完成污水處理,該裝置增加在水面上注入污水處理所需的液體,可以有效地將清理劑均勻分布在污水表面,加速污染物和沉積物的分解和降解,水面上的藥物播撒可以形成一層薄膜,阻止污染物在水體中的進一步擴散,同時還可以借助播灑的裝置輔助水底的污泥清理裝置的正常工作,減少不必要的冗余機構。
(發明人:熊金平)






