公布日:2024.04.30
申請日:2024.01.02
分類號:B01D29/50(2006.01)I;B01D29/74(2006.01)I;B01D29/66(2006.01)I
摘要
本發明公開了污水處理技術領域的一種裝配式污水處理固液分離裝置,包括外接的水泵、過濾桶、外接的排水機構,所述排水機構用于排出過濾后的污水;本發明通過渦狀流道對廢水進行過濾,使廢水在經過流道的過程中,實現固液分離,進而使固體最終沉積在容料桶中,水體通過排水機構排出設備,此過程中,沾附在渦形濾網上的固體會被后續的污水沖走,進而保持渦形濾網的通透性,使設備具有一定程度的自清潔能力,進而降低設備的維護成本,提高設備的使用效率。

權利要求書
1.一種裝配式污水處理固液分離裝置,其特征在于:包括外接的水泵,所述水泵用于加壓輸送污水;過濾桶(18),所述過濾桶(18)內分別固定連接有上下設置的渦形扇(12)和渦形濾網,所述渦形濾網上端面到渦形扇(12)構成第一流道(13),所述渦形濾網下端面到渦形扇(12)構成第二流道(14),所述第二流道(14)兩端分別固定連接有第一密封塊(15)和第二密封塊(16)進行封閉,所述過濾桶(18)軸心固定設置有支撐柱(17),所述支撐柱(17)分別與渦形扇(12)和渦形濾網固定連接,所述水泵與第一流道(13)連通;容料桶,所述容料桶與過濾桶(18)下端固定連通,所述容料桶用于容納污水中固體垃圾;外接的排水機構,所述排水機構與第二流道(14)連通,所述排水機構用于排出過濾后的污水。
2.根據權利要求1所述的裝配式污水處理固液分離裝置,其特征在于:所述過濾桶(18)中設置有過濾籠,所述過濾籠與支撐柱(17)下端連接,所述過濾籠用于過濾過濾桶(18)中的廢水,所述過濾籠內部與排水機構連通。
3.根據權利要求2所述的裝配式污水處理固液分離裝置,其特征在于:所述排水機構分別與第二密封塊(16)和過濾籠連通。
4.根據權利要求3所述的裝配式污水處理固液分離裝置,其特征在于:所述渦形濾網包括渦形板(21),所述渦形板(21)軌跡與渦形扇(12)平行,所述渦形板(21)與過濾桶(18)內壁固定連接,所述渦形板(21)側壁固定接有第一過濾網(22),所述第一過濾網(22)與支撐柱(17)外壁固定連接。
5.根據權利要求4所述的裝配式污水處理固液分離裝置,其特征在于:所述過濾桶包括主體(31),所述主體(31)與過濾桶(18)下端固定連接,所述主體(31)位于第一流道(13)下方固定連通有容料腔(32),所述主體(31)下端固定連接有支撐腿(33)。
6.根據權利要求5所述的裝配式污水處理固液分離裝置,其特征在于:所述過濾籠包括第一轉盤(41),所述第一轉盤(41)與支撐柱(17)下端轉動連接,所述第一轉盤(41)下端固定連接有環狀過濾網(42),所述環狀過濾網(42)下端固定連接有連接板(43),所述連接板(43)開設有漏液槽(44),所述主體(3)底部固定連接有安裝盤(45),所述連接板(43)與安裝盤(45)轉動連接,所述主體(3)下端固定連接有電機(46),所述電機(46)的輸出軸貫穿主體(3)底部和安裝盤(45)并與連接板(43)固定連接,所述安裝盤(45)下端固定連接有第一連接管(47),所述第一連接管(47)貫穿主體(3)并通過漏液槽(44)與過濾籠內部連通,所述第一連接管(47)與排水機構連通。
7.根據權利要求6所述的裝配式污水處理固液分離裝置,其特征在于:所述第二密封塊(16)側壁固定連接有排液箱(51),所述排液箱(51)與第二流道(14)間貫穿開設有用于連通排液箱(51)與第二流道(14)的第一連通口(57)連通排液箱(51)與第二流道(14),所述排液箱(51)分別連通有第二連接口(52)和第二連接管(53),所述排液箱(51)內滑動連接有密封板(54),所述密封板(54)與排液箱(51)內側壁之間固定連接有彈性伸縮桿(55),所述第二連接口(52)與排水機構連通,所述第二連接管(53)管口與密封板(54)滑動軌跡重合且密封板(54)能夠封堵第二連接管(53)管口,所述第一轉盤(41)軸心處豎直連接有第三連接管(56),所述第三連接管(56)與過濾籠內腔連通,所述第二連接管(53)與第三連接管(56)連通。
8.根據權利要求7所述的裝配式污水處理固液分離裝置,其特征在于:所述彈性伸縮桿(55)內設置有傳感器,所述傳感器用于控制電機(46)轉速,使彈性伸縮桿(55)壓縮量越大,電機(46)轉速越大。
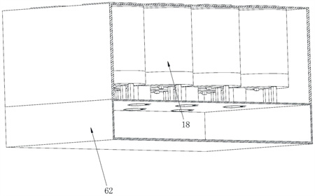
9.根據權利要求8所述的裝配式污水處理固液分離裝置,其特征在于:包括集裝箱(61),多個所述污水處理設備呈陣列安裝在集裝箱(61)內,所述集裝箱(61)下端固定連接有排污箱(62),多個所述污水處理設備中的容料腔(32)均與排污箱(62)連通,所述集裝箱(61)上端對應污水處理設備處均安裝有閥門(63)。
發明內容
本發明的目的在于提供一種裝配式污水處理固液分離裝置,以解決上述背景技術中提出的由于在對生活污水,特別是廚余污水進行處理的過程中,需要先將污水中的固體雜質進行清除(一般污水處理站多采用沉積法去除),而由于裝配式污水處理設備體積有限,只能采用過濾或離心的方式進行處理,兩種方式均需要頻繁的更換或維護過濾網,導致設備維護復雜,且影響使用效率的問題。
為實現上述目的,本發明提供如下技術方案:一種裝配式污水處理固液分離裝置,包括外接的水泵,所述水泵用于加壓輸送污水;
過濾桶,所述過濾桶內分別固定連接有上下設置的渦形扇和渦形濾網,所述渦形濾網上端面到渦形扇構成第一流道,所述渦形濾網下端面到渦形扇構成第二流道,所述第二流道兩端分別固定連接有第一密封塊和第二密封塊進行封閉,所述過濾桶軸心固定設置有支撐柱,所述支撐柱分別與渦形扇和渦形濾網固定連接,所述水泵與第一流道連通;
容料桶,所述容料桶與過濾桶下端固定連通,所述容料桶用于容納污水中固體垃圾;
外接的排水機構,所述排水機構與第二流道連通,所述排水機構用于排出過濾后的污水。
作為本發明的進一步方案,所述過濾桶中設置有過濾籠,所述過濾籠與支撐柱下端連接,所述過濾籠用于過濾過濾桶中的廢水,所述過濾籠內部與排水機構連通。
作為本發明的進一步方案,所述排水機構分別與第二密封塊和過濾籠連通。
作為本發明的進一步方案,所述渦形濾網包括渦形板,所述渦形板軌跡與渦形扇平行,所述渦形板與過濾桶內壁固定連接,所述渦形板側壁固定接有第一過濾網,所述第一過濾網與支撐柱外壁固定連接。
作為本發明的進一步方案,所述過濾桶包括主體,所述主體與過濾桶下端固定連接,所述主體位于第一流道下方固定連通有容料腔,所述主體下端固定連接有支撐腿。
作為本發明的進一步方案,所述過濾籠包括第一轉盤,所述第一轉盤與支撐柱下端轉動連接,所述第一轉盤下端固定連接有環狀過濾網,所述環狀過濾網下端固定連接有連接板,所述連接板開設有漏液槽,所述主體底部固定連接有安裝盤,所述連接板與安裝盤轉動連接,所述主體下端固定連接有電機,所述電機的輸出軸貫穿主體底部和安裝盤并與連接板固定連接,所述安裝盤下端固定連接有第一連接管,所述第一連接管貫穿主體并通過漏液槽與過濾籠內部連通,所述第一連接管與排水機構連通。
作為本發明的進一步方案,所述第二密封塊側壁固定連接有排液箱,所述排液箱與第二流道間貫穿開設有用于連通排液箱與第二流道的第一連通口連通排液箱與第二流道,所述排液箱分別連通有第二連接口和第二連接管,所述排液箱內滑動連接有密封板,所述密封板與排液箱內側壁之間固定連接有彈性伸縮桿,所述第二連接口與排水機構連通,所述第二連接管管口與密封板滑動軌跡重合且密封板能夠封堵第二連接管管口,所述第一轉盤軸心處豎直連接有第三連接管,所述第三連接管與過濾籠內腔連通,所述第二連接管與第三連接管連通。
作為本發明的進一步方案,所述彈性伸縮桿內設置有傳感器,所述傳感器用于控制電機轉速,使彈性伸縮桿壓縮量越大,電機轉速越大。
作為本發明的進一步方案,包括集裝箱,多個所述污水處理設備呈陣列安裝在集裝箱內,所述集裝箱下端固定連接有排污箱,多個所述污水處理設備中的容料腔均與排污箱連通,所述集裝箱上端對應污水處理設備處均安裝有閥門。
與現有技術相比,本發明的有益效果是:
1.本發明通過渦狀流道對廢水進行過濾,使廢水在經過流道的過程中,實現固液分離,進而使固體最終沉積在容料桶中,水體通過排水機構排出設備,此過程中,沾附在渦形濾網上的固體會被后續的污水沖走,進而保持渦形濾網的通透性,使設備具有一定程度的自清潔能力,進而降低設備的維護成本,提高設備的使用效率。
2.污水中的水體分別由第二密封塊處和過濾籠處排出設備,使設備構成由渦形扇上端進水,由渦形扇下端排水的水流循環,進一步的保持污水由渦形扇上端到渦形扇下端過程中的流速,進而保持水流對渦形濾網的沖刷強度,維持渦形濾網的潔凈程度。
3.環狀過濾網表面開始堵塞,使排液箱內的水流部分由第二連接管經過第三連接管進入過濾籠內腔,使過濾籠內腔水壓增大,進而減小環狀過濾網表面附著物的附著力,方便環狀過濾網轉動過程中附著物的清除。
(發明人:高艷莉;單保貞;李麗;任艷娜;李靖存;張云霞)






