公布日:2023.11.10
申請日:2023.09.19
分類號:C02F1/72(2023.01)I;C02F1/00(2023.01)I;C02F103/34(2006.01)N;C02F103/30(2006.01)N;C02F103/28(2006.01)N;C02F103/24(2006.01)N;C02F101/30(2006.01)N
摘要
本發明屬于廢水處理技術領域,具體涉及一種用于難降解廢水深度處理的裝置及方法。該裝置包括非均相催化氧化塔,所述非均相催化氧化塔的底部為W型筒體;所述非均相催化氧化塔內裝有催化劑;至少2個布水器,所述布水器包括配水管和與所述配水管連通的若干布水支管;所述布水支管的出水口設置在所述W型筒體內部。將該裝置用于降解廢水時,對進水pH適用范圍寬,可放寬至pH為5.0-5.5,大幅度減少芬頓試劑的投加量,減少催化氧化反應后調中性所需堿液的投加量,大幅降低藥劑成本。

權利要求書
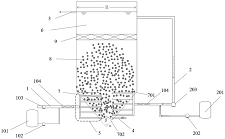
1.一種用于難降解廢水深度處理的裝置,其特征在于,包括:非均相催化氧化塔,所述非均相催化氧化塔的底部為W型筒體;所述非均相催化氧化塔內裝有催化劑;至少2個布水器,所述布水器包括配水管和與所述配水管連通的若干布水支管;所述布水支管的出水口設置在所述W型筒體內部。
2.根據權利要求1所述的裝置,其特征在于,同一所述布水器中的若干布水支管處于同一平面。
3.根據權利要求2所述的裝置,其特征在于,同一所述布水器中的若干布水支管的出水口方向相同;優選地,沿所述配水管方向,同一所述布水器中的若干布水支管等間距設置。
4.根據權利要求1-3任一項所述的裝置,其特征在于,所述裝置包括第一布水器和第二布水器,設置在W型筒體底部兩側。
5.根據權利要求4所述的裝置,其特征在于,所述第一布水器和所述第二布水器中心對稱。
6.根據權利要求1-5任一項所述的裝置,其特征在于,所述布水支管和所述W型筒體連接點所在的切線與所述布水支管的夾角為45-135°。
7.根據權利要求6所述的裝置,其特征在于,所述布水支管與所述非均相催化氧化塔中心軸的垂直距離d為1/3R~2/3R;其中,R是指所述非均相催化氧化塔在水平面投影的半徑。
8.根據權利要求4-7任一項所述的裝置,其特征在于,所述第一布水器和所述第二布水器錯位設置。
9.根據權利要求4或5所述的裝置,其特征在于,所述第一布水器和第二布水器沿徑向設置。
10.根據權利要求9所述的裝置,其特征在于,所述布水支管的出口設有彎頭,所述彎頭的角度θ為120-150°。
11.根據權利要求9或10所述的裝置,其特征在于,沿圓周方向,第一布水器的布水支管出水口方向和第二布水器的布水支管出水口方向為順時針方向或逆時針方向。
12.根據權利要求1-11任一項所述的裝置,其特征在于,所述W型筒體底部的第一角度為15-75°;優選地,所述W型筒體底部的第二角度為45-150°;優選地,所述非均相催化氧化塔頂部設有攔截網和/或出水口。
13.根據權利要求1-12任一項所述的裝置,其特征在于,還包括排晶管,設置在所述W型筒體底部且與所述非均相催化氧化塔連通。
14.根據權利要求1-13任一項所述的裝置,其特征在于,還包括:回流管,與所述布水器連通;和/或,第一混合器,分別與第一布水器和第一原料儲罐連通;和/或,第二混合器,分別與第二布水器、第二原料儲罐和回流管連通。
15.一種廢水的降解方法,其特征在于,采用權利要求1-14任一項所述的裝置,包括以下步驟:(1)對廢水進行酸化;(2)酸化后的廢水與第一藥劑混合進入非均相催化氧化塔;第二藥劑與回流液混合,進入非均相催化氧化塔,在催化劑作用下,對廢水進行處理。
16.根據權利要求15所述的降解方法,其特征在于,所述第一藥劑為硫酸亞鐵;所述第二藥劑為過氧化氫;優選地,以1L酸化后的廢水為基準,所述硫酸亞鐵的投加量為150-250mg,過氧化氫的投加量為100-200mg;優選地,所述酸化后的廢水在非均相催化氧化塔中的停留時間為15-30min。
17.根據權利要求15或16所述的降解方法,其特征在于,所述廢水為焦化廢水、石油化工廢水、印染廢水、造紙廢水、制藥廢水和皮革廢水中的一種或多種;優選地,所述廢水COD為50~1200mg/L;優選地,所述步驟(1),酸化后的廢水的pH為5.0-5.5;優選地,所述催化劑為直徑為2-5mm的球狀催化劑;優選地,所述催化劑體積密度為1.25~2.25g/cm3;優選地,所述催化劑的投加量為非均相催化氧化塔容積的1/8~1/5。
發明內容
因此,本發明要解決的技術問題在于克服現有技術在處理難降解工業廢水時,反應系統流化效果不好,催化劑易沉積,利用率較低,傳質效率差,以及在處理廢水時,反應效率低等缺陷,從而提供了一種用于降解廢水的裝置及方法。
為此,本發明提供了以下技術方案。
本發明第一方面提供了一種用于難降解廢水深度處理的裝置,包括:
非均相催化氧化塔,所述非均相催化氧化塔的底部為W型筒體;所述非均相催化氧化塔內裝有催化劑;
至少2個布水器,所述布水器包括配水管和與所述配水管連通的若干布水支管;所述布水支管的出水口設置在所述W型筒體內部。
優選地,同一所述布水器中的若干布水支管處于同一平面。
優選地,同一所述布水器中的若干布水支管的出水口方向相同;
優選地,沿所述配水管方向,同一所述布水器中的若干布水支管等間距設置。
所述裝置包括第一布水器和第二布水器,設置在W型筒體底部兩側。
所述第一布水器和所述第二布水器中心對稱。
所述布水支管和所述W型筒體連接點所在的切線與所述布水支管的夾角為45-135°。
優選地,所述布水支管與所述非均相催化氧化塔中心軸的垂直距離d為1/3R~2/3R;
其中,R是指所述非均相催化氧化塔在水平面投影的半徑。
優選地,所述第一布水器和所述第二布水器錯位設置。
優選地,所述第一布水器和第二布水器沿徑向設置。
優選地,所述布水支管的出口設有彎頭,所述彎頭的角度θ為120-150°。
優選地,沿圓周方向,第一布水器的布水支管出水口方向和第二布水器的布水支管出水口方向為順時針方向或逆時針方向。
所述W型筒體底部的第一角度為15-75°;
優選地,所述W型筒體底部的第二角度為45-150°;
優選地,所述非均相催化氧化塔頂部設有攔截網和/或出水口。
所述裝置還包括排晶管,設置在所述W型筒體底部且與所述非均相催化氧化塔連通。
所述裝置還包括:
回流管,與所述布水器連通;和/或,
第一混合器,分別與第一布水器和第一原料儲罐連通;和/或,
第二混合器,分別與第二布水器、第二原料儲罐和回流管連通。
本發明第二方面提供了一種廢水的降解方法,采用上述裝置,包括以下步驟:
(1)對廢水進行酸化;
(2)酸化后的廢水與第一藥劑混合進入非均相催化氧化塔;第二藥劑與回流液混合,進入非均相催化氧化塔,在催化劑作用下,對廢水進行處理。
所述第一藥劑為硫酸亞鐵;所述第二藥劑為過氧化氫;
優選地,以1L酸化后的廢水為基準,所述硫酸亞鐵的投加量為150-250mg,過氧化氫的投加量為100-200mg;
優選地,所述酸化后的廢水在非均相催化氧化塔中的停留時間為15-30min。
所述廢水為焦化廢水、石油化工廢水、印染廢水、造紙廢水、制藥廢水和皮革廢水中的一種或多種;
優選地,所述廢水COD為50~1200mg/L;
優選地,所述步驟(1),酸化后的廢水的pH為5.0-5.5;
優選地,所述催化劑為直徑為2-5mm的球狀催化劑;
優選地,所述催化劑體積密度為1.25~2.25g/cm3;
優選地,所述催化劑的投加量為非均相催化氧化塔容積的1/8~1/5。
本發明技術方案,具有如下優點:
1.本發明提供的用于難降解廢水深度處理的裝置,該裝置包括非均相催化氧化塔,所述非均相催化氧化塔的底部為W型筒體;所述非均相催化氧化塔內裝有催化劑;至少2個布水器,所述布水器包括配水管和與所述配水管連通的若干布水支管;所述布水支管的出水口設置在所述W型筒體內部。將該裝置用于降解廢水時,對進水pH適用范圍寬,可放寬至pH為5.0-5.5,大幅度減少芬頓試劑的投加量,減少催化氧化反應后調中性所需堿液的投加量,大幅降低藥劑成本。本發明非均相催化氧化塔底部為W型筒體,布水器中的布水支管的出水口設置在W型筒體內部的不同高度,W型筒體下部分的圓形截面小,異相催化劑少,隨著W型筒體自下到上高度的增加,催化劑量也相應增加,不同高度的催化劑水平旋流速度具有差異,催化劑間相對位移能有效避免溝流和短流的產生;W型筒體內凹的設置方式可以有效防止催化劑沉積在塔底部,提高催化劑的利用效率。
本發明在布水器中設有若干布水支管,布水支管的出水口設置在W型筒體內部,出水口出水的方向和速度,使得水流具有一定的角動量。水流與催化劑混合后,在W型筒體的作用下,角動量發生改變,產生旋轉的力量,進而形成渦旋或漩渦的形狀,進而在進水和回流的作用下,水流和催化劑旋轉上升,在整個氧化塔內充分混合。本發明克服了傳統布水器難以在大直徑反應塔內實現均勻布水的缺陷,為廢水、化學藥劑、催化劑之間的充分混合創造了良好的環境。通過布水器與W型筒體的巧妙結合,實現底部水流和催化劑的充分接觸混合、旋轉上升,減少了傳統氧化塔內固相催化劑沉積塔底的現象,可以使非均相催化氧化塔的流化效果變好,傳質效率提高。本發明提供的裝置具有均勻布水、充分流化、高效傳質等優勢。
2.本發明提供的用于難降解廢水深度處理的裝置,將布水器設置在W型筒體底部,通過第一布水器和第二布水器的設置方式,例如布水支管和所述W型筒體連接點所在的切線與所述布水支管的夾角、布水支管與所述W型筒體中心軸的垂直距離、布水支管的出口設有彎頭并限定彎頭的角度,可以對大直徑反應塔充分旋流攪拌,并通過產生的大漩渦在剪切力的作用下,促進大漩渦裂解為小漩渦,豐富廢水、H2O2溶液和固相催化劑的接觸頻次和相間運動,提高相間傳質效率,H2O2被固相催化劑催化分解成大量羥基自由基(·OH),羥基自由基有極強的氧化性,進而減少硫酸亞鐵藥劑投加量。在W型筒體底部設有排晶管,可靈活的對結垢失活催化劑進行排放和補充,保證反應塔內催化劑保持較高催化活性,進而提高反應塔的運行靈活性。
本發明提供的裝置操作靈活,可以作為難降解廢水生化處理前的預處理工藝,提高廢水可生化性;也可作為難降解廢水生化處理后的深度處理工藝,實現出水穩定達標的效果。
3.本發明提供的難降解廢水深度處理的裝置,采用本發明提供的裝置用于降解廢水時,可以實現芬頓試劑和液體在管道內快速高效、低能耗的充分混合,進而提升過氧化氫和硫酸亞鐵的利用率,減少冗余藥劑投加量,降低運行成本。本發明可以解決傳統芬頓處理工業廢水pH適用范圍窄、運行能耗高、流化效果差、效率低、反應時間長的技術難題,本方案具有處理效果好、效率高、占地面積小等優點,在工業廢水處理,尤其是有毒難降解廢水處理領域具有重要的實際應用價值。
(發明人:柳蒙蒙;陳亞松;王佳琪;王子麟;陳彥霖;萬新宇;李翀)






