公布日:2024.04.30
申請日:2024.01.22
分類號:B09B3/00(2022.01)I;B09B3/35(2022.01)I;B09B3/32(2022.01)I;B09B101/02(2022.01)N
摘要
本發明公開了一種雙重粉碎密閉污水提升裝置,屬于污水處理技術領域,包括:套殼,所述套殼的頂部設置有進水環,所述套殼的底部設置有出水口,所述套殼內部設置有粉碎結構,所述粉碎結構包括:粉碎腔,所述粉碎腔的一端連通進水環,所述粉碎腔的另一端連通出水口,所述進水環內設置有驅動裝置;工作人員將污水輸送至進水環中,當污水進入套殼后,污水向粉碎腔流動,當污水進入粉碎腔后,控制器控制粉碎結構對污水中的大顆粒物進行粉碎處理,將大顆粒物破碎成小顆粒,進而使得后續在管道輸送過程中,不會將管道堵塞,從而保障了管道的流通通暢,從而提高了污水的輸送效率,經過粉碎結構對大顆粒物進行了一段時間地破碎后,污水從出水口排出。

權利要求書
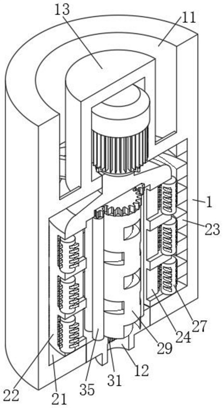
1.一種雙重粉碎密閉污水提升裝置,包括:箱體(100)、排污泵(110)、止回閥(120)和暗桿閘閥(130),其特征在于:還包括:粉碎裝置(140),所述粉碎裝置(140)內設置有套殼(1),所述套殼(1)的頂部設置有進水環(11),所述套殼(1)的底部設置有出水口(12),所述套殼(1)內部設置有粉碎結構(2),所述粉碎結構(2)包括:粉碎腔(21),所述粉碎腔(21)的一端連通進水環(11),所述粉碎腔(21)的另一端連通出水口(12),所述進水環(11)內設置有驅動裝置,所述驅動裝置驅動粉碎結構(2)對水中顆粒物進行粉碎;所述驅動裝置包括:驅動腔(13),所述驅動腔(13)通過支架與進水環(11)的側壁連接,所述驅動腔(13)內設置有電機,所述電機中的驅動軸靠近粉碎腔(21)的一端設置有轉動柱(22),所述轉動柱(22)靠近進水環(11)的一側設置有斜面,所述轉動柱(22)的中心高度大于轉動柱(22)的邊緣高度;所述轉動柱(22)的側壁上設置有若干個輸入槽(24),若干個所述輸入槽(24)繞著轉動柱(22)的軸線環繞布置,所述輸入槽(24)由破碎槽(25)和直槽(26)組成,所述破碎槽(25)設置在轉動柱(22)靠近粉碎腔(21)的一側,所述直槽(26)設置在破碎槽(25)遠離粉碎腔(21)的一側;所述轉動柱(22)的內部設置有處理腔(28),所述處理腔(28)內設置有固定柱(29),所述固定柱(29)與粉碎腔(21)的底部連接,所述固定柱(29)的內部設置有輸送管(30),所述輸送管(30)連通出水口(12),所述輸送管(30)靠近出水口(12)的一側設置有過濾板(31)。
2.根據權利要求1所述的一種雙重粉碎密閉污水提升裝置,其特征在于:所述粉碎腔(21)的內壁上設置有若干個弧形條(23),若干個所述弧形條(23)繞著粉碎腔(21)的軸線環繞布置,若干個所述弧形條(23)相互錯位布置,所述弧形條(23)由撞擊面和引導面組成。
3.根據權利要求1所述的一種雙重粉碎密閉污水提升裝置,其特征在于:所述破碎槽(25)內設置有破碎輥(27),所述破碎輥(27)與破碎槽(25)轉動連接,所述破碎槽(25)的側壁上對稱設置有若干個突出齒(251),所述破碎輥(27)的軸壁上設置有若干個破碎齒(271),若干個所述破碎齒(271)繞著破碎輥(27)的軸線環繞布置。
4.根據權利要求1所述的一種雙重粉碎密閉污水提升裝置,其特征在于:所述固定柱(29)的側壁上設置有若干個輸送口(32),若干個所述輸送口(32)繞著固定柱(29)的軸線環繞布置,若干個所述輸送口(32)相互錯位布置,所述輸送口(32)的一端連通處理腔(28),所述輸送口(32)的另一端連通輸送管(30)。
5.根據權利要求1所述的一種雙重粉碎密閉污水提升裝置,其特征在于:所述處理腔(28)的頂部設置有齒輪環(33),所述固定柱(29)的頂部設置有定齒輪(291),所述齒輪環(33)和定齒輪(291)之間設置有若干個轉動齒輪(34),若干個所述轉動齒輪(34)繞著固定柱(29)的軸線環繞布置,所述轉動齒輪(34)分別與齒輪環(33)和定齒輪(291)嚙合傳動,所述轉動齒輪(34)靠近處理腔(28)的一側設置有擠壓輥(35),所述擠壓輥(35)與處理腔(28)轉動連接。
發明內容
本發明的目的在于提供一種雙重粉碎密閉污水提升裝置,以解決上述背景技術中提出的問題。
為了解決上述技術問題,本發明提供如下技術方案:
一種雙重粉碎密閉污水提升裝置,包括:箱體、排污泵、止回閥和暗桿閘閥,還包括:粉碎裝置,所述粉碎裝置內設置有套殼,所述套殼的頂部設置有進水環,所述套殼的底部設置有出水口,所述套殼內部設置有粉碎結構,所述粉碎結構包括:粉碎腔,所述粉碎腔的一端連通進水環,所述粉碎腔的另一端連通出水口,所述進水環內設置有驅動裝置,所述驅動裝置驅動粉碎結構對水中顆粒物進行粉碎;
工作人員將污水輸送至進水環中,隨后污水通過進水環輸送至套殼內,當污水進入套殼后,污水向粉碎腔流動,當污水進入粉碎腔后,控制器控制粉碎結構啟動,粉碎結構隨即對污水中的大顆粒物進行粉碎處理,將大顆粒物破碎成小顆粒,進而使得后續在管道輸送過程中,不會將管道堵塞,從而保障了管道的流通通暢,從而提高了污水的輸送效率,經過粉碎結構對大顆粒物進行了一段時間的破碎后,污水從出水口排出。
優選的,所述驅動裝置包括:驅動腔,所述驅動腔通過支架與進水環的側壁連接,所述驅動腔內設置有電機,所述電機中的驅動軸靠近粉碎腔的一端設置有轉動柱,所述轉動柱靠近進水環的一側設置有斜面,所述轉動柱的中心高度大于轉動柱的邊緣高度。
優選的,所述粉碎腔的內壁上設置有若干個弧形條,若干個所述弧形條繞著粉碎腔的軸線環繞布置,若干個所述弧形條相互錯位布置,所述弧形條由撞擊面和引導面組成。
優選的,所述轉動柱的側壁上設置有若干個輸入槽,若干個所述輸入槽繞著轉動柱的軸線環繞布置,所述輸入槽由破碎槽和直槽組成,所述破碎槽設置在轉動柱靠近粉碎腔的一側,所述直槽設置在破碎槽遠離粉碎腔的一側。
優選的,所述破碎槽內設置有破碎輥,所述破碎輥與破碎槽轉動連接,所述破碎槽的側壁上對稱設置有若干個突出齒,所述破碎輥的軸壁上設置有若干個破碎齒,若干個所述破碎齒繞著破碎輥的軸線環繞布置;
大顆粒物在污水的帶動下移動,使得污水通過進水環進入粉碎腔中,當污水進入粉碎腔時,污水先落在轉動柱的頂部,由于轉動柱的頂部設置有斜面,使得污水順著斜面流動,污水隨即從轉動柱的頂部向轉動柱的邊緣移動,使得污水進入粉碎腔和轉動柱之間的間隙中;
隨后控制器控制驅動腔中的電機啟動,電機中的驅動軸隨即帶動轉動柱轉動,轉動柱轉動的過程中,帶轉動柱帶動粉碎腔中的污水攪動,污水繞著轉動柱的軸線產生渦旋,污水旋轉的過程中,由于若干個弧形條設置在粉碎腔的內壁上,使得污水旋轉時會與弧形條接觸,又由于弧形條由撞擊面和引導面組成,撞擊面設置在污水的旋轉行程上,即污水旋轉時會與撞擊面接觸,使得污水中的大顆粒物會撞向撞擊面,從而使得大顆粒物被分散成若干個小顆粒物,隨后小顆粒物在轉動柱的作用下向引導面移動,小顆粒物沿著引導面移動,小顆粒物移動的過程中,再次遇到撞擊面,從而使得污水在粉碎腔和轉動柱之間的間隙中不斷地產生撞擊和攪動,從而實現大顆粒物的分散;
轉動柱轉動的過程中,轉動柱帶動輸入槽轉動,輸入槽轉動的過程中,輸入槽帶動破碎輥繞著轉動柱的軸線轉動,破碎輥繞著轉動柱進行公轉的過程中,破碎輥在污水的水流帶動下產生轉動,使得破碎輥在破碎槽內自轉,破碎輥自轉的過程中,破碎輥帶動破碎齒轉動,破碎輥轉動時將污水向靠近輸入槽的一側輸送,污水移動的過程中,污水帶動著顆粒物移動,而破碎輥轉動時,破碎齒和破碎槽中的突出齒相互配合,破碎齒和突出齒將污水中的顆粒物進行再次破碎,進而使得顆粒物被破碎成更小的顆粒物,進而使得后續在管道輸送過程中,不會將管道堵塞,從而保障了管道的流通通暢,從而提高了污水的輸送效率;隨后污水混合著顆粒物依次流經破碎槽和直槽,污水通過破碎槽和直槽流入處理腔中;
利用轉動柱的轉動,從而帶動污水產生渦旋,污水產生的一部分渦旋帶動破碎輥轉動,使得破碎齒與突出齒相互配合對污水中的顆粒物進行破碎;污水產生的另一部分渦旋則帶動污水中的顆粒物向弧形條的撞擊面沖擊,利用撞擊產生的沖擊使得污水中的顆粒物被沖擊分散,從而提高污水中顆粒物的破碎質量,進而使得后續在管道輸送過程中,不會將管道堵塞,從而保障了管道的流通通暢,從而提高了污水的輸送效率。
優選的,所述轉動柱的內部設置有處理腔,所述處理腔內設置有固定柱,所述固定柱與粉碎腔的底部連接,所述固定柱的內部設置有輸送管,所述輸送管連通出水口,所述輸送管靠近出水口的一側設置有過濾板。
優選的,所述固定柱的側壁上設置有若干個輸送口,若干個所述輸送口繞著固定柱的軸線環繞布置,若干個所述輸送口相互錯位布置,所述輸送口的一端連通處理腔,所述輸送口的另一端連通輸送管。
優選的,所述處理腔的頂部設置有齒輪環,所述固定柱的頂部設置有定齒輪,所述齒輪環和定齒輪之間設置有若干個轉動齒輪,若干個所述轉動齒輪繞著固定柱的軸線環繞布置,所述轉動齒輪分別與齒輪環和定齒輪嚙合傳動,所述轉動齒輪靠近處理腔的一側設置有擠壓輥,所述擠壓輥與處理腔轉動連接;
由于固定柱在處理腔中固定不動,而轉動柱又在電機的作用下轉動,轉動柱轉動的過程中,轉動柱帶動齒輪環轉動,齒輪環轉動時與轉動齒輪嚙合,由于轉動齒輪與定齒輪也嚙合,使得轉動齒輪會繞著定齒輪做公轉運動,而轉動齒輪轉動的過程中,轉動齒輪帶動擠壓輥轉動,擠壓輥則在處理腔中繞著固定柱轉動,擠壓輥在轉動的過程中與污水和顆粒物接觸,擠壓輥對顆粒物進行擠壓處理;
污水通過處理腔向靠近輸送口的一側輸送,隨后污水通過輸送口輸送至輸送管,當污水進入輸送管中后,污水向過濾板移動,當顆粒物直徑小于過濾板中的過濾孔直徑時,污水帶動顆粒物經過過濾板從出水口排出,當顆粒物直徑大于過濾板中的過濾孔直徑時,污水中的顆粒物則會在水流的作用給下,再次通過輸送口輸送至處理腔中,使得顆粒物再次被破碎處理。
與現有技術相比,本發明所達到的有益效果是:
1.利用轉動柱的轉動,從而帶動污水產生渦旋,污水產生的一部分渦旋帶動破碎輥轉動,使得破碎齒與突出齒相互配合對污水中的顆粒物進行破碎;污水產生的另一部分渦旋則帶動污水中的顆粒物向弧形條的撞擊面沖擊,利用撞擊產生的沖擊使得污水中的顆粒物被沖擊分散,從而提高污水中顆粒物的破碎質量,進而使得后續在管道輸送過程中,不會將管道堵塞,從而保障了管道的流通通暢,從而提高了污水的輸送效率。
2.由于固定柱在處理腔中固定不動,而轉動柱又在電機的作用下轉動,轉動柱轉動的過程中,轉動柱帶動齒輪環轉動,齒輪環轉動時與轉動齒輪嚙合,由于轉動齒輪與定齒輪也嚙合,使得轉動齒輪會繞著定齒輪做公轉運動,而轉動齒輪轉動的過程中,轉動齒輪帶動擠壓輥轉動,擠壓輥則在處理腔中繞著固定柱轉動,擠壓輥在轉動的過程中與污水和顆粒物接觸,擠壓輥對顆粒物進行擠壓處理。
(發明人:蔣星學;儲志明;蔣巨峰;聞金歡;蔣星軍;周衛炳;王慶林;龔國勇)






