公布日:2024.04.30
申請日:2024.01.11
分類號:C02F9/00(2023.01)I;C02F1/00(2023.01)N;C02F1/04(2023.01)N;C02F3/00(2023.01)N;C02F3/34(2023.01)N
摘要
本發明屬于污水處理技術領域,尤其是一種高效污水處理用往復式膜生物反應器及方法,其反應器包括底板,底板的頂部一側對稱固定安裝有兩個支撐架,兩個支撐架上固定安裝有同一個污水箱,本發明能夠預先對污水進行過濾除雜以及采用蒸發的方式能夠對污水進行預先凈化處理,使得后續利用生物膜進行過濾時,能夠減少生物膜的損耗,并且在經過蒸發后的水可經過第一生物膜和第二生物膜的雙重過濾,即可在對水進行凈化過濾時,能夠大大的提升水的凈化程度。

權利要求書
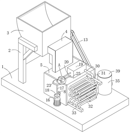
1.一種高效污水處理用往復式膜生物反應器,包括底板(1),底板(1)的頂部一側對稱固定安裝有兩個支撐架(2),兩個支撐架(2)上固定安裝有同一個污水箱(3),污水箱(3)的一側底部內壁上開設有出水孔,其特征在于,該反應器還包括:蒸發機構,蒸發機構安裝在底板(1)的頂部,蒸發機構上連接有輸送管(4),輸送管(4)的頂端延伸至出水孔內并與出水孔的內壁固定連接,蒸發機構用于對水進行加熱蒸發;除雜機構,除雜機構安裝在污水箱(3)內,除雜機構與出水孔相對應,除雜機構用于對水進行初步的過濾,除雜機構的一側延伸至污水箱(3)的外側并與蒸發機構相連接;動力機構,動力機構安裝在底板(1)的頂部一側,動力機構與蒸發機構相連接,動力機構用于對蒸發機構進行驅動;輸氣機構,輸氣機構安裝在蒸發機構上,輸氣機構用于將蒸發生成的蒸汽進行輸送;冷凝機構,冷凝機構安裝在底板(1)的頂部,冷凝機構分別與輸氣機構和蒸發機構相連接,冷凝機構用于對蒸汽進行降溫冷卻形成液體水;生物膜機構,生物膜機構安裝在底板(1)的頂部,生物膜機構與冷凝機構相連接,生物膜機構用于對蒸發后的水進行過濾凈化;所述蒸發機構包括固定安裝在底板(1)頂部的除雜箱(5),除雜箱(5)內固定安裝有隔板(6),輸送管(4)的底端延伸至除雜箱(5)內并與除雜箱(5)的頂部一側內壁固定連接,除雜箱(5)的一側內壁上轉動連接有電熱組件,電熱組件用于對污水進行加熱,輸氣機構安裝在除雜箱(5)上,電熱組件的一端延伸至除雜箱(5)的一側并與動力機構相連接,電熱組件的另一端延伸至除雜箱(5)的另一側并與除雜機構相連接;所述電熱組件包括轉動連接在除雜箱(5)一側內壁上的支撐盤(7),支撐盤(7)的一側中心位置上固定安裝有定位軸,定位軸的一端延伸至除雜箱(5)的外側并與動力機構相連接,支撐盤(7)的另一側等間距固定安裝有多個電熱桿(9),多個電熱桿(9)的一端固定安裝有同一個連接盤(10),連接盤(10)與除雜箱(5)的另一側內壁轉動連接,連接盤(10)的一側中心位置上固定安裝有傳動軸(11),傳動軸(11)的一端延伸至除雜箱(5)的另一側并與除雜機構相連接。
2.根據權利要求1所述的高效污水處理用往復式膜生物反應器,其特征在于,所述除雜機構包括轉動連接在污水箱(3)內的網桶(14),網桶(14)完全覆蓋出水孔,出水孔內對稱固定安裝有兩個刮板(15),刮板(15)的一側與網桶(14)的外側相接觸,網桶(14)的一端中心位置上固定安裝有連接軸(12),連接軸(12)的一端延伸至污水箱(3)的外側,連接軸(12)上和傳動軸(11)上傳動套設有同一個傳動帶(13)。
3.根據權利要求2所述的高效污水處理用往復式膜生物反應器,其特征在于,所述動力機構包括固定安裝在底板(1)頂部一側的驅動電機(16),驅動電機(16)的輸出軸上固定安裝有安裝軸(17),安裝軸(17)上固定套設有驅動傘齒輪(18),定位軸的一端固定安裝有連接傘齒輪(8),驅動傘齒輪(18)與連接傘齒輪(8)相嚙合,安裝軸(17)與輸氣機構相連接。
4.根據權利要求3所述的高效污水處理用往復式膜生物反應器,其特征在于,所述輸氣機構包括固定安裝在除雜箱(5)頂部的動力箱(19),動力箱(19)的一側內壁上貫穿轉動連接有轉軸(20),轉軸(20)的一端固定安裝有軸流葉片(21),轉軸(20)的另一端固定安裝有從動傘齒輪(22),安裝軸(17)上固定套設有位于驅動傘齒輪(18)上方的傳動傘齒輪(23),傳動傘齒輪(23)與從動傘齒輪(22)相嚙合,動力箱(19)的一側底部內壁上固定安裝有輸氣管(25),除雜箱(5)的頂部一側內壁上固定安裝有連接箱(24),連接箱(24)的頂部延伸至除雜箱(5)的上方,輸氣管(25)的一端延伸至連接箱(24)內并與連接箱(24)的一側內壁固定連接,冷卻機構的一端延伸至動力箱(19)內并與動力箱(19)的另一側內壁相連接。
5.根據權利要求4所述的高效污水處理用往復式膜生物反應器,其特征在于,所述除雜箱(5)的一側頂部內壁上固定安裝有支撐板(26),支撐板(26)上貫穿滑動連接有安裝桿(27),安裝桿(27)的頂端延伸至連接箱(24)內并固定安裝有封盤(28),封盤(28)與連接箱(24)的內壁緊密貼合,封盤(28)用于對輸氣管(25)進行封堵,安裝桿(27)上套設有位于支撐板(26)下方的壓縮彈簧(29),壓縮彈簧(29)的頂端和底端分別與支撐板(26)的底部和安裝桿(27)的底端固定連接。
6.根據權利要求5所述的高效污水處理用往復式膜生物反應器,其特征在于,所述冷凝機構包括固定安裝在動力箱(19)的另一側內壁上的流動管(30),流動管(30)的一端延伸至動力箱(19)的外側并固定安裝有分散箱(31),分散箱(31)的一側內壁上等間距固定安裝有多個換熱管(32),多個換熱管(32)的一端均延伸至分散箱(31)的外側并固定連接有同一個集合箱(33),集合箱(33)的一側內壁上固定安裝有輸送管(43),輸送管(43)的一端延伸至集合箱(33)的外側并固定連接有吸引箱(42),吸引箱(42)內密封滑動連接有活塞板(44),活塞板(44)上開設有流通孔,流通孔內固定安裝有第一單向閥(48),集合箱(33)固定安裝在底板(1)的頂部,吸引箱(42)的一側內壁上固定安裝有連接管(34),連接管(34)的一端與生物膜機構相連接,連接管(34)的另一端固定安裝有第二單向閥(49),第二單向閥(49)與第一單向閥(48)相配合,活塞板(44)的一側固定安裝有驅動桿(45),驅動桿(45)的一端貫穿吸引箱(42)的一側內壁并延伸至吸引箱(42)的外側,驅動桿(45)與吸引箱(42)的一側內壁密封滑動連接,驅動桿(45)的一端固定安裝有傳動板(46),傳動板(46)上開設有傳動孔,傳動孔內貫穿設有往復絲杠(47),傳動孔的內壁上固定安裝有擋塊,擋塊的一側與往復絲杠(47)傳動配合,往復絲杠(47)與傳動軸(11)上均固定套設有皮帶輪,且兩個皮帶輪上傳動連接有同一個皮帶(50)。
7.根據權利要求6所述的高效污水處理用往復式膜生物反應器,其特征在于,所述生物膜機構包括固定安裝在底板(1)頂部的處理箱(35),連接管(34)的一端延伸至處理箱(35)內并與處理箱(35)的一側內壁固定連接,處理箱(35)的頂部螺紋連接有蓋板(39),蓋板(39)的底部固定安裝有封板(38),封板(38)的底部延伸至處理箱(35)內,封板(38)的兩側分別與處理箱(35)的兩側內壁緊密貼合,封板(38)的底部固定安裝有支撐環(37),支撐環(37)與處理箱(35)的內壁緊密貼合,支撐環(37)內分別固定嵌裝有第一生物膜(40)和第二生物膜(41),第一生物膜(40)和第二生物膜(41)分別位于封板(38)的兩側,處理箱(35)的另一側內壁固定安裝有位于支撐環(37)上方的排水管(36),排水管(36)的一端延伸至處理箱(35)的外側。
8.根據權利要求7所述的高效污水處理用往復式膜生物反應器的使用方法,其特征在于,包括以下步驟:S1、將需要進行凈化過濾的污水投放至污水箱(3)內,此時污水通過網桶(14)經過輸送管(4)輸送至除雜箱(5)內;S2、啟動驅動電機(16)帶動安裝軸(17)進行轉動,此時在驅動傘齒輪(18)和連接傘齒輪(8)的嚙合傳動作用下,能夠帶動定位軸進行轉動,以此能夠帶動多個電熱桿(9)進行運動,之后在傳動帶(13)的傳動作用下,能夠帶動連接軸(12)進行轉動,帶動網桶(14)進行轉動,在污水經過出水孔排出時,利用網桶(14)對污水進行預先過濾,去除污水中的大塊狀的雜質,并且在網桶(14)進行轉動時,能夠與兩個刮板(15)進行接觸,所以利用刮板(15)對附著在網桶(14)上的大塊狀的雜質進行刮蹭,以防止雜質對網桶(14)造成堵塞;S3、電熱桿(9)在運動的同時進行通電,使得電熱桿(9)處于高溫狀態,方便對污水進行攪拌加熱,污水在被加熱后,能夠迅速升溫,直至達到沸騰狀態形成蒸汽;S4、在安裝軸(17)進行轉動時,傳動傘齒輪(23)和從動傘齒輪(22)的嚙合傳動作用下,能夠帶動轉軸(20)進行轉動,以此能夠帶動軸流葉片(21)進行轉動,處于轉動狀態的軸流葉片(21)具備吸力,使得污水在除雜箱(5)內加熱形成蒸汽后,經過連接箱(24)和輸氣管(25)輸送至動力箱(19)內;S5、蒸汽經過流動管(30)輸送至分散箱(31)內,之后分散流入多個換熱管(32)內,換熱管(32)為蛇形狀,能夠增大與外界自然環境的接觸面積,所以蒸汽在進入換熱管(32)內,能夠迅速的降溫冷卻,形成液態水;S6、在降溫后的污水進入處理箱(35)內后,能夠經過第一生物膜(40)向下流動,之后在隨著污水在處理箱(35)內的液面升高后,污水經過第二生物膜(41)進行過濾,直至經過第二生物膜(41)過濾后的水液面高于排水管(36),以此能夠將經過兩次過濾后的水排出,由于能夠對水進行兩次過濾,以此在對污水進行凈化過濾時,能夠提升水的凈化度。
發明內容
本發明提供了高效污水處理用往復式膜生物反應器及方法,解決了現有技術中不能在污水進行處理時,進行除雜導致生物膜使用周期縮短,并且采用一次過濾的方式在對污水進行過濾時,會導致污水過濾純凈度較低的缺點。
本發明提供了如下技術方案:
一種高效污水處理用往復式膜生物反應器,包括底板,底板的頂部一側對稱固定安裝有兩個支撐架,兩個支撐架上固定安裝有同一個污水箱,污水箱的一側底部內壁上開設有出水孔,該反應器還包括:
蒸發機構,蒸發機構安裝在底板的頂部,蒸發機構上連接有輸送管,輸送管的頂端延伸至出水孔內并與出水孔的內壁固定連接,蒸發機構用于對水進行加熱蒸發;
除雜機構,除雜機構安裝在污水箱內,除雜機構與出水孔相對應,除雜機構用于對水進行初步的過濾,除雜機構的一側延伸至污水箱的外側并與蒸發機構相連接;
動力機構,動力機構安裝在底板的頂部一側,動力機構與蒸發機構相連接,動力機構用于對蒸發機構進行驅動;
輸氣機構,輸氣機構安裝在蒸發機構上,輸氣機構用于將蒸發生成的蒸汽進行輸送;
冷凝機構,冷凝機構安裝在底板的頂部,冷凝機構與輸氣機構相連接,冷凝機構用于對蒸汽進行降溫冷卻形成液體水;
生物膜機構,生物膜機構安裝在底板的頂部,生物膜機構與冷凝機構相連接,生物膜機構用于對蒸發后的水進行過濾凈化。
在一種可能的設計中,所述蒸發機構包括固定安裝在底板頂部的除雜箱,除雜箱內固定安裝有隔板,輸送管的底端延伸至除雜箱內并與除雜箱的頂部一側內壁固定連接,除雜箱的一側內壁上轉動連接有電熱組件,電熱組件用于對污水進行加熱,輸氣機構安裝在除雜箱上,電熱組件的一端延伸至除雜箱的一側并與動力機構相連接,電熱組件的另一端延伸至除雜箱的另一側并與除雜機構相連接。
在一種可能的設計中,所述電熱組件包括轉動連接在除雜箱一側內壁上的支撐盤,支撐盤的一側中心位置上固定安裝有定位軸,定位軸的一端延伸至除雜箱的外側并與動力機構相連接,支撐盤的另一側等間距固定安裝有多個電熱桿,多個電熱桿的一端固定安裝有同一個連接盤,連接盤與除雜箱的另一側內壁轉動連接,連接盤的一側中心位置上固定安裝有傳動軸,傳動軸的一端延伸至除雜箱的另一側并與除雜機構相連接。
在一種可能的設計中,所述除雜機構包括轉動連接在污水箱內的網桶,網桶完全覆蓋出水孔,出水孔內對稱固定安裝有兩個刮板,刮板的一側與網桶的外側相接觸,網桶的一端中心位置上固定安裝有連接軸,連接軸的一端延伸至污水箱的外側,連接軸上和傳動軸上傳動套設有同一個傳動帶。
在一種可能的設計中,所述動力機構包括固定安裝在底板頂部一側的驅動電機,驅動電機的輸出軸上固定安裝有安裝軸,安裝軸上固定套設有驅動傘齒輪,定位軸的一端固定安裝有連接傘齒輪,驅動傘齒輪與連接傘齒輪相嚙合,安裝軸與輸氣機構相連接。
在一種可能的設計中,所述輸氣機構包括固定安裝在除雜箱頂部的動力箱,動力箱的一側內壁上貫穿轉動連接有轉軸,轉軸的一端固定安裝有軸流葉片,轉軸的另一端固定安裝有從動傘齒輪,安裝軸上固定套設有位于驅動傘齒輪上方的傳動傘齒輪,傳動傘齒輪與從動傘齒輪相嚙合,動力箱的一側底部內壁上固定安裝有輸氣管,除雜箱的頂部一側內壁上固定安裝有連接箱,連接箱的頂部延伸至除雜箱的上方,輸氣管的一端延伸至連接箱內并與連接箱的一側內壁固定連接,冷卻機構的一端延伸至動力箱內并與動力箱的另一側內壁相連接。
在一種可能的設計中,所述除雜箱的一側頂部內壁上固定安裝有支撐板,支撐板上貫穿滑動連接有安裝桿,安裝桿的頂端延伸至連接箱內并固定安裝有封盤,封盤與連接箱的內壁緊密貼合,封盤用于對輸氣管進行封堵,安裝桿上套設有位于支撐板下方的壓縮彈簧,壓縮彈簧的頂端和底端分別與支撐板的底部和安裝桿的底端固定連接。
在一種可能的設計中,所述冷凝機構包括固定安裝在動力箱的另一側內壁上的流動管,流動管的一端延伸至動力箱的外側并固定安裝有分散箱,分散箱的一側內壁上等間距固定安裝有多個換熱管,多個換熱管的一端均延伸至分散箱的外側并固定連接有同一個集合箱,集合箱的一側內壁上固定安裝有輸送管,輸送管的一端延伸至集合箱的外側并固定連接有吸引箱,吸引箱內密封滑動連接有活塞板,活塞板上開設有流通孔,流通孔內固定安裝有第一單向閥,集合箱固定安裝在底板的頂部,吸引箱的一側內壁上固定安裝有連接管,連接管的一端與生物膜機構相連接,連接管的另一端固定安裝有第二單向閥,第二單向閥與第一單向閥相配合,活塞板的一側固定安裝有驅動桿,驅動桿的一端貫穿吸引箱的一側內壁并延伸至吸引箱的外側,驅動桿與吸引箱的一側內壁密封滑動連接,驅動桿的一端固定安裝有傳動板,傳動板上開設有傳動孔,傳動孔內貫穿設有往復絲杠,傳動孔的內壁上固定安裝有擋塊,擋塊的一側與往復絲杠47傳動配合,往復絲杠與傳動軸上均固定套設有皮帶輪,且兩個皮帶輪上傳動連接有同一個皮帶。
在一種可能的設計中,所述生物膜機構包括固定安裝在底板頂部的處理箱,連接管的一端延伸至處理箱內并與處理箱的一側內壁固定連接,處理箱的頂部螺紋連接有蓋板,蓋板的底部固定安裝有封板,封板的底部延伸至處理箱內,封板的兩側分別與處理箱的兩側內壁緊密貼合,封板的底部固定安裝有支撐環,支撐環與處理箱的內壁緊密貼合,支撐環內分別固定嵌裝有第一生物膜和第二生物膜,第一生物膜和第二生物膜分別位于封板的兩側,處理箱的另一側內壁固定安裝有位于支撐環上方的排水管,排水管的一端延伸至處理箱的外側。
所述的高效污水處理用往復式膜生物反應器的使用方法,包括以下步驟:
S1、將需要進行凈化過濾的污水投放至污水箱內,此時污水可通過網桶經過輸送管輸送至除雜箱內;
S2、啟動驅動電機帶動安裝軸進行轉動,此時在驅動傘齒輪和連接傘齒輪的嚙合傳動作用下,能夠帶動定位軸進行轉動,以此能夠帶動多個電熱桿進行運動,之后在傳動帶的傳動作用下,能夠帶動連接軸進行轉動,即可帶動網桶進行轉動,在污水經過出水孔排出時,可利用網桶對污水進行預先過濾,可去除污水中的大塊狀的雜質,并且在網桶進行轉動時,能夠與兩個刮板進行接觸,所以可利用刮板對附著在網桶上的大塊狀的雜質進行刮蹭,以防止雜質對網桶造成堵塞;
S3、電熱桿在運動的同時可進行通電,使得電熱桿處于高溫狀態,即可方便對污水進行攪拌加熱,污水在被加熱后,能夠迅速升溫,直至達到沸騰狀態形成蒸汽;
S4、在安裝軸進行轉動時,可傳動傘齒輪和從動傘齒輪的嚙合傳動作用下,能夠帶動轉軸進行轉動,以此能夠帶動軸流葉片進行轉動,處于轉動狀態的軸流葉片可具備吸力,使得污水在除雜箱內加熱形成蒸汽后,可經過連接箱和輸氣管輸送至動力箱內;
S5、蒸汽可經過流動管輸送至分散箱內,之后可分散流入多個換熱管內,換熱管為蛇形狀,能夠增大與外界自然環境的接觸面積,所以蒸汽在進入換熱管內,能夠迅速的降溫冷卻,形成液態水;
S6、在降溫后的污水進入處理箱內后,能夠經過第一生物膜向下流動,之后在隨著污水在處理箱內的液面升高后,污水可經過第二生物膜進行過濾,直至經過第二生物膜過濾后的水液面高于排水管,以此能夠將經過兩次過濾后的水排出,由于能夠對水進行兩次過濾,以此在對污水進行凈化過濾時,能夠提升水的凈化度。
本發明中,可將需要進行凈化過濾的污水投放至污水箱內,此時污水可通過網桶經過輸送管輸送至除雜箱內,接著可啟動驅動電機帶動安裝軸進行轉動,此時在驅動傘齒輪和連接傘齒輪的嚙合傳動作用下,能夠帶動定位軸進行轉動,以此能夠帶動多個電熱桿進行運動,即可帶動連接盤進行轉動,以此能夠帶動傳動軸進行轉動,此時在傳動帶的傳動作用下,能夠帶動連接軸進行轉動,即可帶動網桶進行轉動,在污水經過出水孔排出時,可利用網桶對污水進行預先過濾,可去除污水中的大塊狀的雜質,并且在網桶進行轉動時,能夠與兩個刮板進行接觸,所以可利用刮板對附著在網桶上的大塊狀的雜質進行刮蹭,以防止雜質對網桶造成堵塞,所以能夠保證污水能夠正常流過網桶經過輸送管輸送至除雜箱內,并且電熱桿在運動的同時可進行通電,使得電熱桿處于高溫狀態,即可方便對污水進行攪拌加熱,污水在被加熱后,能夠迅速升溫,直至達到沸騰狀態形成蒸汽,在污水形成蒸汽后,除雜箱內的氣壓會增大,以此能夠頂住封盤沿著連接箱向上移動,解除對輸氣管的封堵,并且在封盤向上移動時,可用過安裝桿可使得壓縮彈簧處于受力壓縮狀態,處于受力狀態的壓縮彈簧能夠在對污水停止蒸發時,利用壓縮彈簧的彈力能夠推動安裝桿向下移動,以此能夠實現封盤向下復位,可防止除雜箱內的異味發生擴散,并且在安裝軸進行轉動時,可傳動傘齒輪和從動傘齒輪的嚙合傳動作用下,能夠帶動轉軸進行轉動,以此能夠帶動軸流葉片進行轉動,處于轉動狀態的軸流葉片可具備吸力,使得污水在除雜箱內加熱形成蒸汽后,可經過連接箱和輸氣管輸送至動力箱內,之后可在軸流葉片的穩定的輸送下,蒸汽可經過流動管輸送至分散箱內,之后可分散流入多個換熱管內,換熱管為蛇形狀,能夠增大與外界自然環境的接觸面積,所以蒸汽在進入換熱管內,能夠迅速的降溫冷卻,形成液態水,落入集合箱內,并且在傳動軸進行轉動時,可在皮帶的傳動作用下,能夠帶動往復絲杠進行轉動,以此可在往復絲桿和擋塊的傳動配合下,能夠帶動傳動板沿著往復絲杠的軸線方向進行橫向往復運動,此時在傳動桿的帶動下,能夠帶動活塞板在吸引箱內進行橫向往復運動,以此能夠帶動第一單向閥向第二單向閥靠近或遠離,在第一單向閥向遠離第二單向閥的一側進行移動時,此時第一單向閥和第二單向閥之間的區域會擴大,并且活塞板與吸引箱的內壁保持密封貼合,同時第二單向閥會保持關閉狀態,此時第一單向閥和第二單向閥之間的區域會擴大,沒有足量的氣體補充至第一單向閥和第二單向閥之間的區域,此時第一單向閥和第二單向閥之間的區域會呈現負壓狀態,第一單向閥的閥芯可在負壓力的作用進行移動,使得第一單向閥處于打開狀態,此時第一單向閥和第二單向閥之間的區域所產生的吸力,能夠將位于集合箱內的水抽送至吸引箱內,在第一單向閥向靠近第二單向閥的一側進行移動時,可對位于第一單向閥和第二單向閥之間的水進行擠壓,此時水的液體壓力可對第二單向閥的閥芯施加壓力,使得第二單向閥處于打開狀態,以此可將水經過連接管將液態水輸送至處理箱內,對水進行進一步的過濾凈化,并且在活塞板持續的往復運動,便可能夠不斷的將冷凝后的水以增壓的形式穩定的向處理箱內進行輸送,由于利用封板能夠將處理箱劃分為兩個獨立區域,此時在降溫后的污水進入處理箱內后,能夠經過第一生物膜向下流動,之后在隨著污水在處理箱內的液面升高后,污水可經過第二生物膜進行過濾,直至經過第二生物膜過濾后的水液面高于排水管,以此能夠將經過兩次過濾后的水排出,由于能夠對水進行兩次過濾,以此在對污水進行凈化過濾時,能夠提升水的凈化度。
應當理解的是,以上的一般描述和后文的細節描述僅是示例性的,并不能限制本發明。
本發明中,通過設置的蒸發機構,可在將多個電熱桿進行通電后,此時可對進入除雜箱內的污水進行加熱,使得污水形成蒸汽狀態,并且在污水生成蒸汽后,可經過輸氣機構的輸送,能夠將蒸汽輸送至冷凝機構內進行降溫冷卻,所以采用蒸發的方式對污水進行預先處理,能夠將污水中的細小顆粒進行清理;
本發明中,通過設置的除雜機構,可在多個電熱桿接受到動力機構的驅動力后,能夠帶動連接盤進行轉動,以此能夠帶動傳動軸進行轉動,此時在傳動帶的傳動作用下,能夠帶動連接軸進行轉動,即可帶動網桶進行轉動,在污水經過出水孔排出時,可利用網桶對污水進行預先過濾,可去除污水中的大塊狀的雜質,并且在網桶進行轉動時,能夠與兩個刮板進行接觸,所以可利用刮板對附著在網桶上的大塊狀的雜質進行刮蹭,以防止雜質對網桶造成堵塞,所以能夠保證污水能夠正常流過網桶經過輸送管輸送至除雜箱內;
本發明中,通過設置的動力機構,可在啟動驅動電機帶動安裝軸進行轉動,此時在驅動傘齒輪和連接傘齒輪的嚙合傳動作用下,能夠帶動定位軸進行轉動,以此能夠帶動多個電熱桿進行運動,方便對污水進行攪拌加熱,并且在安裝軸進行轉動時,能夠驅動輸氣機構進行運行,以此可將除雜箱內所生成的蒸汽進行輸送;
本發明中,通過設置的輸氣機構,可在傳動傘齒輪隨著安裝軸進行轉動時,可在與從動傘齒輪的嚙合傳動作用下,能夠帶動轉軸進行轉動,以此能夠帶動軸流葉片進行轉動,處于轉動狀態的軸流葉片可具備吸力,使得污水在除雜箱內加熱形成蒸汽后,可經過連接箱和輸氣管輸送至動力箱內,之后可在軸流葉片的穩定的輸送下,可將蒸汽輸送至冷凝機構內,能夠對蒸汽進行降溫冷卻;
本發明中,通過設置的冷凝機構,可在蒸汽被抽送至動力箱內后,可經過流動管輸送至分散箱內,之后可分散流入多個換熱管內,換熱管為蛇形狀,能夠增大與外界自然環境的接觸面積,所以蒸汽在進入換熱管內,能夠迅速的降溫冷卻,形成液態水,之后可經過集合箱和連接管將液態水輸送至生物膜機構內,對水進行進一步的過濾凈化;
本發明中,通過設置的生物膜機構,可在利用封板能夠將處理箱劃分為兩個獨立區域,此時在降溫后的污水進入處理箱內后,能夠經過第一生物膜向下流動,之后在隨著污水在處理箱內的液面升高后,污水可經過第二生物膜進行過濾,直至經過第二生物膜過濾后的水液面高于排水管,以此能夠將經過兩次過濾后的水排出,由于能夠對水進行兩次過濾,以此在對污水進行凈化過濾時,能夠提升水的凈化度。
本發明在對污水進行凈化處理時,能夠預先對污水進行過濾除雜以及采用蒸發的方式能夠對污水進行預先凈化處理,可去除污水中的大顆粒雜質,使得后續利用生物膜進行過濾時,能夠減少生物膜的損耗,并且在經過蒸發后的水可經過第一生物膜和第二生物膜的雙重過濾,即可在對水進行凈化過濾時,能夠大大的提升水的凈化程度。
(發明人:宋燦輝;祝磊)






