公布日:2023.11.07
申請日:2023.08.31
分類號:C02F3/02(2023.01)I;C02F101/30(2006.01)N
摘要
本發明公開了一種應用于高濃度有機廢水處理的新型好氧生化反應器,涉及有機廢水處理領域,本發明包括反應器主體,反應器主體的內部安裝有導流箱,反應器主體的一側安裝有延伸至導流箱內部的進液管,且進液管的內部分別設有濾網和防堵組件。本發明通過設置有防堵組件,當廢水流至進液管內時,廢水會通過導流板流入至轉片上,轉片受到廢水沖擊后會發生轉動,轉片轉動后會帶動濾網上的雜質移動,使得雜質能夠滑落至排料管內部,從而防止大量雜質同時堆積在濾網上而造成堵塞,進而提高對濾網的清理效率,且通過該方式無需頻繁拆卸濾網便可對其表面的雜質進行清理,清理過程簡單方便,同時提高濾網后續對廢水的過濾效率。

權利要求書
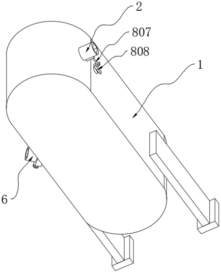
1.一種應用于高濃度有機廢水處理的新型好氧生化反應器,包括反應器主體(1),其特征在于:所述反應器主體(1)的內部安裝有導流箱(3),所述反應器主體(1)的一側安裝有延伸至導流箱(3)內部的進液管(2),且進液管(2)的內部分別設有濾網(14)和防堵組件(8),所述防堵組件(8)包括設于進液管(2)內部的連接軸(802)和導流板(801)、設于進液管(2)和反應器主體(1)之間的排料管(804)與安裝于反應器主體(1)一側的固定板(806),所述固定板(806)的底部固定有導桿(807),且導桿(807)的外壁套接有限位板(808),并且導桿(807)的底端固定有限位塊(810),所述排料管(804)的內部設置有封堵柱(805),且封堵柱(805)的一側固定有側板(809),所述連接軸(802)的外壁設有多個轉片(803),所述反應器主體(1)的底部連接有出料管(13),且出料管(13)的內部設置有封堵組件(9)。
2.根據權利要求1所述的一種應用于高濃度有機廢水處理的新型好氧生化反應器,其特征在于:所述封堵組件(9)包括套接于出料管(13)外壁的墊環(903)和第二電磁鐵環(906),所述第二電磁鐵環(906)的頂部設置有永磁鐵環(907),且永磁鐵環(907)的底部一側固定有連桿(905),所述連桿(905)的一端安裝有活動桿(902),且活動桿(902)的頂端固定有封堵塊(901),所述墊環(903)的底部安裝有第一電磁鐵環(904)。
3.根據權利要求2所述的一種應用于高濃度有機廢水處理的新型好氧生化反應器,其特征在于:所述永磁鐵環(907)位于第一電磁鐵環(904)的正下方,所述封堵塊(901)與出料管(13)相適配。
4.根據權利要求1所述的一種應用于高濃度有機廢水處理的新型好氧生化反應器,其特征在于:所述進液管(2)的外壁設有多個第一噴射孔(7),所述導流箱(3)的頂部兩側均開設有回流孔(5)。
5.根據權利要求1所述的一種應用于高濃度有機廢水處理的新型好氧生化反應器,其特征在于:所述反應器主體(1)的內壁開設有腔體(4),所述導流箱(3)的底部設有單向閥(12)。
6.根據權利要求1所述的一種應用于高濃度有機廢水處理的新型好氧生化反應器,其特征在于:所述進液管(2)的底端貫穿導流箱(3)并連接有噴流盤(10),所述噴流盤(10)的底部開設有多個第二噴射孔(11)。
7.根據權利要求4所述的一種應用于高濃度有機廢水處理的新型好氧生化反應器,其特征在于:所述反應器主體(1)的一側連接有進料管(6),所述第一噴射孔(7)呈傾斜設置,多個所述第一噴射孔(7)呈環形陣列狀分布于進液管(2)的外壁。
發明內容
基于此,本發明的目的是提供一種應用于高濃度有機廢水處理的新型好氧生化反應器,以解決不便對濾網上的雜質進行清理進而可能會造成濾網堵塞的技術問題。
為實現上述目的,本發明提供如下技術方案:一種應用于高濃度有機廢水處理的新型好氧生化反應器,包括反應器主體,所述反應器主體的內部安裝有導流箱,所述反應器主體的一側安裝有延伸至導流箱內部的進液管,且進液管的內部分別設有濾網和防堵組件,所述防堵組件包括設于進液管內部的連接軸和導流板、設于進液管和反應器主體之間的排料管與安裝于反應器主體一側的固定板,所述固定板的底部固定有導桿,且導桿的外壁套接有限位板,并且導桿的底端固定有限位塊,所述排料管的內部設置有封堵柱,且封堵柱的一側固定有側板,所述連接軸的外壁設有多個轉片,所述反應器主體的底部連接有出料管,且出料管的內部設置有封堵組件。
通過采用上述技術方案,當廢水流至進液管內時,廢水會通過導流板流入至轉片上,轉片受到廢水沖擊后會發生轉動,轉片轉動后會帶動濾網上的雜質移動。
進一步的,所述封堵組件包括套接于出料管外壁的墊環和第二電磁鐵環,所述第二電磁鐵環的頂部設置有永磁鐵環,且永磁鐵環的底部一側固定有連桿,所述連桿的一端安裝有活動桿,且活動桿的頂端固定有封堵塊,所述墊環的底部安裝有第一電磁鐵環。
通過采用上述技術方案,連桿則帶動活動桿移動,活動桿移動時會帶動封堵塊上移,封堵塊上移后不再封堵出料管。
進一步的,所述永磁鐵環位于第一電磁鐵環的正下方,所述封堵塊與出料管相適配。
通過采用上述技術方案,當第一電磁鐵環通電時其會產生磁性,進而可吸附永磁鐵環,使得永磁鐵環上移,并帶動連桿移動。
進一步的,所述進液管的外壁設有多個第一噴射孔,所述導流箱的頂部兩側均開設有回流孔。
通過采用上述技術方案,廢水進入至進液管內部后,部分液體會經第一噴射孔噴出,使得液體流入至導流箱內部。
進一步的,所述反應器主體的內壁開設有腔體,所述導流箱的底部設有單向閥。
通過采用上述技術方案,以便廢水能夠在腔體內流動,且隨著廢水持續經第二噴射孔噴出時,廢水能夠流入至回流孔內,再經回流孔回流至導流箱內部。
進一步的,所述進液管的底端貫穿導流箱并連接有噴流盤,所述噴流盤的底部開設有多個第二噴射孔。
通過采用上述技術方案,廢水可經進液管流入至噴流盤內部,再經第二噴射孔噴射出,進而使得廢水能夠在反應器內進行反應處理。
進一步的,所述反應器主體的一側連接有進料管,所述第一噴射孔呈傾斜設置,多個所述第一噴射孔呈環形陣列狀分布于進液管的外壁。
通過采用上述技術方案,以便催化劑能夠通過進料管進入至反應器主體內部,以便提高液體在反應器內的反應效率。
綜上所述,本發明主要具有以下有益效果:
1、本發明通過設置有防堵組件,當廢水流至進液管內時,廢水會通過導流板流入至轉片上,轉片受到廢水沖擊后會發生轉動,轉片轉動后會帶動濾網上的雜質移動,使得雜質能夠滑落至排料管內部,從而防止大量雜質同時堆積在濾網上而造成堵塞,進而提高對濾網的清理效率,且通過該方式無需頻繁拆卸濾網便可對其表面的雜質進行清理,清理過程簡單方便,同時提高濾網后續對廢水的過濾效率,而當需清理排料管上堆積的雜質時,使用者可向上推動限位板,使得限位板上移不再與側板接觸,此時便可通過側板取出封堵柱,而排料管內部的雜質則會排出,進而可快速清理排料管內的雜質;
2、本發明通過設置有封堵組件,由于封堵塊封堵出料管的頂端,使得出料管內不會有廢水積留,使得所有進入至反應器主體內部的廢水均能夠在反應器內部反應,避免部分廢水流入至出料管內而難以反應,進而提高對廢水整體的處理效率,且當需排液時,可啟動第一電磁鐵環并關閉第二電磁鐵環,此時第一電磁鐵環通電產生磁性進而可吸附永磁鐵環,使得永磁鐵環上移,永磁鐵環則帶動連桿和活動桿上移,再帶動封堵塊上移,使封堵塊不再封堵出料管,此時液體便可通過出料管排出。
(發明人:高繼賢;李俊;王亞東;顏丙通;趙偉;黃興剛;張進鋒;黃技偉;莊淵;范茂軍;邵軍;徐志剛;屈陽;李金忠)






