公布日:2023.10.13
申請日:2023.08.24
分類號:B01D46/02(2006.01)I;B01D46/04(2006.01)I;B01D46/42(2006.01)I;B01D46/48(2006.01)I;B01D46/72(2022.01)I;C02F11/00(2006.01)I;F28D21/00(2006.01)I
摘要
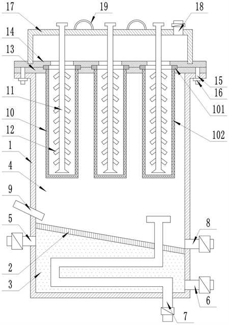
本發明是污泥干化除塵自動反清理裝置,包括除塵箱,除塵箱內下端設有傾斜導板,傾斜導板將除塵箱分為下部的換熱腔和上部的除塵腔,換熱腔一側壁上端設有換熱介質入口且另外一側壁下端設有換熱介質出口,除塵箱底部設有進氣管,進氣管穿過換熱腔并伸出傾斜導板上端,除塵箱側壁上在傾斜導板較低一側設有排污口,除塵箱側壁上在傾斜導板較高一側設有沖洗管,除塵腔內安裝有若干除塵網袋組件,每個除塵網袋組件內均設有反吹管,反吹管側壁上設有若干反吹口。本發明可以對污泥干化機處理的尾氣進行熱量的回收利用;設置了反吹管和反吹口可以定期的對除塵網袋組件進行反吹作業,避免其堵塞;可以通過沖洗管將灰塵從排污口排出。

權利要求書
1.污泥干化除塵自動反清理裝置,其特征在于,包括除塵箱(1),除塵箱(1)內下端設有傾斜導板(2),傾斜導板(2)將除塵箱(1)分為下部的換熱腔(3)和上部的除塵腔(4),換熱腔(3)一側壁上端設有換熱介質入口(5)且另外一側壁下端設有換熱介質出口(6),除塵箱(1)底部設有進氣管(7),進氣管(7)穿過換熱腔(3)并伸出傾斜導板(2)上端,除塵箱(1)側壁上在傾斜導板(2)較低一側設有排污口(8),除塵箱(1)側壁上在傾斜導板(2)較高一側設有沖洗管(9),除塵腔(4)內安裝有若干除塵網袋組件(10),每個除塵網袋組件(10)內均設有反吹管(11),反吹管(11)側壁上設有若干反吹口(12)。
2.根據權利要求1所述的污泥干化除塵自動反清理裝置,其特征在于,除塵網袋組件(10)包括環形頂板(101),環形頂板(101)底部設有除塵網袋(102)。
3.根據權利要求2所述的污泥干化除塵自動反清理裝置,其特征在于,除塵箱(1)頂部搭設有支撐板(13),支撐板(13)上搭設有蓋板(14),支撐板(13)上開設有若干T形孔,蓋板(14)上開設有若干倒T形孔,環形頂板(101)夾裝在支撐板(13)T形孔與蓋板(14)倒T形孔組成的空腔中。
4.根據權利要求3所述的污泥干化除塵自動反清理裝置,其特征在于,蓋板(14)底部設有固定螺栓(15),固定螺栓(15)穿過支撐板(13)、除塵箱(1)頂端版之后通過螺母(16)固定。
5.根據權利要求4所述的污泥干化除塵自動反清理裝置,其特征在于,蓋板(14)上插設有頂帽(17),頂帽(17)上設有排氣口(18),反吹管(11)固設并穿出頂帽(17)外。
6.根據權利要求5所述的污泥干化除塵自動反清理裝置,其特征在于,頂帽(17)上設有提升把手(19)。
7.根據權利要求6所述的污泥干化除塵自動反清理裝置,其特征在于,進氣管(7)位于換熱腔(3)內的部分成蛇形彎曲結構。
8.根據權利要求7所述的污泥干化除塵自動反清理裝置,其特征在于,進氣管(7)穿出傾斜導板(2)的一端為T形結構。
發明內容
本發明旨在解決現有技術的不足,而提供一種污泥干化除塵自動反清理裝置。
本發明為實現上述目的,采用以下技術方案:
污泥干化除塵自動反清理裝置,包括除塵箱,除塵箱內下端設有傾斜導板,傾斜導板將除塵箱分為下部的換熱腔和上部的除塵腔,換熱腔一側壁上端設有換熱介質入口且另外一側壁下端設有換熱介質出口,除塵箱底部設有進氣管,進氣管穿過換熱腔并伸出傾斜導板上端,除塵箱側壁上在傾斜導板較低一側設有排污口,除塵箱側壁上在傾斜導板較高一側設有沖洗管,除塵腔內安裝有若干除塵網袋組件,每個除塵網袋組件內均設有反吹管,反吹管側壁上設有若干反吹口。
除塵網袋組件包括環形頂板,環形頂板底部設有除塵網袋。
除塵箱頂部搭設有支撐板,支撐板上搭設有蓋板,支撐板上開設有若干T形孔,蓋板上開設有若干倒T形孔,環形頂板夾裝在支撐板T形孔與蓋板倒T形孔組成的空腔中。
蓋板底部設有固定螺栓,固定螺栓穿過支撐板、除塵箱頂端版之后通過螺母固定。
蓋板上插設有頂帽,頂帽上設有排氣口,反吹管固設并穿出頂帽外。
頂帽上設有提升把手。
進氣管位于換熱腔內的部分成蛇形彎曲結構。
進氣管穿出傾斜導板的一端為T形結構。
本發明的有益效果是:本發明可以將污泥干化機處理的尾氣經由穿過換熱腔的進氣管進入除塵腔內部,這樣進氣管內的高溫氣體會與換熱腔內的介質進行熱交換,進行熱量的回收利用;設置了反吹管和反吹口可以定期的對除塵網袋組件進行反吹作業,避免其堵塞;截留后的粉塵顆粒以及反吹后的顆粒沉降在傾斜導板上之后,可以通過沖洗管從排污口排出。
(發明人:郭振明)






