公布日:2023.11.03
申請日:2023.08.02
分類號:F28D7/04(2006.01)I;C02F1/00(2023.01)I;F28F19/01(2006.01)I;F28G3/10(2006.01)I;F28G15/04(2006.01)I;F28F9/00(2006.01)I;C02F103/30(2006.01)N
摘要
本申請涉及廢水利用的技術領域,提供了印染降溫廢水循環利用設備,其包括用于與印染廢水進行換熱的換熱箱以及將換熱后的印染廢水進行凈化過濾的過濾箱,所述換熱箱內置有換熱水管,所述換熱箱穿設有供廢水進入的第一進水管和將換熱后的印染廢水排到過濾箱的第一出水管,所述換熱箱穿設有供自來水進入到換熱水管的第二進水管和用于將換熱后的水排出的第二出水管,所述第二進水管和第二出水管分別連通于換熱水管的兩端;所述第一進水管內設置有過濾件,所述換熱箱內設置有用于對換熱水管上的沉淀物進行清理的清理機構。本申請具有提高換熱水管中水和印染廢水之間的換熱效果的有益效果。

權利要求書
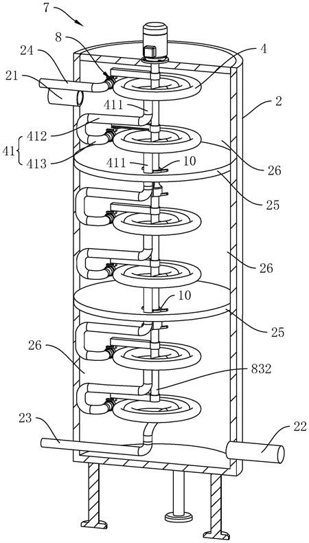
1.印染降溫廢水循環利用設備,其特征在于:包括用于與印染廢水進行換熱的換熱箱(2)以及將換熱后的印染廢水進行凈化過濾的過濾箱(3),所述換熱箱(2)內置有換熱水管(4),所述換熱箱(2)穿設有供廢水進入的第一進水管(21)和將換熱后的印染廢水排到過濾箱(3)的第一出水管(22),所述換熱箱(2)穿設有供自來水進入到換熱水管(4)的第二進水管(23)和用于將換熱后的水排出的第二出水管(24),所述第二進水管(23)和第二出水管(24)分別連通于換熱水管(4)的兩端;所述第一進水管(21)內設置有過濾件(211),所述換熱箱(2)內設置有用于對換熱水管(4)上的沉淀物進行清理的清理機構(7),所述清理機構(7)包括用于對換熱水管(4)外的沉淀物進行清理的第一清理組件(8)以及用于對換熱水管(4)內的沉淀物進行清理的第二清理組件(9)。
2.根據權利要求1所述的印染降溫廢水循環利用設備,其特征在于:所述換熱水管(4)呈蚊香盤管設置,所述第一清理組件(8)包括套設于換熱水管(4)的清理環(81)、同軸設置于清理環(81)內周壁的第一清理刮環(82)以及驅動清理環(81)沿著換熱水管(4)的管道走向滑移的驅動件(83)。
3.根據權利要求2所述的印染降溫廢水循環利用設備,其特征在于:所述驅動件(83)包括設置于所述換熱箱(2)外的驅動電機(831)以及設置于換熱箱(2)內與驅動電機(831)同軸固定連接的轉動軸(832),所述第一清理組件(8)還包括用于將清理環(81)和轉動軸(832)連接的安裝部(84),所述安裝部(84)包括設置于所述轉動軸(832)的支撐桿(841)以及設置于支撐桿(841)的安裝桿(842),所述支撐桿(841)設置于換熱水管(4)的上方,所述支撐桿(841)靠近所述換熱水管(4)的表面沿其長度方向開設有第一滑槽(8411),所述安裝桿(842)的上部滑移連接于第一滑槽(8411),所述安裝桿(842)的下部設置于所述清理環(81)。
4.根據權利要求3所述的印染降溫廢水循環利用設備,其特征在于:所述第二清理組件(9)包括內置于所述換熱水管(4)內的清理內管(91)以及同軸套設于清理內管(91)外周壁的第二清理刮環(92),所述第二清理刮環(92)抵接于換熱水管(4)的內周壁,所述清理內管(91)磁性連接于所述清理環(81),所述換熱水管(4)由銅管制成。
5.根據權利要求4所述的印染降溫廢水循環利用設備,其特征在于:所述清理內管(91)的長度大于所述換熱水管(4)的內直徑,所述清理內管(91)沿其長度方向呈弧形設置,且清理內管(91)的外周壁沿其軸線開設有變形槽(911),所述變形槽(911)設置有若干個且沿清理內管(91)的長度方向間隔設置,所述變形槽(911)沿其軸線方向的橫截面呈弧形設置,所述清理內管(91)遠離變形槽(911)的外周壁開設有與變形槽(911)對稱設置的避讓槽(912),所述第二清理刮環(92)設置有若干個且同軸套設于清理內管(91)。
6.根據權利要求3所述的印染降溫廢水循環利用設備,其特征在于:所述換熱箱(2)內置有隔板(25),所述隔板(25)沿換熱箱(2)的高度方向設置有若干個,若干個隔板(25)以將換熱箱(2)的內部分隔為若干個換熱室(26),所述換熱室(26)均內置有換熱水管(4),所述隔板(25)上貫穿開設有通孔(251)以連通相鄰的換熱室(26),所述隔板(25)上設置有對通孔(251)進行啟閉的啟閉件;相鄰的換熱水管(4)之間設有連接部(41)以進行連通,所述第一進水管(21)和所述第二出水管(24)均設置于所述換熱箱(2)的上部,所述第一出水管(22)和所述第二進水管(23)均設置于換熱箱(2)的下部。
7.根據權利要求6所述的印染降溫廢水循環利用設備,其特征在于:所述換熱水管(4)的中部留有供所述轉動軸(832)穿設的通槽(42),轉動軸(832)延伸至位于最下方的換熱水管(4)的上方,所述連接部(41)包括連通于換熱水管(4)位于最內圈的端部的第一連通管(411)、設置于第一連通管(411)的第二連通管(412)以及設置于第二連通管(412)的第三連通管(413),所述第一連通管(411)的長度方向平行于所述轉動軸(832)的長度方向,所述第二連通管(412)的長度方向垂直于第一連通管(411)的長度方向,所述第三連通管(413)平行于第一連通管(411)的長度方向,所述第二連通管(412)和第三通管之間留有供所述安裝部(84)放置的空腔,所述支撐桿(841)的長度小于轉動軸(832)和第三連通管(413)之間的間距。
8.根據權利要求7所述的印染降溫廢水循環利用設備,其特征在于:所述啟閉件為同軸套設于所述轉動軸(832)外的密封套(10),所述密封套(10)的外周壁抵接于所述通孔(251)的內周壁,所述密封套(10)的中部繞其自身軸線開設有連通于所述通孔(251)的流通槽(101),所述流通槽(101)的直徑自中部朝密封套(10)的兩端逐漸減小,以使得密封套(10)的中部呈腰型設置;所述密封套(10)的外周壁凸出設置有滑移條(102),所述隔板(25)位于所述通孔(251)的內周壁開設有滑移條(102)滑移的第二滑槽(252),所述第二滑槽(252)延伸至隔板(25)相對兩表面,所述轉動軸(832)的外周壁開設有供密封套(10)螺紋連接的螺紋段(8321),所述密封套(10)的兩端均設置有抵接于隔板(25)的限制塊,所述密封套(10)的數量與隔板(25)數量相同,所述密封套(10)的長度自上而下逐漸減小。
9.根據權利要求7所述的印染降溫廢水循環利用設備,其特征在于:所述換熱水管(4)的內直徑大于所述第二出水管(24)的內直徑,且大于所述第一連通管(411)的內直徑。
10.根據權利要求4所述的印染降溫廢水循環利用設備,其特征在于:所述清理環(81)設置有若干個且沿所述支撐桿(841)的長度方向間隔設置,所述清理內管(91)的數量與清理環(81)的數量相同。
發明內容
為了提高換熱水管中水和印染廢水之間的換熱效果,本申請提供印染降溫廢水循環利用設備。
本申請提供的印染降溫廢水循環利用設備,采用如下的技術方案:印染降溫廢水循環利用設備,包括用于與印染廢水進行換熱的換熱箱以及將換熱后的印染廢水進行凈化過濾的過濾箱,所述換熱箱內置有換熱水管,所述換熱箱穿設有供廢水進入的第一進水管和將換熱后的印染廢水排到過濾箱的第一出水管,所述換熱箱穿設有供自來水進入到換熱水管的第二進水管和用于將換熱后的水排出的第二出水管,所述第二進水管和第二出水管分別連通于換熱水管的兩端;所述第一進水管內設置有過濾件,所述換熱箱內設置有用于對換熱水管上的沉淀物進行清理的清理機構,所述清理機構包括用于對換熱水管外的沉淀物進行清理的第一清理組件以及用于對換熱水管內的沉淀物進行清理的第二清理組件。
通過采用上述技術方案,將染色機中的印染廢水通過第一進水管進入到換熱箱前,先通過第一進水管內設置的過濾件以對印染廢水中的一些較大的物質進行初步過濾,以減少換熱箱中沉淀物的堆積,進而以減少換熱水管的外周壁上沉淀物的堆積,以提高換熱水管中水和印染廢水之間的換熱效果;接著將初步過濾的印染廢水隨著第一進水管進入到換熱箱中的同時,通過第二進水管對換熱水管內進行通水,通過將換熱水管浸泡在印染廢水中,以進行換熱,將換熱過后的印染廢水通過第一出水管排到過濾箱中進行凈化過濾后,以作為其他用水進行循環利用;而此時換熱水管中進行換熱的水通過第二出水管通入到其他需要較熱的水的設備中。
由于換熱水管浸泡在印染廢水中進行換熱,此時換熱水管的外周壁附著有沉淀物,可隨著此時印染廢水還在換熱箱中時,通過第一清理組件以對換熱水管外周壁上的沉淀物進行清理,以減少換熱水管外周壁上的沉淀物沉積,從而以提高換熱水管中水和印染廢水之間的換熱效果;且由于換熱水管內的水在升溫的過程中,會析出一定的沉淀物并附著于換熱水管的內周壁上,也會影響換熱水管內水和印染廢水之間的換熱效果,此時通過第二清理組件以對換熱水管的內周壁上的沉淀物進行清理,從而以減少換熱水管內周壁上的沉淀物沉積,從而以提高換熱水管中水和印染廢水之間的換熱效果。
優選的,所述換熱水管呈蚊香盤管設置,所述第一清理組件包括套設于換熱水管的清理環、同軸設置于清理環內周壁的第一清理刮環以及驅動清理環沿著換熱水管的管道走向滑移的驅動件。
通過采用上述技術方案,通過將換熱水管呈蚊香盤管的設置,可便于啟動驅動件以帶動清理環沿著換熱水管的管道走向滑移,從而以帶動第一清理刮環對換熱水管的外周壁上的沉淀物進行刮除,使得刮取的沉淀物隨后一同進入到過濾箱箱中進行凈化過濾。
優選的,所述驅動件包括設置于所述換熱箱外的驅動電機以及設置于換熱箱內與驅動電機同軸固定連接的轉動軸,所述第一清理組件還包括用于將清理環和轉動軸連接的安裝部,所述安裝部包括設置于所述轉動軸的支撐桿以及設置于支撐桿的安裝桿,所述支撐桿設置于換熱水管的上方,所述支撐桿靠近所述換熱水管的表面沿其長度方向開設有第一滑槽,所述安裝桿的上部滑移連接于第一滑槽,所述安裝桿的下部設置于所述清理環。
通過采用上述技術方案,啟動驅動電機,以帶動轉動軸的轉動,依次帶動支撐桿繞轉動軸的軸線轉動,由于換熱水管呈蚊香盤管設置,其每圈的曲率有所改變,此時通過在支撐桿上開設有供支撐桿滑移連接的第一滑槽,從而可帶動與安裝桿連接的清理環適應于換熱水管的管道走向進行滑移,從而以對換熱水管的外周壁進行清理,以減少換熱水管外周壁上的沉淀物,進而以提高換熱水管中水和印染廢水之間的換熱效果。
優選的,所述第二清理組件包括內置于所述換熱水管內的清理內管以及同軸套設于清理內管外周壁的第二清理刮環,所述第二清理刮環抵接于換熱水管的內周壁,所述清理內管磁性連接于所述清理環,所述換熱水管由銅管制成。
通過采用上述技術方案,通過啟動驅動件,在第一清理刮環對換熱水管外周壁進行清理時,由于清理內管磁性連接于清理環,可隨著清理環沿著換熱水管的管道走向滑移時,一同沿著換熱水管的管道走向滑移,以使得設置于清理內管上的第二清理刮環對換熱水管的內周壁進行清理,從而以提高換熱水管中水和印染廢水之間的換熱效果。
優選的,所述清理內管的長度大于所述換熱水管的內直徑,所述清理內管沿其長度方向呈弧形設置,且清理內管的外周壁沿其軸線開設有變形槽,所述變形槽設置有若干個且沿清理內管的長度方向間隔設置,所述變形槽沿其軸線方向的橫截面呈弧形設置,所述清理內管遠離變形槽的外周壁開設有與變形槽對稱設置的避讓槽,所述第二清理刮環設置有若干個且同軸套設于清理內管。
通過采用上述技術方案,由于清理內管內置于換熱水管中,且清理內管與清理環之間通過磁性連接,若是清理內管的長度小于換熱水管的內直徑,隨著換熱水管中的水進入到換熱水管中時,容易將原來與換熱水管同軸設置的清理內管受水流影響出現偏轉的可能,使得清理內管不易與換熱水管同軸設置,因此通過將清理內管的長度大于換熱水管的內直徑,從而以減少清理內管受水流的影響出現偏轉的可能;且由于將清理內管的長度大于換熱水管的內直徑,隨著清理內管沿著換熱水管的管道走向滑移時,其換熱水管的管道的曲率有所改變,此時為了使得清理內管較為容易的順著換熱水管的管道走向滑移,將清理內管的外周壁沿其軸線開設有變形槽,且清理內管遠離變形槽的外周壁開設有與變形槽對稱設置的避讓槽,從而可使得其在滑移的過程中可隨著換熱水管的管道的曲率變化而改變,以對換熱水管位于內圈的內周壁進行清理。
優選的,所述換熱箱內置有隔板,所述隔板沿換熱箱的高度方向設置有若干個,若干個隔板以將換熱箱的內部分隔為若干個換熱室,所述換熱室均內置有換熱水管,所述隔板上貫穿開設有通孔以連通相鄰的換熱室,所述隔板上設置有對通孔進行啟閉的啟閉件;相鄰的換熱水管之間設有連接部以進行連通,所述第一進水管和所述第二出水管均設置于所述換熱箱的上部,所述第一出水管和所述第二進水管均設置于換熱箱的下部。
通過采用上述技術方案,通過設置有隔板以將換熱室的內部分割若干個換熱室,換熱室內均設置有換熱水管,且由于第一進水管和第二出水管均設置于換熱箱的上部,第一出水管和第二進水管均設置于換熱箱的下部,可使得印染廢水從換熱箱的上部進入到位于上方的換熱室中,并與換熱室中的換熱水管之間先進行換熱,換熱一定時間后,此時換熱室中的換熱水管中的水和印染廢水之間換熱的溫度達到一定的恒定值;但是相較于一開始換熱水管中水的溫度,此時印染廢水的溫度還是較高的,此時啟動隔板上的啟閉件以將通孔打開,從而以將此時的印染廢水流通到下一個換熱室中與換熱室中的換熱水管中進行換熱,以將印染廢水中的熱量進行再吸收,以減少印染廢水中的熱量流失;且由于換熱水管中的水溫是自下而上逐漸升溫的,可減少熱交換時由于溫差過大所導致的熱量損失。
因此,通過分段換熱后,可提高對換熱水管中水與印染廢水之間的換熱效果。
優選的,所述換熱水管的中部留有供所述轉動軸穿設的通槽,轉動軸延伸至位于最下方的換熱水管的上方,所述連接部包括連通于換熱水管位于最內圈的端部的第一連通管、設置于第一連通管的第二連通管以及設置于第二連通管的第三連通管,所述第一連通管的長度方向平行于所述轉動軸的長度方向,所述第二連通管的長度方向垂直于第一連通管的長度方向,所述第三連通管平行于第一連通管的長度方向,所述第二連通管和第三通管之間留有供所述安裝部放置的空腔,所述支撐桿的長度小于轉動軸和第三連通管之間的間距。
通過采用上述技術方案,由于設置有若干個換熱水管,此時相對應設置有若干個清理環和清理內管,為使得若干個設置于轉動軸上的安裝部可順利繞轉動軸的軸向轉動,即帶動若干個換熱水管上的清理環對其進行清理,通過將第二連通管和第三連通管之間留有供安裝部放置的空腔,并將支撐桿的長度小于轉動軸和第三連通管之間的間距,從而可減少支撐桿轉動的過程中受到連接部的阻礙的可能,且以便于通過設置一個驅動電機以帶動若干個安裝部的轉動,進而以對多個換熱水管進行清理,減少需要根據換熱水管的個數以設置有若干個驅動源的可能。
優選的,所述啟閉件為同軸套設于所述轉動軸外的密封套,所述密封套的外周壁抵接于所述通孔的內周壁,所述密封套的中部繞其自身軸線開設有連通于所述通孔的流通槽,所述流通槽的直徑自中部朝密封套的兩端逐漸減小,以使得密封套的中部呈腰型設置;所述密封套的外周壁凸出設置有滑移條,所述隔板位于所述通孔的內周壁開設有滑移條滑移的第二滑槽,所述第二滑槽延伸至隔板相對兩表面,所述轉動軸的外周壁開設有供密封套螺紋連接的螺紋段,所述密封套的兩端均設置有抵接于隔板的限制塊,所述密封套的數量與隔板數量相同,所述密封套的長度自上而下逐漸減小。
通過采用上述技術方案,由于設置有若干個換熱室,為使得換熱室之間的換熱的印染廢水之間不相互連通后進行換熱以使得印染廢水中的熱量損失,需要將位于上一個換熱室中的印染廢水流入到當前換熱室時,當前換熱室中的印染廢水已流入到下一個換熱室中。
具體操作為,先將位于最下方的換熱室的印染廢水排出,當此時清理環位于換熱水管的最外圈時,驅動電機正轉,以帶動清理環沿著換熱水管的管道走向移動,從而以帶動清理環朝換熱水管的內圈移動,此時位于最下方的密封套的上部隨著滑移條隨著轉動軸的轉動,從而沿著第二滑槽向上滑移,當滑移到使得位于中部的流通槽與隔板上的通孔連通,從而以使得上一個換熱室中的印染廢水流入到當前換熱室中,當流通完后,此時隨著轉動軸的繼續正向轉動,由于流通槽呈腰型設置,隨著密封套的逐漸上升,以使得密封套的下部抵接于通孔后,且由于密封套上設置有限位塊,可限制密封套繼續隨著轉動套的轉動繼續上升,從而以對最下方的隔板上的通孔繼續密封,以將上一個換熱室中流入到當前換熱室中的印染廢水進行暫時封存。
由于若干個密封套的長度自身而下逐漸減小,從上以對每個隔板上的通孔進行分開啟閉,以減少一同啟閉的可能,從而以實現當前換熱室中的印染廢水流入到下一個換熱室后,才可使得上一個換熱室中的印染廢水流入到當前的換熱室中,從而以減少相鄰的換熱室中的印染廢水之間相互熱交換的可能,進而以減少熱量損失,從而以提高對印染廢水的換熱效果。
優選的,所述換熱水管的內直徑大于所述第二出水管的內直徑,且大于所述第一連通管的內直徑。
通過采用上述技術方案,由于清理內管與清理環之間通過磁性連接,隨著水流沖擊,可能使得清理內管出現脫離的可能,在脫離后,為減少清理內管流動到第一連接管或是第三連接管中,此時將換熱水管的內直徑大于第二出水管的內直徑,且大于第一連通管的內直徑,由于第二清理刮環抵接于換熱水管的內周壁,從而使得第二清理刮環的外直徑大于第一連通管的內直徑,且大于第三連通管的內直徑,可減少清理內環和清理環之間的磁吸效果。
優選的,所述清理環設置有若干個且沿所述支撐桿的長度方向間隔設置,所述清理內管的數量與清理環的數量相同。
通過采用上述技術方案,通過設置有若干個清理環,可在驅動電機轉動一圈時,對換熱水管上多圈的管進行清理,從而以加快清理速率,且減少轉動軸的轉動次數。
綜上所述,本發明具有以下有益效果:1、通過在第一進水管內設置有過濾件,可先對印染廢水流入到換熱箱中時進行初步過濾,以減少換熱箱中沉淀物的堆積,并且通過設置有第一清理組件和第二清理組件,分別對換熱水管外周壁和換熱水管內周壁上的沉淀物進行清理,以減少換熱水管外周壁和內周壁上的沉淀物沉積,從而以提高換熱水管中水和印染廢水之間的換熱效果。
2、通過設置有隔板以將換熱室的內部分割若干個換熱室,并設置有啟閉件,以將印染廢水進行分段換熱,從而可提高對換熱水管中水與印染廢水之間的換熱效果。
(發明人:張國平)






