公布日:2023.09.19
申請日:2023.07.14
分類號:C02F11/13(2019.01)I;B01D50/60(2022.01)I;B01D53/78(2006.01)I;B01D53/58(2006.01)I;B01D53/52(2006.01)I;B01D53/26(2006.01)I;B01D50/20(2022.01)I;
B01D1/00(2006.01)I;B01D5/00(2006.01)I
摘要
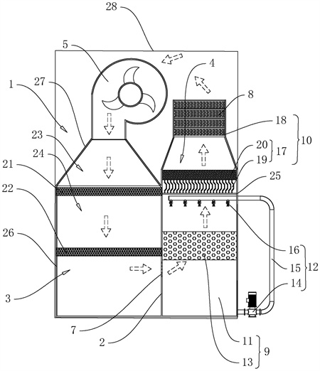
本申請涉及污泥處理的技術領域,尤其是涉及一種污泥低溫帶式干化機,其包括設置于烘房內的機體,機體內設置有分隔板,分隔板將機體內腔劃分為干化室和凈化室,機體靠近干化室一側設置有用于將氣體引入干化室內的循環風機,干化室內設置有供污泥放置的網帶組件,分隔板遠離網帶組件一端設置有用于連通干化室和凈化室的氣體通道,氣體通道內壁設置有板式過濾器,機體靠近凈化室一側設置有用于給氣體加熱的冷凝器,冷凝器的出氣口與循環風機的進氣口連通,凈化室內設置有過濾氣體的除塵裝置,冷凝器靠近除塵裝置一側設置有除濕裝置。本申請可以優化干化機的除塵效果。

權利要求書
1.一種污泥低溫帶式干化機,包括設置于烘房內的機體(1),其特征在于,所述機體(1)內設置有分隔板(2),所述分隔板(2)將所述機體(1)內腔劃分為干化室(3)和凈化室(4),所述機體(1)靠近所述干化室(3)一側設置有用于將氣體引入所述干化室(3)內的循環風機(5),所述干化室(3)內設置有供污泥放置的網帶組件(6),所述分隔板(2)遠離所述網帶組件(6)一端設置有用于連通所述干化室(3)和所述凈化室(4)的氣體通道,所述氣體通道內壁設置有板式過濾器(7),所述機體(1)靠近所述凈化室(4)一側設置有用于給氣體加熱的冷凝器(8),所述冷凝器(8)的出氣口與所述循環風機(5)的進氣口連通,所述凈化室(4)內設置有過濾氣體的除塵裝置(9),所述冷凝器(8)靠近所述除塵裝置(9)一側設置有除濕裝置(10)。
2.根據權利要求1所述的一種污泥低溫帶式干化機,其特征在于,所述除塵裝置(9)包括設置于所述凈化室(4)底部的水槽(11)、設置于所述凈化室(4)內且與所述水槽(11)連通的噴淋組件(12)、設置于所述噴淋組件(12)和所述水槽(11)之間的塑料填料層(13),所述噴淋組件(12)向所述塑料填料層(13)表面噴灑水,形成用于吸收粉塵的水膜。
3.根據權利要求2所述的一種污泥低溫帶式干化機,其特征在于,所述噴淋組件(12)包括設置于所述機體(1)外壁靠近所述水槽(11)一側且與所述水槽(11)連通的水泵(14)、一端設置于所述水泵(14)上且另一端設置于所述凈化室(4)內的管道(15)、設置于所述管道(15)靠近所述塑料填料層(13)一側的霧化噴頭(16)。
4.根據權利要求2所述的一種污泥低溫帶式干化機,其特征在于,所述除濕裝置(10)包括設置于所述噴淋組件(12)靠近所述冷凝器(8)一側的除霧件(17)、設置于所述冷凝器(8)靠近所述除霧件(17)一側的蒸發器(18)。
5.根據權利要求4所述的一種污泥低溫帶式干化機,其特征在于,所述除霧件(17)包括設置于所述噴淋組件(12)靠近所述冷凝器(8)一側的折板除霧器(19)、設置于所述折板除霧器(19)靠近所述蒸發器(18)一側的絲網除霧器(20)。
6.根據權利要求1所述的一種污泥低溫帶式干化機,其特征在于,所述網帶組件(6)包括沿所述干化室(3)豎直方向并列設置的第一網帶(21)和第二網帶(22),所述第一網帶(21)靠近所述循環風機(5)一側與所述機體(1)內壁構成供污泥放置的第一容納腔室(23)、所述第一網帶(21)和所述第二網帶(22)之間的間隙構成供污泥放置的第二容納腔室(24)。
7.根據權利要求6所述的一種污泥低溫帶式干化機,其特征在于,所述第一網帶(21)和所述第二網帶(22)均為網狀結構,且所述第一網帶(21)和所述第二網帶(22)均與所述干化室(3)內壁轉動連接。
8.根據權利要求1所述的一種污泥低溫帶式干化機,其特征在于,所述機體(1)包括供所述除塵裝置(9)放置的凈化部(25)、供所述網帶組件(6)放置的干化部(26)、設置于所述干化部(26)靠近所述循環風機(5)一側的導風部(27),所述導風部(27)呈喇叭狀,所述導風部(27)靠近所述循環風機(5)一側的長度小于所述導風部(27)遠離所述循環風機(5)一側的長度。
發明內容
為了優化干化機的除塵效果,本申請提供一種污泥低溫帶式干化機。
本申請提供的一種污泥低溫帶式干化機,采用如下的技術方案:一種污泥低溫帶式干化機,包括設置于烘房內的機體,所述機體內設置有分隔板,所述分隔板將所述機體內腔劃分為干化室和凈化室,所述機體靠近所述干化室一側設置有用于將氣體引入所述干化室內的循環風機,所述干化室內設置有供污泥放置的網帶組件,所述分隔板遠離所述網帶組件一端設置有用于連通所述干化室和所述凈化室的氣體通道,所述氣體通道內壁設置有板式過濾器,所述機體靠近所述凈化室一側設置有用于給氣體加熱的冷凝器,所述冷凝器的出氣口與所述循環風機的進氣口連通,所述凈化室內設置有過濾氣體的除塵裝置,所述冷凝器靠近所述除塵裝置一側設置有除濕裝置。
通過采用上述技術方案,機體是安裝烘房內,烘房內的溫度比外界溫度高,起到保溫的效果。分隔板將機體內腔劃分為干化室和凈化室,循環風機將經過冷凝器加熱的熱氣體吸入到干化室內,熱氣體對網帶組件上的污泥進行烘干,污泥在加熱的脫水的過程中會產生部分粉塵;熱氣體和粉塵混合后組成混合氣體,混合氣體通過板式過濾器過濾掉大顆粒的粉塵后進入到凈化室,再通過凈化室內的除塵裝置過濾掉小顆粒粉塵;得到凈化后的氣體流向除濕裝置進行除濕后,再由冷凝器進一步加熱后,通過循環風機吸入干化室內,使得烘房內的氣體得到循環利用;本申請中的方案通過板式過濾器和除塵裝置的對氣體的雙層過濾,以及除濕裝置干燥氣體后再由冷凝器加熱氣體,改善了濕度較大的氣體帶領粉塵堵塞在冷凝器上的情況,從而優化干化機的除塵效果。
可選的,所述除塵裝置包括設置于所述凈化室底部的水槽、設置于所述凈化室內且與所述水槽連通的噴淋組件、設置于所述噴淋組件和所述水槽之間的塑料填料層,所述噴淋組件向所述塑料填料層表面噴灑水,形成用于吸收粉塵的水膜。
通過采用上述技術方案,噴淋組件吸取水槽內水,將水噴灑在塑料填料層上,形成水膜的形態,含塵的氣體與水膜接觸后,小顆粒粉塵與水膜融合后,帶著粉塵的水流入水槽內;本申請中的方案可以將氣體中小顆粒的粉塵進行過濾,提高干化機內對氣體的除塵效果。
可選的,所述噴淋組件包括設置于所述機體外壁靠近所述水槽一側且與所述水槽連通的水泵、一端設置于所述水泵上且另一端設置于所述凈化室內的管道、設置于所述管道靠近所述塑料填料層一側的霧化噴頭。
通過采用上述技術方案,噴淋組件通過水泵抽取水槽內的水,通過管道將水運輸到塑料填料層上方,再通過霧化噴頭將水霧化后噴灑在塑料填料層上,形成水膜的形態,對氣體灰塵進行吸附,提高氣體的凈化度。
可選的,所述除濕裝置包括設置于所述噴淋組件靠近所述冷凝器一側的除霧件、設置于所述冷凝器靠近所述除霧件一側的蒸發器。
通過采用上述技術方案,濕度較大的氣體穿過除霧件,對氣體內的水分進行消耗,再通過蒸發器對氣體進行降溫處理,將氣體內的水分析出,進一步降低氣體的濕度,析出來的水分通過重力作用流向水槽一側。
可選的,所述除霧件包括設置于所述噴淋組件靠近所述冷凝器一側的折板除霧器、設置于所述折板除霧器靠近所述蒸發器一側的絲網除霧器。
通過采用上述技術方案,除霧件采用折板除霧器和絲網除霧器的組合,折板除霧器由多個波形板組合而成,當濕度較大的氣體以一定的速度通過波形板時,由于氣體的慣性沖擊,與波形板發生碰撞時,液滴從波形板的表面分離,達到除霧的效果;氣體經過絲網除霧器的絲網時,液滴碰到絲網上,被粘附或吸附下來,液滴在重力的作用下跌落下來;本申請中的方案,濕度較大的氣體先通過折板除霧器將大顆粒的水分進行去除,再通過絲網除霧器將小顆粒的水分進行去除,提高氣體的除濕效果。
可選的,所述網帶組件包括沿所述干化室豎直方向并列設置的第一網帶和第二網帶,所述第一網帶靠近所述循環風機一側與所述機體內壁構成供污泥放置的第一容納腔室、所述第一網帶和所述第二網帶之間的間隙構成供污泥放置的第二容納腔室。
通過采用上述技術方案,第一網帶和第二網帶用于污泥的進出,便于循環風機通入的熱空氣對第一網帶和第二網帶上的污泥進行加熱烘干。
可選的,所述第一網帶和所述第二網帶均為網狀結構,且所述第一網帶和所述第二網帶均與所述干化室內壁轉動連接。
通過采用上述技術方案,第一網帶和第二網帶設為網狀結構,便于氣體的流動,加速污泥的干化,第一網帶和第二網帶均與干化室內壁轉動連接,便于污泥的進出。
可選的,所述機體包括供所述除塵裝置放置的凈化部、供所述網帶組件放置的干化部、設置于所述干化部靠近所述循環風機一側的導風部,所述導風部呈喇叭狀,所述導風部靠近所述循環風機一側的長度小于所述導風部遠離所述循環風機一側的長度。
通過采用上述技術方案,導風部呈喇叭狀,對循環風機的引入的熱氣體進行導向,使得氣體更為均勻的吹向網帶組件,促進污泥干化的效率。
綜上所述,本申請包括以下至少一種有益技術效果:1.本申請中的方案通過板式過濾器和除塵裝置的對氣體的雙層過濾,以及除濕裝置干燥氣體后再由冷凝器加熱氣體,改善了濕度較大的氣體帶領粉塵堵塞在冷凝器上的情況,從而優化干化機的除塵效果;2.噴淋組件吸取水槽內水,將水噴灑在塑料填料層上,形成水膜的形態,含塵的氣體與水膜接觸后,小顆粒粉塵與水膜融合后,帶著粉塵的水流入水槽內;本申請中的方案可以將氣體中小顆粒的粉塵進行過濾,提高干化機內對氣體的除塵效果。
(發明人:呂偉;童國斌;王釗;林霞亮;王飛)






