公布日:2023.10.20
申請日:2023.08.23
分類號:C02F1/00(2023.01)I;C02F3/00(2023.01)I;B08B9/087(2006.01)I;B01D29/03(2006.01)I;C02F101/20(2006.01)N
摘要
本發明提供一種重金屬廢水處理的設備及工藝,包括:廢水存儲組件、廢水處理組件、擠壓組件以及驅動組件,所述廢水存儲組件中間通過驅動組件活動安裝有擠壓組件,與現有技術相比,本發明具有如下的有益效果:擠壓組件和驅動組件的設置,驅動組件使用廢水勢能和沖擊力作為動力源,無需再增加其他驅動結構,降低設備的能耗,使其更加環保,符合當下提倡環保的理念,同時驅動擠壓組件在柱筒內部上下移動,位于錐形罩二下端側邊的刷毛會對柱筒內壁進行清潔,同時擠壓組件在上移時帶動柱筒內部以及多個廢水處理組件內部的廢水出現短暫的回流,能夠起到清潔的作用,避免生物濾膜長期工作導致的堵住,大大降低設備后期維護和更換次數。

權利要求書
1.一種重金屬廢水處理的設備,包括:廢水存儲組件(100)、廢水處理組件(200)、擠壓組件(300)以及驅動組件(400),其特征在于,所述廢水存儲組件(100)上側轉動安裝有驅動組件(400),所述廢水存儲組件(100)中間通過驅動組件(400)活動安裝有擠壓組件(300),所述廢水存儲組件(100)下側四周安裝有多個均勻分布的廢水處理組件(200);所述擠壓組件(300)包括錐形罩一(310)、連接桿(320)、錐形罩二(330),所述連接桿(320)上端鉸接有擺動桿,所述連接桿(320)上端通過擺動桿鉸接有轉動連接頭,所述連接桿(320)下側等間距固定有多個錐形罩一(310)、錐形罩二(330),每一個所述錐形罩一(310)下側均固定有一個錐形罩二(330);所述錐形罩一(310)上表面邊緣向下貫穿形成多個呈環形結構分布的貫穿孔(311),所述錐形罩一(310)的直徑從上至下逐漸增大,所述錐形罩二(330)的直徑從上至下逐漸增大,所述錐形罩二(330)上側表面與錐形罩一(310)內壁活動抵接,所述錐形罩二(330)包括柔性連接部(332)、硬質承接部(333)以及刷毛(331),所述硬質承接部(333)的左側、右側、前側以及后側分別通過柔性連接部(332)連接成型,所述硬質承接部(333)的下側邊緣和柔性連接部(332)下側的邊緣均設置有刷毛(331),所述刷毛(331)與柱筒(120)內壁滑動連接;所述驅動組件(400)包括軸桿一(410)、軸桿二(430)、彎桿(420)以及水輪(440),所述軸桿一(410)左端轉動安裝在桶體(110)左側內壁上端,所述軸桿一(410)右端通過聯軸器與彎桿(420)左端固定連接,且所述軸桿一(410)右端與柱筒(120)上端左側轉動連接,所述軸桿二(430)左端通過聯軸器與彎桿(420)右端固定連接,且所述軸桿二(430)左端與柱筒(120)上端右側轉動連接,所述彎桿(420)中間通過轉動連接頭與連接桿(320)上端轉動連接,所述軸桿二(430)右側設置有水輪(440),所述軸桿二(430)右側橫向貫穿濾板(160)。
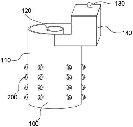
2.如權利要求1所述的一種重金屬廢水處理的設備,其特征在于:所述廢水存儲組件(100)包括桶體(110)、柱筒(120)、進水管(130)、進水部件(140)、錐形擋板(150)以及濾板(160),所述桶體(110)中間固定有柱筒(120),所述桶體(110)上端右側一體設置有進水部件(140),所述進水部件(140)與桶體(110)上端右側之間活動安裝有濾板(160);所述桶體(110)上側固定有錐形擋板(150),所述柱筒(120)下端貫穿錐形擋板(150)中間并向桶體(110)底部延伸,所述進水部件(140)上端后側安裝有進水管(130),所述進水管(130)一端延伸至進水部件(140)內部,且所述進水管(130)的另一端與廢水抽泵連接。
3.如權利要求2所述的一種重金屬廢水處理的設備,其特征在于:所述桶體(110)內壁與柱筒(120)外壁之間設置有凈水腔(111),所述凈水腔(111)底部左側、右側分別設置有一個排水管一(112),所述柱筒(120)下端外壁向內均勻分布有多個連接孔,所述柱筒(120)底部設置有排水管二(121),所述排水管二(121)下端貫穿桶體(110)底部中間,所述柱筒(120)內部上側安裝有導向部件(123),所述導向部件(123)包括固定板和導向筒,所述導向筒焊接在固定板上側中間,所述導向筒內部設置有貫穿腔,且所述貫穿腔向下延伸貫穿固定板中間,所述柱筒(120)上端左側、右側分別向內開設有一個進水口(122),兩個所述進水口(122)均位于錐形擋板(150)底部上側;所述錐形擋板(150)為一種倒置的喇叭形結構,所述錐形擋板(150)上端與進水部件(140)底部齊平,所述進水部件(140)左側與桶體(110)右端連通,所述進水部件(140)頂部設置有頂蓋。
4.如權利要求3所述的一種重金屬廢水處理的設備,其特征在于:所述廢水處理組件(200)包括安裝筒(210)、過濾筒(220)、密封件(230)、過濾件(240),所述安裝筒(210)傾斜六十度安裝在柱筒(120)外壁與桶體(110)內壁之間,且所述安裝筒(210)的外端置于桶體(110)外壁外側,所述安裝筒(210)內部活動插裝有過濾筒(220),所述過濾筒(220)內部活動插裝有過濾件(240),所述安裝筒(210)下端螺紋連接有密封件(230),所述密封件(230)通過密封墊與過濾筒(220)下端抵接。
5.如權利要求4所述的一種重金屬廢水處理的設備,其特征在于:所述安裝筒(210)上端與柱筒(120)外壁固定連接,所述安裝筒(210)上端通過柱筒(120)外壁上的連接孔與柱筒(120)內部連通,所述安裝筒(210)下側向下開設有弧形通槽一(211),所述安裝筒(210)頂部內壁橫向開設有一個導向槽(212),所述導向槽(212)上端不貫穿安裝筒(210)內壁,所述導向槽(212)下端貫穿安裝筒(210)內壁,所述安裝筒(210)下端開口設計,且所述安裝筒(210)下端內壁設置有內螺紋(213);所述過濾筒(220)上端與柱筒(120)外壁密封抵接,所述過濾筒(220)下側開設有弧形通槽二(221),所述弧形通槽二(221)位于弧形通槽一(211)正上側,所述過濾筒(220)頂部設置有定位條(222),所述過濾筒(220)上端開口設計,所述過濾筒(220)上端通過柱筒(120)上的連接孔與柱筒(120)內部連通,所述過濾筒(220)下端密封設計,所述過濾筒(220)內壁前下側、后下側分別開設有一個滑槽;所述過濾件(240)包括安裝框(241)、生物濾膜(242)、卡條(243)以及支撐環(244),所述安裝框(241)上端、下分別一體設置有一個支撐環(244),所述支撐環(244)的外徑與過濾筒(220)的內徑相匹配,所述安裝框(241)的橫截面呈弧形結構,所述安裝框(241)下側安裝有生物濾膜(242),所述安裝框(241)前側、后側分別設置有一個卡條(243),所述卡條(243)的尺寸與過濾筒(220)內壁前下側、后下側的滑槽相匹配;所述密封件(230)包括螺紋柱(231)、密封塊(232)、延伸柱(233),所述螺紋柱(231)外側設置有外螺紋,所述螺紋柱(231)通過外螺紋、內螺紋(213)與安裝筒(210)下端螺紋連接,所述螺紋柱(231)下端設置有密封塊(232),所述密封塊(232)的直徑與安裝筒(210)的直徑相同,所述密封塊(232)下端中間設置有延伸柱(233),所述延伸柱(233)從前向后貫穿形成通孔(234)。
6.如權利要求1-5任一項所述的一種重金屬廢水處理設備的處理工藝,其特征在于:包括如下步驟:a、導入帶有重金屬的廢水:通過抽泵與進水部件(140)上的進水管(130)連接,將帶有重金屬的廢水以高壓高流速的狀態輸送至進水部件(140)內部的水輪(440)后上側,水輪(440)在高壓高流速的廢水沖擊下,發生轉動,進而帶動整個驅動組件(400)進行轉動,在被水輪(440)緩沖后的廢水進入至進水部件(140)內部并通過濾板(160)的初步過濾后,進入至桶體(110)上側的錐形擋板(150)內部,而后經過柱筒(120)上的進水口(122)進入柱筒(120)內部;b、對廢水進行往復增壓:隨著水輪(440)帶動整個驅動組件(400)轉動,彎桿(420)通過轉動連接頭帶動連接桿(320)上下運動,連接桿(320)在導向部件(123)、擺動桿的作用下,進行上下往復的直線運動,進而帶動其上的錐形罩一(310)、錐形罩二(330)上下往復運動,下壓時,錐形罩一(310)、錐形罩二(330)推動柱筒(120)內部的廢水快速向下運動,增大了柱筒(120)內部的水壓,進而使得柱筒(120)內部的廢水快速進入至廢水處理組件(200),并將位于柱筒(120)底部的高濃度廢水通過排水管二(121)導出,反之,則錐形罩一(310)、錐形罩二(330)上移使得柱筒(120)下側的水壓降低,位于廢水處理組件(200)內的廢水出現短暫回流,便于將高濃度的重金屬廢水回流至柱筒(120)內部;c、生物膜過濾:在廢水位于過濾筒(220)內部后,在錐形罩一(310)、錐形罩二(330)下壓水時,過濾筒(220)內部的水壓短暫增大,使得其內部重金屬廢水中的水快速通過生物濾膜(242),將廢水中的重金屬截留下來,過濾完的水通過排水管一(112)排出,實現重金屬與水的分離,達到重金屬廢水處理的目的。
發明內容
針對現有技術存在的不足,本發明目的是提供一種重金屬廢水處理的設備及工藝,解決上述背景技術中提出的問題。
本發明通過以下的技術方案實現:一種重金屬廢水處理的設備,包括:廢水存儲組件、廢水處理組件、擠壓組件以及驅動組件,所述廢水存儲組件上側轉動安裝有驅動組件,所述廢水存儲組件中間通過驅動組件活動安裝有擠壓組件,所述廢水存儲組件下側四周安裝有多個均勻分布的廢水處理組件。
作為一優選的實施方式,所述廢水存儲組件包括桶體、柱筒、進水管、進水部件、錐形擋板以及濾板,所述桶體中間固定有柱筒,所述桶體上端右側一體設置有進水部件,所述進水部件與桶體上端右側之間活動安裝有濾板;
所述桶體上側固定有錐形擋板,所述柱筒下端貫穿錐形擋板中間并向桶體底部延伸,所述進水部件上端后側安裝有進水管,所述進水管一端延伸至進水部件內部,且所述進水管的另一端與廢水抽泵連接。
作為一優選的實施方式,所述桶體內壁與柱筒外壁之間設置有凈水腔,所述凈水腔底部左側、右側分別設置有一個排水管一,所述柱筒下端外壁向內均勻分布有多個連接孔,所述柱筒底部設置有排水管二,所述排水管二下端貫穿桶體底部中間,所述柱筒內部上側安裝有導向部件,所述導向部件包括固定板和導向筒,所述導向筒焊接在固定板上側中間,所述導向筒內部設置有貫穿腔,且所述貫穿腔向下延伸貫穿固定板中間,所述柱筒上端左側、右側分別向內開設有一個進水口,兩個所述進水口均位于錐形擋板底部上側;
所述錐形擋板為一種倒置的喇叭形結構,所述錐形擋板上端與進水部件底部齊平,所述進水部件左側與桶體右端連通,所述進水部件頂部設置有頂蓋。
作為一優選的實施方式,所述廢水處理組件包括安裝筒、過濾筒、密封件、過濾件,所述安裝筒傾斜六十度安裝在柱筒外壁與桶體內壁之間,且所述安裝筒的外端置于桶體外壁外側,所述安裝筒內部活動插裝有過濾筒,所述過濾筒內部活動插裝有過濾件,所述安裝筒下端螺紋連接有密封件,所述密封件通過密封墊與過濾筒下端抵接。
作為一優選的實施方式,所述安裝筒上端與柱筒外壁固定連接,所述安裝筒上端通過柱筒外壁上的連接孔與柱筒內部連通,所述安裝筒下側向下開設有弧形通槽一,所述安裝筒頂部內壁橫向開設有一個導向槽,所述導向槽上端不貫穿安裝筒內壁,所述導向槽下端貫穿安裝筒內壁,所述安裝筒下端開口設計,且所述安裝筒下端內壁設置有內螺紋;
所述過濾筒上端與柱筒外壁密封抵接,所述過濾筒下側開設有弧形通槽二,所述弧形通槽二位于弧形通槽一正上側,所述過濾筒頂部設置有定位條,所述過濾筒上端開口設計,所述過濾筒上端通過柱筒上的連接孔與柱筒內部連通,所述過濾筒下端密封設計,所述過濾筒內壁前下側、后下側分別開設有一個滑槽;
所述過濾件包括安裝框、生物濾膜、卡條以及支撐環,所述安裝框上端、下分別一體設置有一個支撐環,所述支撐環的外徑與過濾筒的內徑相匹配,所述安裝框的橫截面呈弧形結構,所述安裝框下側安裝有生物濾膜,所述安裝框前側、后側分別設置有一個卡條,所述卡條的尺寸與過濾筒內壁前下側、后下側的滑槽相匹配;
所述密封件包括螺紋柱、密封塊、延伸柱,所述螺紋柱外側設置有外螺紋,所述螺紋柱通過外螺紋、內螺紋與安裝筒下端螺紋連接,所述螺紋柱下端設置有密封塊,所述密封塊的直徑與安裝筒的直徑相同,所述密封塊下端中間設置有延伸柱,所述延伸柱從前向后貫穿形成通孔。
作為一優選的實施方式,所述擠壓組件包括錐形罩一、連接桿、錐形罩二,所述連接桿上端鉸接有擺動桿,所述連接桿上端通過擺動桿鉸接有轉動連接頭,所述連接桿下側等間距固定有多個錐形罩一、錐形罩二,每一個所述錐形罩一下側均固定有一個錐形罩二;
所述錐形罩一上表面邊緣向下貫穿形成多個呈環形結構分布的貫穿孔,所述錐形罩一的直徑從上至下逐漸增大,所述錐形罩二的直徑從上至下逐漸增大,所述錐形罩二上側表面與錐形罩一內壁活動抵接,所述錐形罩二包括柔性連接部、硬質承接部以及刷毛,所述硬質承接部的左側、右側、前側以及后側分別通過柔性連接部連接成型,所述硬質承接部的下側邊緣和柔性連接部下側的邊緣均設置有刷毛,所述刷毛與柱筒內壁滑動連接,擠壓組件的設置,其在上移時帶動柱筒內部以及多個廢水處理組件內部的廢水出現短暫的回流,能夠起到清潔的作用,避免生物濾膜長期工作導致的堵住。
作為一優選的實施方式,所述驅動組件包括軸桿一、軸桿二、彎桿以及水輪,所述軸桿一左端轉動安裝在桶體左側內壁上端,所述軸桿一右端通過聯軸器與彎桿左端固定連接,且所述軸桿一右端與柱筒上端左側轉動連接,所述軸桿二左端通過聯軸器與彎桿右端固定連接,且所述軸桿二左端與柱筒上端右側轉動連接,所述彎桿中間通過轉動連接頭與連接桿上端轉動連接,所述軸桿二右側設置有水輪,所述軸桿二右側橫向貫穿濾板。
本發明還涉及所述的一種重金屬廢水處理工藝,包括以下步驟:
a、導入帶有重金屬的廢水:通過抽泵與進水部件上的進水管連接,將帶有重金屬的廢水以高壓高流速的狀態輸送至進水部件內部的水輪后上側,水輪在高壓高流速的廢水沖擊下,發生轉動,進而帶動整個驅動組件進行轉動,在被水輪緩沖后的廢水進入至進水部件內部并通過濾板的初步過濾后,進入至桶體上側的錐形擋板內部,而后經過柱筒上的進水口進入柱筒內部。
b、對廢水進行往復增壓:隨著水輪帶動整個驅動組件轉動,彎桿通過轉動連接頭帶動連接桿上下運動,連接桿在導向部件、擺動桿的作用下,進行上下往復的直線運動,進而帶動其上的錐形罩一、錐形罩二上下往復運動,下壓時,錐形罩一、錐形罩二推動柱筒內部的廢水快速向下運動,增大了柱筒內部的水壓,進而使得柱筒內部的廢水快速進入至廢水處理組件,并將位于柱筒底部的高濃度廢水通過排水管二導出,反之,則錐形罩一、錐形罩二上移使得柱筒下側的水壓降低,位于廢水處理組件內的廢水出現短暫回流,便于將高濃度的重金屬廢水回流至柱筒內部。
c、生物膜過濾:在廢水位于過濾筒內部后,在錐形罩一、錐形罩二下壓水時,過濾筒內部的水壓短暫增大,使得其內部重金屬廢水中的水可以快速通過生物濾膜,將廢水中的重金屬截留下來,過濾完的水通過排水管一排出,實現重金屬與水的分離,達到重金屬廢水處理的目的。
采用了上述技術方案后,本發明的有益效果是:通過設置廢水存儲組件,便于承接抽泵抽出的廢水,并使其按照一定的要求進行流動,便于進行后續的廢水處理,同時廢水存儲組件作為廢水處理組件、驅動組件以及擠壓組件的安裝載體,使其構成一個完整的重金屬廢水處理設備;
廢水處理組件的設置,多個廢水處理組件同時工作且相互不會影響,一個廢水處理組件發生故障,并不會影響其他的廢水處理組件繼續工作,能夠保證整個設備的廢水處理效率,且多個廢水處理組件的外端均可以從廢水存儲組件的外側就可以打開進行清潔和更換,大大降低了整個設備的復雜程度和后期維護、更換生物濾膜的難度,有效節約廢水處理的時間和人員成本;
擠壓組件和驅動組件的設置,驅動組件使用廢水勢能和沖擊力作為動力源,無需再增加其他驅動結構,降低設備的能耗,使其更加環保,符合當下提倡環保的理念,同時驅動擠壓組件在柱筒內部上下移動,位于錐形罩二下端側邊的刷毛會對柱筒內壁進行清潔,同時擠壓組件在上移時帶動柱筒內部以及多個廢水處理組件內部的廢水出現短暫的回流,能夠起到清潔的作用,避免生物濾膜長期工作導致的堵住,大大降低設備后期維護和更換次數。
(發明人:任建新;陳嬌;范志泳;冼俊彬;鐘衛群)






