公布日:2023.10.13
申請日:2023.09.05
分類號:C02F1/72(2023.01)I;C02F1/78(2023.01)I;C02F1/30(2023.01)I;C02F1/32(2023.01)I;C02F101/30(2006.01)N
摘要
本發明屬于廢水處理技術領域,具體涉及一種高級氧化裝置及其應用、高鹽廢水的處理方法。利用本發明提供的高級氧化裝置處理高鹽廢水能夠將臭氧氧化、過氧化氫氧化、光催化氧化、類芬頓氧化等多種高級氧化工藝耦合,在多種高級氧化工藝共同作用下,加快了羥基自由基的生成速率,提高了活性組分羥基自由基的利用效率,能夠高效去除煤化工高鹽廢水中的難降解有機物,達到協同增效的效果。

權利要求書
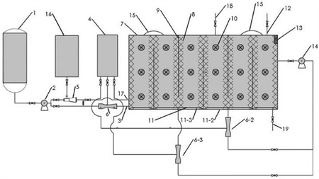
1.一種高級氧化裝置,其特征在于,包括廢液罐(1)、與所述廢液罐(1)出口連接的液體氧化劑容器(16),所述液體氧化劑容器(16)出口與所述廢液罐(1)出口連接,所述液體氧化劑容器(16)出口設置第一混合器(5);與所述廢液罐(1)出口連接的氣體氧化劑容器(4),所述廢液罐(1)出口和氣體氧化劑容器(4)第一出口由第二混合器(6)連接;與所述第一混合器(5)出口連接的反應器(7);所述反應器(7)的第二進口(17)與所述第一混合器(5)出口連接;所述反應器(7)的第三進口(3)與第二混合器(6)出口連接;設置于所述反應器(7)內部的若干隔板(9),所述隔板(9)與反應器(7)側壁平行,所述隔板(9)間隔固定于反應器(7)的底部和頂部;相鄰兩塊隔板(9)之間的距離為8~12cm;任一光源(10)與隔板(9)的平行距離為4~6cm;設置于所述隔板(9)表面和所述反應器(7)側壁的催化劑容器(8);設置于任意兩相鄰催化劑容器(8)之間的若干光源(10)。
2.根據權利要求1所述高級氧化裝置,其特征在于,所述反應器(7)底部設置有曝氣頭(11),所述氣體氧化劑容器(4)第二出口通過第三混合器(6-2)由設置于所述反應器(7)底部第四進口(11-2)進入曝氣頭(11);所述氣體氧化劑容器(4)第三出口通過第四混合器(6-3)由設置于所述反應器(7)底部第五進口(11-3)進入曝氣頭(11)。
3.根據權利要求2所述高級氧化裝置,其特征在于,所述第三混合器(6-2)出口和第四混合器(6-3)出口通過循環泵(14)進入所述反應器(7)。
4.權利要求1~3任一項所述高級氧化裝置在對高鹽廢水進行氧化處理中的應用。
5.利用權利要求1~3任一項所述高級氧化裝置對高鹽廢水進行處理的方法,包括以下步驟:將高鹽廢水通入權利要求1~3任一項所述高級氧化裝置中與氧化劑和/或催化劑混合進行氧化降解;所述氧化劑包括氣體氧化劑和/或液體氧化劑。
6.根據權利要求5所述方法,其特征在于,所述氣體氧化劑為臭氧,所述液體氧化劑為雙氧水或過硫酸鹽溶液。
7.根據權利要求5所述方法,其特征在于,所述催化劑為氧化鋁泡沫陶瓷耦合催化劑或類芬頓催化劑;所述氧化鋁泡沫陶瓷耦合催化劑中催化活性組分為銳鈦礦型納米二氧化鈦、氧化鐵、氧化銅、氧化錳和氧化鈰中的一種或多種。
8.根據權利要求5所述方法,其特征在于,所述氧化降解的時間為2~4h。
9.根據權利要求5所述方法,其特征在于,向高級氧化裝置中通入的高鹽廢水的流量為5~15mL/min。
發明內容
有鑒于此,本發明提供了一種高級氧化裝置及其應用、高鹽廢水的處理方法,利用本發明提供的裝置能夠將多種產生羥基自由基的高級氧化技術耦合,在多種高級氧化技術的協同作用下加速了羥基自由基的產生,提高了降解效率。
為了解決上述技術問題,本發明提供了一種高級氧化裝置,包括廢液罐1、與所述廢液罐1出口連接的液體氧化劑容器16,所述液體氧化劑容器16出口與所述廢液罐1出口連接,所述液體氧化劑容器16出口設置第一混合器5;
與所述廢液罐1出口連接的氣體氧化劑容器4,所述廢液罐1出口和氣體氧化劑容器4第一出口由第二混合器6連接;
與所述第一混合器5出口連接的反應器7;所述反應器7的第二進口17與所述第一混合器5出口連接;所述反應器7的第三進口3與第二混合器6出口連接;設置于所述反應器7內部的若干隔板9,所述隔板9與反應器7側壁平行,所述隔板9間隔固定于反應器7的底部和頂部;
設置于所述隔板9表面和所述反應器7側壁的催化劑容器8;
設置于任意兩相鄰催化劑容器8之間的若干光源10。
優選的,所述反應器7底部設置有曝氣頭11,所述氣體氧化劑容器4第二出口通過第三混合器6-2由設置于所述反應器7底部第四進口11-2進入曝氣頭11;
所述氣體氧化劑容器4第三出口通過第四混合器6-3由設置于所述反應器7底部第五進口11-3進入曝氣頭11。
優選的,所述第三混合器6-2出口和第四混合器6-3出口通過循環泵14進入所述反應器7。
優選的,相鄰兩塊隔板9之間的距離為8~12cm;任一光源10與隔板9的平行距離為4~6cm。
本發明還提供了上述技術方案所述高級氧化裝置在對高鹽廢水進行氧化處理中的應用。
本發明還提供了利用上述技術方案所述高級氧化裝置對高鹽廢水進行處理的方法,包括以下步驟:
將高鹽廢水通入上述技術方案所述高級氧化裝置中與氧化劑和/或催化劑混合進行氧化降解;所述氧化劑包括氣體氧化劑和/或液體氧化劑。
優選的,所述氣體氧化劑為臭氧,所述液體氧化劑為雙氧水或過硫酸鹽溶液。
優選的,所述催化劑為氧化鋁泡沫陶瓷耦合催化劑或類芬頓催化劑;
所述氧化鋁泡沫陶瓷耦合催化劑中催化活性組分為銳鈦礦型納米二氧化鈦、氧化鐵、氧化銅、氧化錳和氧化鈰中的一種或多種。
優選的,所述氧化降解的時間為2~4h。
優選的,向高級氧化裝置中通入的高鹽廢水的流量為5~15mL/min。
本發明提供了一種高級氧化裝置,包括廢液罐1、與所述廢液罐1出口連接的液體氧化劑容器16,所述液體氧化劑容器16出口與所述廢液罐1出口連接,所述液體氧化劑容器16出口設置第一混合器5;與所述廢液罐1出口連接的氣體氧化劑容器4,所述廢液罐1出口和氣體氧化劑容器4第一出口由第二合混器6連接;與所述第一混合器5出口連接的反應器7;所述反應器7的第二進口17與所述第一混合器5出口連接;所述反應器7的第三進口3與第二混合器6出口連接;設置于所述反應器7內部的若干隔板9,所述隔板9與反應器7側壁平行,所述隔板9間隔固定于反應器7的底部和頂部;設置于所述隔板9表面和所述反應器7側壁的催化劑容器8;設置于任意兩相鄰催化劑容器8之間的若干光源10。利用本發明提供的裝置處理高鹽廢水能夠將多種高級氧化工藝耦合,在多種高級氧化工藝共同作用下,加快了羥基自由基的生成速率,提高了活性組分羥基自由基的利用效率,能夠高效去除煤化工高鹽廢水中的難降解有機物,達到協同增效的效果。
(發明人:李建業;閆友軍;王金婷;賈曉強;崔淑娜;鄭興榮)






