公布日:2023.10.10
申請日:2023.07.21
分類號:C02F1/04(2023.01)I;B01D5/00(2006.01)I;B01D53/00(2006.01)I;B01D53/78(2006.01)I
摘要
本發明涉及廢水處理領域,且公開了一種零排放的廢水處理裝置,所述滑板的頂部固定連接有出氣筒,所述出氣筒的內壁滑動連接有滑桿,所述滑桿的外表面滑動連接有頂盤,所述頂盤的頂部與出氣筒的內壁相貼合,所述滑桿的底部固定連接有凈氣倉,所述凈氣倉的底部對稱設置有導管,所述導管的頂部與凈氣倉的底部固定連接,所述導管的內壁轉動連接有轉輪,所述凈氣倉的內壁與導氣筒的外表面固定連接,將水蒸氣回收利用,單獨將有害氣體凈化,防止水蒸氣與藥劑融合,將藥劑濃度降低影響凈化效果,通過設置清理板,對處理倉內壁的廢水結晶進行震動清理,防止內壁結晶過度,影響加熱效果,同時結晶不及時清理,造成后期處理難度增加。

權利要求書
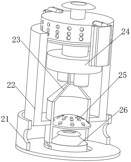
1.一種零排放的廢水處理裝置,包括支撐機構(1),所述支撐機構(1)的內壁固定連接有攪拌機構(3),所述攪拌機構(3)的頂部固定連接有凈氣機構(2),所述凈氣機構(2)包括導氣筒(23),所述導氣筒(23)的外表面固定連接有集水倉(21),所述導氣筒(23)的內壁固定連接有進氣筒(26),所述導氣筒(23)的內壁固定連接有冷卻板(25),所述導氣筒(23)的外表面固定連接有連接倉(22),其特征在于,還包括;凈化機構(24),包括與連接倉(22)的內壁滑動連接的滑板(242),所述滑板(242)的頂部固定連接有出氣筒(243),所述出氣筒(243)的內壁滑動連接有滑桿(244),所述滑桿(244)的外表面滑動連接有頂盤(245),所述頂盤(245)的頂部與出氣筒(243)的內壁相貼合,所述滑桿(244)的底部固定連接有凈氣倉(246),所述凈氣倉(246)的底部對稱設置有導管(241),所述導管(241)的頂部與凈氣倉(246)的底部固定連接,所述導管(241)的內壁轉動連接有轉輪(247),所述凈氣倉(246)的內壁與導氣筒(23)的外表面固定連接。
2.根據權利要求1所述的一種零排放的廢水處理裝置,其特征在于:所述支撐機構(1)包括底板(11),所述底板(11)的頂部對稱設置有支撐板(12),所述支撐板(12)的底部與底板(11)的頂部固定連接,所述支撐板(12)的內壁轉動連接有處理倉(13),所述處理倉(13)的外表面對稱設置有齒盤(18),所述齒盤(18)的內壁與處理倉(13)的外表面固定連接,所述齒盤(18)的外表面齒輪嚙合有傳動軸(17),所述傳動軸(17)的外表面齒輪嚙合有電機(16),所述電機(16)的底部與底板(11)的頂部固定連接,所述底板(11)的外表面對稱設置有支撐盤(14),所述支撐盤(14)的內壁與底板(11)的外表面固定連接,所述支撐盤(14)的頂部固定連接有支腿(15),所述處理倉(13)的內壁固定連接有進料管(19)。
3.根據權利要求1所述的一種零排放的廢水處理裝置,其特征在于:所述攪拌機構(3)包括連接軸(37),所述連接軸(37)的外表面固定連接有連接盤(31),所述連接盤(31)的內壁對稱設置有刮盤機構(32),所述刮盤機構(32)的外表面與連接盤(31)的內壁固定連接,所述連接軸(37)的外表面對稱設置有攪葉機構(36),所述攪葉機構(36)的相對側與連接軸(37)的外表面固定連接,所述連接軸(37)的外表面對稱設置有清理機構(38),所述清理機構(38)的相對側與連接軸(37)的外表面固定連接,所述連接軸(37)的外表面對稱設置有刮桿(35),所述刮桿(35)的相對側與連接軸(37)的外表面固定連接,所述連接軸(37)的外表面中心處固定連接有轉環(34),所述轉環(34)的外表面固定連接有連接環(33)。
4.根據權利要求3所述的一種零排放的廢水處理裝置,其特征在于:所述刮盤機構(32)包括壓桿(321),所述壓桿(321)的內壁與連接盤(31)的外表面固定連接,所述壓桿(321)的內壁設置有刮板(323),所述刮板(323)的外表面與壓桿(321)的內壁相貼合,所述刮板(323)的內壁轉動連接有固定桿(322),所述固定桿(322)遠離刮板(323)的一端與連接盤(31)的內壁固定連接。
5.根據權利要求3所述的一種零排放的廢水處理裝置,其特征在于:所述攪葉機構(36)包括攪桿(365),所述攪桿(365)的外表面轉動連接有攪輪(363),所述攪桿(365)的兩端對稱設置有固定盤(361),所述固定盤(361)的內壁與攪桿(365)的外表面固定連接,所述固定盤(361)的相對側對稱設置有固定軸(362),所述固定軸(362)的外表面與固定盤(361)的相對側固定連接,所述固定軸(362)的外表面轉動連接有攪板(366),所述攪板(366)的相對側設置有限位塊(364),所述限位塊(364)的外表面與攪板(366)的相對側相貼合。
6.根據權利要求3所述的一種零排放的廢水處理裝置,其特征在于:所述清理機構(38)包括限位筒(382),所述限位筒(382)的內壁滑動連接有清理板(381),所述清理板(381)的底對稱設置有彈簧桿(384),所述彈簧桿(384)的頂部與清理板(381)的底部固定連接,所述清理板(381)的外表面對稱設置有路徑板(383),所述路徑板(383)的相對側與清理板(381)的外表面滑動連接。
7.根據權利要求3所述的一種零排放的廢水處理裝置,其特征在于:所述連接軸(37)的外表面與限位筒(382)的內壁固定連接,所述連接軸(37)的外表面與固定盤(361)的內壁固定連接。
8.根據權利要求1-7任意一項所述的一種零排放的廢水處理方法,其特征在于,包括以下幾個步驟:S1、攪拌加熱,通過攪拌機構(3),對處理倉(13)中的廢水進行攪拌加熱,使廢水中的重金屬污染物進行結晶;S2、蒸發排氣,通過蒸發廢水,使水蒸氣通過凈氣機構(2)中的導氣筒(23)導出,將水蒸氣通過冷卻凝結成水,收集到集水倉(21)中;S3、氣體凈化,通過凈化機構(24),將氣體通過凈氣倉(246)將有害氣體充分反應,再通過出氣筒(243)排出。
發明內容
針對現有技術的不足,本發明解決其技術問題所采用的技術方案是:一種零排放的廢水處理裝置,包括支撐機構,所述支撐機構的內壁固定連接有攪拌機構,所述攪拌機構的頂部固定連接有凈氣機構,所述凈氣機構包括導氣筒,所述導氣筒的外表面固定連接有集水倉,所述導氣筒的內壁固定連接有進氣筒,所述導氣筒的內壁固定連接有冷卻板,所述導氣筒的外表面固定連接有連接倉,還包括,凈化機構,包括與連接倉的內壁滑動連接的滑板,所述滑板的頂部固定連接有出氣筒,所述出氣筒的內壁滑動連接有滑桿,所述滑桿的外表面滑動連接有頂盤,所述頂盤的頂部與出氣筒的內壁相貼合,所述滑桿的底部固定連接有凈氣倉,所述凈氣倉的底部對稱設置有導管,所述導管的頂部與凈氣倉的底部固定連接,所述導管的內壁轉動連接有轉輪,所述凈氣倉的內壁與導氣筒的外表面固定連接,在工作過程中,通過進氣筒將蒸發的氣體通入導氣筒經過冷卻板將水蒸氣冷凝收集入集水倉中,在經過凈化機構中的凈氣倉與藥劑混合反應,將有害氣體進行凈化,同時凈化后的氣體堆積氣壓增大將頂盤推動。
進一步的,所述支撐機構包括底板,所述底板的頂部對稱設置有支撐板,所述支撐板的底部與底板的頂部固定連接,所述支撐板的內壁轉動連接有處理倉,所述處理倉的外表面對稱設置有齒盤,所述齒盤的內壁與處理倉的外表面固定連接,所述齒盤的外表面齒輪嚙合有傳動軸,所述傳動軸的外表面齒輪嚙合有電機,所述電機的底部與底板的頂部固定連接,所述底板的外表面對稱設置有支撐盤,所述支撐盤的內壁與底板的外表面固定連接,所述支撐盤的頂部固定連接有支腿,所述處理倉的內壁固定連接有進料管,工作中,通過進料管將廢水沖入處理倉中,通過電機轉動帶動處理倉轉動,使內部廢水充分加熱反應,防止傳統加熱方式造成加熱不均勻,影響處理廢水的效率。
進一步的,所述攪拌機構包括連接軸,所述連接軸的外表面固定連接有連接盤,所述連接盤的內壁對稱設置有刮盤機構,所述刮盤機構的外表面與連接盤的內壁固定連接,所述連接軸的外表面對稱設置有攪葉機構,所述攪葉機構的相對側與連接軸的外表面固定連接,所述連接軸的外表面對稱設置有清理機構,所述清理機構的相對側與連接軸的外表面固定連接,所述連接軸的外表面對稱設置有刮桿,所述刮桿的相對側與連接軸的外表面固定連接,所述連接軸的外表面中心處固定連接有轉環,所述轉環的外表面固定連接有連接環,所述刮盤機構包括壓桿,所述壓桿的內壁與連接盤的外表面固定連接,所述壓桿的內壁設置有刮板,所述刮板的外表面與壓桿的內壁相貼合,所述刮板的內壁轉動連接有固定桿,所述固定桿遠離刮板的一端與連接盤的內壁固定連接,在工作過程中,通過將連接盤與處理倉連接,使連接軸轉動,帶動刮盤機構工作,通過刮板對連接內盤的內壁進行刮動清理。
進一步的,所述攪葉機構包括攪桿,所述攪桿的外表面轉動連接有攪輪,所述攪桿的兩端對稱設置有固定盤,所述固定盤的內壁與攪桿的外表面固定連接,所述固定盤的相對側對稱設置有固定軸,所述固定軸的外表面與固定盤的相對側固定連接,所述固定軸的外表面轉動連接有攪板,所述攪板的相對側設置有限位塊,所述限位塊的外表面與攪板的相對側相貼合,在工作過程中,通過連接軸的轉動將攪板帶動廢水轉動,同時通過攪板內側的攪輪對廢水進行更成分的攪拌,保證廢水在處理倉內部的受熱均勻。
進一步的,所述清理機構包括限位筒,所述限位筒的內壁滑動連接有清理板,所述清理板的底對稱設置有彈簧桿,所述彈簧桿的頂部與清理板的底部固定連接,所述清理板的外表面對稱設置有路徑板,所述路徑板的相對側與清理板的外表面滑動連接,所述連接軸的外表面與限位筒的內壁固定連接,所述連接軸的外表面與固定盤的內壁固定連接,在工作過程中,通過連接軸轉動帶動清理板運動,同時通過轉環內壁的軌跡進行震動,同時運動過程中路徑板將清理板夾緊,使清理板固定路徑運動,對處理倉內壁的廢水結晶進行震動清理。
一種零排放的廢水處理方法,包括以下幾個步驟:
S1、攪拌加熱,通過攪拌機構,對處理倉中的廢水進行攪拌加熱,使廢水中的重金屬污染物進行結晶;
S2、蒸發排氣,通過蒸發廢水,使水蒸氣通過凈氣機構中的導氣筒導出,將水蒸氣通過冷卻凝結成水,收集到集水倉中;
S3、氣體凈化,通過凈化機構,將氣體通過凈氣倉將有害氣體充分反應,再通過出氣筒排出。
本發明的有益效果如下:
1.本發明通過設置凈氣機構,將水蒸氣回收利用,同時又將有害氣體與水蒸氣分開,單獨將有害氣體凈化,防止水蒸氣與藥劑融合,將藥劑濃度降低影響凈化效果。
2.本發明通過設置刮板,對連接內盤的內壁進行刮動清理,防止結晶堵塞連接軸,導致轉動受阻,影響裝置工作。
3.本發明通過設置攪葉機構,保證廢水在處理倉內部的受熱均勻,防止加熱不均勻,導致結晶無法快速反應,影響處理效率。
4.本發明通過設置清理板,對處理倉內壁的廢水結晶進行震動清理,防止內壁結晶過度,影響加熱效果,同時結晶不及時清理,造成后期處理難度增加。
(發明人:王杰;吳俊杰;洪顯騰)






