公布日:2023.08.15
申請日:2023.04.19
分類號:C02F9/00(2023.01)I;B01D33/11(2006.01)I;B01F27/90(2022.01)I;B01F35/71(2022.01)I;C02F1/52(2023.01)N;C02F1/38(2023.01)N;C02F1/48(2023.01)N;C02F103/
16(2006.01)N
摘要
本發明公開了一種濁環水高效凈化處理裝置,屬于濁環水處理裝置技術領域。一種濁環水高效凈化處理裝置,包括罐體,還包括,進液斗,安裝在罐體的頂部,且所述進液斗上還設置有延伸至罐體內腔的進液管;混凝劑投放機構,安裝在進液管的中段,用于混凝劑的投入;其中,所述混凝劑投放機構的投藥量與進液管的液體流量呈正比;離心分離機構,安裝在罐體的頂部內壁,用于分離混入混凝劑的濁環水;攪拌組件,安裝在離心分離機構的底端;助凝劑投放機構,均勻安裝在罐體的外側壁;污泥回收機構,安裝在罐體的底部;本發明能夠根據濁環水的流量調節混凝劑的添加量,進而保證穩定性混凝質量,同時助凝劑添加分散混合性能優良,大大提高了濁環水的處理效率。

權利要求書
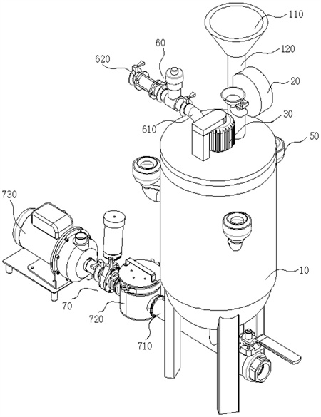
1.一種濁環水高效凈化處理裝置,包括罐體(10),其特征在于,還包括,進液斗(110),安裝在罐體(10)的頂部,且所述進液斗(110)上還設置有延伸至罐體(10)內腔的進液管(120);混凝劑投放機構(20),安裝在進液管(120)的中段,用于混凝劑的投入;其中,所述混凝劑投放機構(20)的投藥量與進液管(120)的液體流量呈正比;離心分離機構(30),安裝在罐體(10)的頂部外壁,用于分離混入混凝劑的濁環水;攪拌組件(40),安裝在離心分離機構(30)的底端;助凝劑投放機構(50),均勻安裝在罐體(10)的外側壁;污泥回收機構(60),安裝在罐體(10)的頂部;所述混凝劑投放機構(20)包括安裝在進液管(120)中段外壁的殼體(210),所述殼體(210)內側壁轉動連接有轉動桿(220),所述轉動桿(220)上連接有轉動架(230),所述轉動架(230)上安裝有均勻分布的盛裝斗(240),所述殼體(210)靠近底部的外側壁連接有混凝劑進管(250),所述混凝劑進管(250)遠離殼體(210)的一端連接有混凝劑料斗(260),所述混凝劑料斗(260)與殼體(210)之間連接有激振器(270);所述離心分離機構(30)包括安裝在罐體(10)頂部的防水電機(310),所述電機的輸出端連接有傳動軸(320),所述傳動軸(320)的外壁固定連接有頂部開口的鏤空接料筒(330),所述進液管(120)正對鏤空接料筒(330);所述攪拌組件(40)包括安裝在傳動軸(320)中段外壁的撥動桿(410),所述傳動軸(320)靠近底端的外側壁固定連接有均勻分布的攪拌桿(420),所述攪拌桿(420)開設有均勻分布的導流槽;所述助凝劑投放機構(50)包括安裝在罐體(10)外壁且向罐體(10)內腔延伸的助凝劑進管(510),置于所述罐體(10)外側的助凝劑進管(510)的進料端連接有助凝劑料斗(520),所述罐體(10)的內側壁安裝有弧形滑軌(530),所述弧形滑軌(530)上滑動連接有出料筒(540),且所述出料筒(540)的外側壁連接有遮擋板(550),所述遮擋板(550)與弧形滑軌(530)之間連接有復位彈簧(560),所述弧形滑軌(530)上還固定連接有第一限位桿(570),所述出料筒(540)的底部安裝有開閉組件(580),置于所述罐體(10)內腔的助凝劑進管(510)與出料筒(540)的頂部開口對位密封;所述開閉組件(580)包括安裝在弧形滑軌(530)上的L型板(581),所述出料筒(540)靠近底部的外側壁固定連接有安裝座(582),所述安裝座(582)上轉動連接有第二限位桿(583),所述安裝座(582)通過第二限位桿(583)轉動連接有蓋板(584),所述第二限位桿(583)穿過安裝座向外延伸,所述第二限位桿(583)的延伸端連接有限位板(586),所述第二限位桿(583)的外壁套有扭簧(585),所述扭簧(585)的兩端分別與安裝座(582)和限位板(586)固定相連,所述扭簧(585)與復位彈簧(560)處于自然狀態下時,所述出料筒(540)與所述助凝劑進管(510)對齊,且所述蓋板(584)封堵出料筒(540);所述傳動軸(320)的外側壁通過支架固定連接有滯留板(340),所述滯留板(340)置于出料筒(540)下方。
2.根據權利要求1所述的一種濁環水高效凈化處理裝置,其特征在于,所述污泥回收機構(60)包括安裝在罐體(10)頂部且向鏤空接料筒(330)內腔延伸的抽泥管(610),所述抽泥管(610)置于罐體(10)外的一端連接有抽泥泵(620)。
3.根據權利要求2所述的一種濁環水高效凈化處理裝置,其特征在于,還包括安裝在罐體(10)底部出口處的回收組件(70),所述回收組件(70)包括安裝在罐體(10)底部出料口處的回收管(710),所述回收管(710)遠離罐體(10)的一端連接有磁力分離機構(720),所述磁力分離機構(720)的出口端連接有液泵(730)。
4.如權利要求3所述的一種濁環水高效凈化處理裝置的處理工藝,其特征在于,還包括以下步驟:S1:首先將待處理的濁環水通過進液斗(110)注入進液管(120),在濁環水流經進液管(120)的過程中,下落的濁環水擊打盛裝斗(240),帶動轉動架(230)轉動,轉動架(230)轉動的過程中,盛裝斗(240)盛裝通過混凝劑料斗(260)送入殼體(210)內的混凝劑,隨著濁環水的沖擊跟隨轉動架(230)轉動,直至盛裝斗(240)內的混凝劑進入進液管(120),通過激振器(270)能夠實現混凝劑料斗(260)的穩定供料,保證混凝劑添加量能夠隨著濁環水的流量進行變化而變化;S2:在濁環水注入進液斗(110)的同時開啟防水電機(310),混合有混凝劑的濁環水通過進液管(120)落入鏤空接料筒(330)上,隨著防水電機(310)的開啟帶動傳動軸(320)轉動,傳動軸(320)帶動鏤空接料筒(330)轉動,進而實現混合有混凝劑的濁環水的離心功能,進而將濁環水混合液中的污泥進行濾除,污泥沉淀在鏤空接料筒(330)內;S3:離心后的濁環水混合液通過鏤空接料筒(330)的漏孔流入至罐體(10)內,在離心后的濁環水下落的過程中,傳動軸(320)帶動撥動桿(410)轉動,在撥動桿(410)轉動時,撥動桿(410)隨著轉動逐漸靠近出料筒(540),在撥動桿(410)未接觸出料筒(540)時,出料筒(540)在復位彈簧(560)的拉力作用下與助凝劑進管(510)管口對齊,此時遮擋板(550)與第一限位桿(570)抵接,蓋板(584)封堵出料筒(540)底部開口,隨著撥動桿(410)的持續轉動,帶動出料筒(540)沿著弧形滑軌(530)滑動,此時出料筒(540)的頂部開口與助凝劑進管(510)逐漸錯開,遮擋板(550)逐漸封堵助凝劑進管(510)的開口,同時復位彈簧(560)拉伸,直至蓋板(584)與L型板(581)分離,扭簧(585)復位,蓋板(584)不再封堵出料筒(540)的底部開口,此時出料筒(540)內儲存的助凝劑落入罐體(10)內,并與由鏤空接料筒(330)內流出的濁環水混合,一起落在滯留板(340)上,實現助凝劑與濁環水的混合均勻性,同時能夠降低混合有助凝劑的濁環水落入罐體(10)內腔的動能,避免影響助凝劑的沉淀效率,同時通過攪拌桿(420),進一步提高了助凝劑的混合效果;S4:加入助凝劑的濁環水混合液,沉淀后,開啟液泵(730),液泵(730)帶動回收管(710)將罐體(10)內的濁環水混合液回收進入磁力分離機構(720),磁力分離機構(720)將濁環水混合液中的含鐵氧化物回收,提高濁環水的處理效果;S5:開啟抽泥泵(620),將沉淀在鏤空接料筒(330)內的污泥通過抽泥管(610)抽出,保證鏤空接料筒(330)的穩定工作。
發明內容
本發明的目的是為了解決現有技術中存在不能依據濁環水的實時處理量進行混凝劑的投放;助凝劑的分散效果不良,不利于保證濁環水的處理效率的問題,而提出的一種濁環水高效凈化處理裝置。
為了實現上述目的,本發明采用了如下技術方案:
一種濁環水高效凈化處理裝置,包括罐體,還包括,
進液斗,安裝在罐體的頂部,且所述進液斗上還設置有延伸至罐體內腔的進液管;
混凝劑投放機構,安裝在進液管的中段,用于混凝劑的投入;
其中,
所述混凝劑投放機構的投藥量與進液管的液體流量呈正比;
離心分離機構,安裝在罐體的頂部外壁,用于分離混入混凝劑的濁環水;
攪拌組件,安裝在離心分離機構的底端;
助凝劑投放機構,均勻安裝在罐體的外側壁;
污泥回收機構,安裝在罐體的頂部。
優選的,所述混凝劑投放機構包括安裝在進液管中段外壁的殼體,所述殼體內側壁轉動連接有轉動桿,所述轉動桿上連接有轉動架,所述轉動架上安裝有均勻分布的盛裝斗,所述殼體靠近底部的外側壁連接有混凝劑進管,所述混凝劑進管遠離殼體的一端連接有混凝劑料斗,所述混凝劑料斗與殼體之間連接有激振器。
優選的,所述離心分離機構包括安裝在罐體頂部的防水電機,所述電機的輸出端連接有傳動軸,所述傳動軸的外壁固定連接有頂部開口的鏤空接料筒,所述進液管正對鏤空接料筒。
優選的,所述攪拌組件包括安裝在傳動軸中段外壁的撥動桿,所述傳動軸靠近底端的外側壁固定連接有均勻分布的攪拌桿,所述攪拌桿開設有均勻分布的導流槽。
優選的,所述助凝劑投放機構包括安裝在罐體外壁且向罐體內腔延伸的助凝劑進管,置于所述罐體外側的助凝劑進管的進料端連接有助凝劑料斗,所述罐體的內側壁安裝有弧形滑軌,所述弧形滑軌上滑動連接有出料筒,且所述出料筒的外側壁連接有遮擋板,所述遮擋板與弧形滑軌之間連接有復位彈簧,所述弧形滑軌上還固定連接有第一限位桿,所述出料筒的底部安裝有開閉組件,置于所述罐體內腔的助凝劑進管與出料筒的頂部開口對位密封。
優選的,所述開閉組件包括安裝在弧形滑軌上的L型板,所述出料筒靠近底部的外側壁固定連接有安裝座,所述安裝座上轉動連接有第二限位桿,所述安裝座通過第二限位桿轉動連接有蓋板,所述第二限位桿穿過安裝座向外延伸,所述第二限位桿的延伸端連接有限位板,所述第二限位桿的外壁套有扭簧,所述扭簧的兩端分別與安裝座和限位板固定相連,所述扭簧與復位彈簧處于自然狀態下時,所述出料筒與所述助凝劑進管對齊,且所述蓋板封堵出料筒。
優選的,所述污泥回收機構包括安裝在罐體頂部且向鏤空接料筒內腔延伸的抽泥管,所述抽泥管置于罐體外的一端連接有抽泥泵。
優選的,所述傳動軸的外側壁通過支架固定連接有滯留板,所述滯留板置于出料筒下方。
優選的,還包括安裝在罐體底部出口處的回收組件,所述回收組件包括安裝在罐體底部出料口處的回收管,所述回收管遠離罐體的一端連接有磁力分離機構,所述磁力分離機構的出口端連接有液泵。
一種濁環水高效凈化處理裝置的處理工藝,其特征在于,還包括以下步驟:
S1:首先將待處理的濁環水通過進液斗注入進液管,在濁環水流經進液管的過程中,下落的濁環水擊打盛裝斗,帶動轉動架轉動,轉動架轉動的過程中,盛裝斗盛裝通過混凝劑料斗送入殼體內的混凝劑,隨著濁環水的沖擊跟隨轉動架轉動,直至盛裝斗內的混凝劑進入進液管,通過激振器能夠實現混凝劑料斗的穩定供料,保證混凝劑添加量能夠隨著濁環水的流量進行變化而變化;
S2:在濁環水注入進液斗的同時開啟防水電機,混合有混凝劑的濁環水通過進液管落入鏤空接料筒上,隨著防水電機的開啟帶動傳動軸轉動,傳動軸帶動鏤空接料筒轉動,進而實現混合有混凝劑的濁環水的離心功能,進而將濁環水混合液中的污泥進行濾除,污泥沉淀在鏤空接料筒內;
S3:離心后的濁環水混合液通過鏤空接料筒的漏孔流入至罐體內,在離心后的濁環水下落的過程中,傳動軸帶動撥動桿轉動,在撥動桿轉動時,撥動桿隨著轉動逐漸靠近出料筒,在撥動桿未接觸出料筒時,出料筒在復位彈簧的拉力作用下與助凝劑進管管口對齊,此時遮擋板與第一限位桿抵接,蓋板封堵出料筒底部開口,隨著撥動桿的持續轉動,帶動出料筒沿著弧形滑軌滑動,此時出料筒的頂部開口與助凝劑進管逐漸錯開,遮擋板逐漸封堵助凝劑進管的開口,同時復位彈簧拉伸,直至蓋板與L型板分離,扭簧復位,蓋板不在封堵出料筒的底部開口,此時出料筒內儲存的助凝劑落入罐體內,并與由鏤空接料筒內流出的濁環水混合,一起落在滯留版上,實現助凝劑與濁環水的混合均勻性,同時能夠降低混合有助凝劑的濁環水落入罐體內腔的動能,避免影響助凝劑的沉淀效率,同時通過攪拌桿,進一步提高了助凝劑的混合效果;
S4:加入助凝劑的濁環水混合液,沉淀后,開啟液泵,液泵帶動回收管將罐體內的濁環水混合液回收進入磁力分離機構,磁力分離機構將濁環水混合液中的含鐵氧化物,提高濁環水的處理效果;
S5:開啟抽泥泵,將沉淀在鏤空接料筒內的污泥通過抽泥管抽出,保證鏤空接料筒的穩定工作。
與現有技術相比,本發明提供了一種濁環水高效凈化處理裝置,具備以下有益效果:
1、該濁環水高效凈化處理裝置,通過設置在進液管處的混凝劑投放機構,在濁環水流經進液管的過程中,下落的濁環水擊打盛裝斗,帶動轉動架轉動,轉動架轉動的過程中,盛裝斗盛裝的混凝劑進入進液管,保證混凝劑添加量能夠隨著濁環水的流量進行變化而變化,解決了現有技術中不能依據濁環水的實時處理量進行混凝劑的投放的問題。
2、該濁環水高效凈化處理裝置,通過設置的離心分離機構,傳動軸帶動鏤空接料筒轉動,進而實現混合有混凝劑的濁環水的離心功能,進而將濁環水混合液中的污泥進行濾除。
3、該濁環水高效凈化處理裝置,通過設置的撥動桿與助凝劑投放機構相配合,在離心后的濁環水下落的過程中,傳動軸帶動撥動桿轉動,在撥動桿轉動時,撥動桿隨著轉動逐漸靠近出料筒,在撥動桿未接觸出料筒時,出料筒在復位彈簧的拉力作用下與助凝劑進管管口對齊,此時遮擋板與第一限位桿抵接,蓋板封堵出料筒底部開口,隨著撥動桿的持續轉動,帶動出料筒沿著弧形滑軌滑動,此時出料筒的頂部開口與助凝劑進管逐漸錯開,遮擋板逐漸封堵助凝劑進管的開口,同時復位彈簧拉伸,直至蓋板與L型板分離,扭簧復位,蓋板不在封堵出料筒的底部開口,此時出料筒內儲存的助凝劑落入罐體內,并與由鏤空接料筒內流出的濁環水混合,一起落在滯留版上,實現助凝劑與濁環水的混合均勻性,同時能夠降低混合有助凝劑的濁環水落入罐體內腔的動能,避免影響助凝劑的沉淀效率,同時通過攪拌桿,進一步提高了助凝劑的混合效果,解決了現有技術中助凝劑的分散效果不良,不利于保證濁環水的處理效率的問題。
4、該濁環水高效凈化處理裝置,通過設置的回收組件,液泵帶動回收管將罐體內的濁環水混合液回收進入磁力分離機構,磁力分離機構將濁環水混合液中的含鐵氧化物,提高濁環水的處理效果。
5、該濁環水高效凈化處理裝置,通過設置的污泥回收機構,實現離心污泥的回收功能。
(發明人:張佳偉;張菡彧)






