公布日:2023.08.11
申請日:2023.07.12
分類號:C02F11/122(2019.01)I;C02F11/13(2019.01)I
摘要
本發明涉及固液分離技術領域,提供了一種水中雜質的固液分離設備,包括入料管、筒體、壓濾裝置以及加熱組件,入料管固定設置在筒體上,污泥能夠從入料管內進入筒體,壓濾裝置設置在筒體內部,壓濾裝置能夠去除污泥中的水分,壓濾裝置包括多個環形濾板,多個環形濾板之間形成的腔體能夠容納污泥,腔體的污泥的增多使得污泥被壓縮,環形濾板上開設有濾水層,濾水層能夠使得所述污泥中的水分流出,加熱組件設置在所述筒體內部,加熱組件能夠去除所述污泥中的油污,多層環形濾板的設置減少了筒形壓濾機的占用面積,使得筒形壓濾機的結構簡單,便于操作,且泥餅的分離效率高。

權利要求書
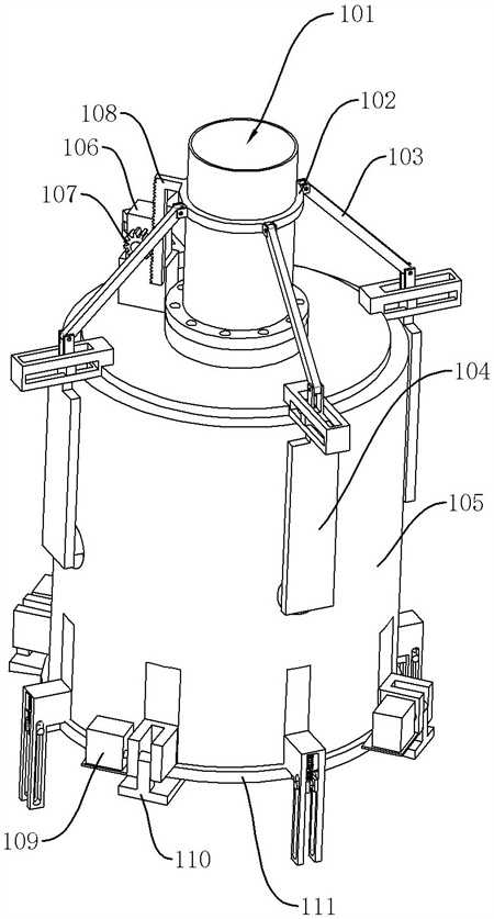
1.一種水中雜質的固液分離設備,其特征在于,包括:筒體,所述筒體上設置有入料管,所述筒體內用于容納污水;壓濾組件,所述壓濾組件位于所述筒體內,所述壓濾組件包括環形濾板,所述環形濾板有多個,多個環形濾板之間形成容納腔;加熱組件,所述加熱組件位于筒體內,所述加熱組件能夠將污水中的油污乳化,所述環形濾板至少包括兩個弧形濾板,弧形濾板滑動設置所述筒體內,所述弧形濾板在所述筒體內沿筒體徑向移動以靠近或遠離所述筒體的軸線;所述弧形濾板靠近所述筒體軸線移動時,所述弧形濾板的兩個側面緊密接觸以形成圓筒形兩個弧形濾板的兩側面緊密接觸以形成完整的圓筒形,所述弧形濾板遠離所述筒體軸線移動時,所述弧形濾板的兩個側面脫離,所述筒體的外周面上滑動設置有移動板,所述移動板與所述環形濾板連接,所述移動板能夠帶動所述環形濾板沿著所述筒體的徑向移動,還包括連接組件,所述連接組件能夠連接相鄰兩個環形濾板,使得相鄰兩個環形濾板能夠向同一方向移動,所述連接組件包括連接凸塊和連接凹塊,所述連接凸塊固定設置在相鄰兩個環形濾板中的其中一個環形濾板上,所述連接凹塊固定設置在相鄰兩個環形濾板中的另一個環形濾板上,所述連接凸起能夠帶動所述連接凹塊沿所述筒體的徑向移動。
2.根據權利要求1所述的水中雜質的固液分離設備,其特征在于,入料管上套設有移動環,所述移動環與所述移動板鉸接,所述移動環沿著所述入料管的軸線方向移動時能夠使得所述移動板沿著所述筒體的徑向方向移動。
3.根據權利要求1所述的水中雜質的固液分離設備,其特征在于,所述加熱組件包括熱源和加熱箱,所述加熱箱內存放有所述熱源,所述加熱箱的外部與污泥接觸,所述加熱箱能夠對所述污泥進行加熱。
4.根據權利要求1所述的水中雜質的固液分離設備,其特征在于,還包括排出裝置,所述排出裝置包括底板和彈性件,所述底板轉動設置在所述筒體上,所述底板具有使得污泥在所述筒體內的第一位置和使得污泥排出所述筒體的第二位置,所述彈性件一端與所述筒體連接,所述彈性件另一端與所述底板連接,所述彈性件使得所述底板處于第二位置或總是使得所述底板具有恢復第二位置的趨勢。
5.根據權利要求4所述的水中雜質的固液分離設備,其特征在于,所述排出裝置還包括夾緊組件,所述夾緊組件能夠使得所述底板處于所述第一位置,所述夾緊件包括擋板和驅動件,所述擋板轉動設置在所述筒體上,所述驅動件固定設置在所述筒體上,所述驅動件能夠驅動擋板轉動以夾緊所述底板或使得所述底板脫離所述擋板。
6.根據權利要求5所述的水中雜質的固液分離設備,其特征在于,所述底板上設置有排水槽,污泥中的水分能夠通過所述排水槽排出。
發明內容
基于此,有必要針對目前所存在的常見的板框式污泥脫水設備結構復雜,污泥脫水完畢后泥餅的脫離較為困難并且占地面積大,不易操作的問題,提供一種水中雜質的固液分離設備。
上述目的通過下述技術方案實現:
一種水中雜質的固液分離設備,包括:
筒體,所述筒體上設置有入料管,所述筒體內用于容納污水;
壓濾組件,所述壓濾組件位于所述筒體內,所述壓濾組件包括環形濾板,所述環形濾板有多個,多個環形濾板之間形成容納腔;
加熱組件,所述加熱組件位于筒體內,所述加熱組件能夠將污水中的油污乳化。
進一步的,所述環形濾板至少包括兩個弧形濾板,弧形濾板滑動設置所述筒體內,所述弧形濾板在所述筒體內沿筒體徑向移動以靠近或遠離所述筒體的軸線;
所述弧形板靠近所述筒體軸線移動時,所述弧形板的兩個側面緊密接觸以形成圓筒形兩個弧形濾板的兩側面緊密接觸以形成完整的圓筒形,所述弧形板遠離所述筒體軸線移動時,所述弧形板的兩個側面脫離。
進一步的,所述筒體的外周面上滑動設置有移動板,所述移動板與所述環形濾板連接,所述移動板能夠帶動所述環形濾板沿著所述筒體的徑向移動。
進一步的,還包括連接組件,所述連接組件能夠連接相鄰兩個環形濾板,使得相鄰兩個環形濾板能夠向同一方向移動。
進一步的,所述連接組件包括連接凸塊和連接凹塊,所述連接凸塊固定設置在相鄰兩個環形濾板中的其中一個環形濾板上,所述連接凹塊固定設置在相鄰兩個環形濾板中的另一個環形濾板上,所述連接凸塊能夠帶動所述連接凹塊沿所述筒體的徑向移動。
進一步的,入料管上套設有移動環,所述移動環與所述移動板鉸接,所述移動環沿著所述入料管的軸線方向移動時能夠使得所述移動板沿著所述筒體的徑向方向移動。
進一步的,所述加熱組件包括熱源和加熱箱,所述加熱箱內存放有所述熱源,所述加熱箱的外部與污泥接觸,所述加熱箱能夠對所述污泥進行加熱。
進一步的,還包括排出裝置,所述排出裝置包括底板和彈性件,所述底板轉動設置在所述筒體上,所述底板具有使得污泥在所述筒體內的第一位置和使得污泥排出所述筒體的第二位置,所述彈性件一端與所述筒體連接,所述彈性件另一端與所述底板連接,所述彈性件使得所述底板處于第二位置或總是使得所述底板具有恢復第二位置的趨勢。
進一步的,所述排出裝置還包括夾緊組件,所述夾緊組件能夠使得所述底板處于所述第一位置,所述夾緊件包括擋板和驅動件,所述擋板轉動設置在所述筒體上,所述驅動件固定設置在所述筒體上,所述驅動件能夠驅動擋板轉動以夾緊所述底板或使得所述底板脫離所述擋板。
進一步的,所述底板上設置有排水槽,污泥中的水分能夠通過所述排水槽排出。
本發明的有益效果是:
本發明提供了一種水中雜質的固液分離設備,包括入料管、筒體、壓濾裝置以及加熱組件,入料管固定設置在筒體上,污泥能夠從入料管內進入筒體,壓濾裝置設置在筒體內部,壓濾裝置能夠去除污泥中的水分,壓濾裝置包括多個環形濾板,多個環形濾板之間形成的腔體能夠容納污泥,腔體的污泥的增多使得污泥被壓縮,環形濾板上開設有濾水層,濾水層能夠使得所述污泥中的水分流出,加熱組件設置在所述筒體內部,加熱組件能夠去除所述污泥中的油污,多層環形濾板的設置減少了筒形壓濾機的占用面積。
加熱組件的設置能夠去除污泥中的油污的同時還能對泥餅進行烘干,進一步降低泥餅的含水量,使得泥餅凝結,不易松散便于泥餅的排出。
多個環形濾板能夠在筒體內滑動,使得泥餅脫離環形濾板,進而提高泥餅的分離效率。
(發明人:楊春)






